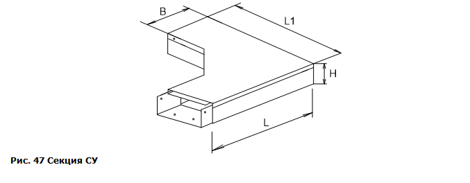
Секция угловая для горизонтального поворота трассы под углом 90 градусов. Применяется для достижения поворотов сетевых участков кабельных трасс, имеющих ответвление. таблица СУ 90° Секция угловая для поворота трассы под углом 90 отправить заявку
СЕКЦИЯ УГЛОВАЯ ДЛЯ ГОРИЗОНТ. ПОВОРОТА ПОД УГЛОМ 90° ТИПА СУ
28 августа 202228 авг 2022
132
~1 мин
