Найти в Дзене

Гармонь родом из Рязанской области.

Сегодня я хочу вам рассказать про гармонь родом из города Касимов. Находится этот город в 200 км от Рязани. Город очень красивый, стоит на берегу реки Оки. Касимовские гармоники стали появляться примерно в 80-х годах XIX века в Рязанской губернии. Производство их сконцентрировалось в деревне Поповка, близ города Касимова на Оке (поэтому эти инструменты иногда называли «касимовские поповки»). Они были распространены в Касимове, Муроме, Коломне, Рязани и в окрестностях этих городов. В наше время они сохранились только в музеях, а играть на них могли только единицы. Касимовская гармоника (вид спереди) Касимовская гармоника (вид сзади) Эта гармоника двухрядная (двадцать одна или девятнадцать кнопок), при смене движения меха звуки разные. На правой стороне голоса звучат в октаву, кроме трех последних кнопок (которые звучат в унисон, по нижней планке). На левой стороне (с одной стороны грифа-барабана) расположены басы, на другой — также отдельные звуки-гудки, но в более высокой октаве.

Сегодня я хочу вам рассказать про гармонь родом из города Касимов. Находится этот город в 200 км от Рязани. Город очень красивый, стоит на берегу реки Оки.

Касимовские гармоники стали появляться примерно в 80-х годах XIX века в Рязанской губернии. Производство их сконцентрировалось в деревне Поповка, близ города Касимова на Оке (поэтому эти инструменты иногда называли «касимовские поповки»). Они были распространены в Касимове, Муроме, Коломне, Рязани и в окрестностях этих городов. В наше время они сохранились только в музеях, а играть на них могли только единицы.

Касимовская гармоника (вид спереди)

Касимовская гармоника (вид сзади)

-2

Эта гармоника двухрядная (двадцать одна или девятнадцать кнопок), при смене движения меха звуки разные. На правой стороне голоса звучат в октаву, кроме трех последних кнопок (которые звучат в унисон, по нижней планке). На левой стороне (с одной стороны грифа-барабана) расположены басы, на другой — также отдельные звуки-гудки, но в более высокой октаве.

Схема расположения звуков на клавиатурах касимовской гармоники.

-3

На левой стороне басы звучат в октаву (шесть клавиш, расположенных на наружной стороне), а гудки — в один голос (пять и одна клавиша и воздушный клапан, расположенные на другой стороне). Планки медные, голоса из меди или латуни.

На левой стороне в верхней части располагались колокольчики (иногда двойные), которые звенели при нажиме на второй и пятый верхние клапаны гудков.

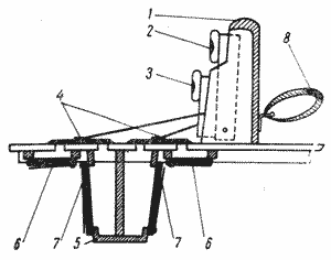
-4

Схема устройства (в разрезе) правой стооны корпуса касимовской гармоники: 1 — гриф, 2 — кнопки первого ряда, 3 — кнопки второго ряда, 4 — клавиатурные клапаны, 5 — резонатор, 6 — основные голосовые планки, 7 — планки с голосами, настроенными на октаву ниже, 8 — кожаная петля, скользящая по скобке

Исполнитель держит гармонику на коленях, продев большой палец правой руки в кожаную петлю (двигается по металлической скобке), и, обхватив гриф правой клавиатуры, играет на ней четырьмя пальцами. Продев левую руку под кистевой ремень, обхватывает гриф-барабан с клапанами; четырьмя пальцами играет на басах, большим нажимает гудки, заставляя иногда звенеть и колокольчики.

Эта гармоника в указанных выше городах и их окрестностях в конце XIX века и в особенности в начале XX века пользовалась признанием. На ней играли польки, вальсы, песни и даже с успехом аккомпанировали выступавшим хорам.

Источник: Мирек А. Справочник по гармоникам. - М., 1968