Найти в Дзене

Рельефные обозначения этажей

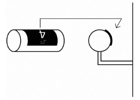
Сегодня поговорим о рельефных обозначениях этажей. Что это такое, для чего они нужны, и где и как их размещать? Рельефные обозначения этажей информируют инвалидов с нарушением зрения о том, на каком этаже они в данный момент находятся. Размещение данной информации регулируется СП 59.13330.2020 «Доступность зданий и сооружений для маломобильных групп населения» (далее по тексту – «СП»), а также ГОСТом Р 51671-2020 «Средства связи и информации технические общего пользования, доступные для инвалидов» (далее по тексту – «ГОСТ»). Где и как размещаются рельефные обозначения этажей? СП определяет место размещения рельефного обозначения этажа. Таким местом является боковая, внешняя по отношению к маршу, поверхность поручня общественного здания. Другими словами, это внешняя сторона поручня. А если быть ещё точнее, то это край поручня, начинающийся у первой (или заканчивающийся у последней) ступени лестницы перед лестничной площадкой соответствующего этажа. ГОСТ определяет параметры нумерации эт
Оглавление

Сегодня поговорим о рельефных обозначениях этажей. Что это такое, для чего они нужны, и где и как их размещать?

Рельефные обозначения этажей информируют инвалидов с нарушением зрения о том, на каком этаже они в данный момент находятся. Размещение данной информации регулируется СП 59.13330.2020 «Доступность зданий и сооружений для маломобильных групп населения» (далее по тексту – «СП»), а также ГОСТом Р 51671-2020 «Средства связи и информации технические общего пользования, доступные для инвалидов» (далее по тексту – «ГОСТ»).

Где и как размещаются рельефные обозначения этажей?

СП определяет место размещения рельефного обозначения этажа. Таким местом является боковая, внешняя по отношению к маршу, поверхность поручня общественного здания. Другими словами, это внешняя сторона поручня. А если быть ещё точнее, то это край поручня, начинающийся у первой (или заканчивающийся у последней) ступени лестницы перед лестничной площадкой соответствующего этажа.

ГОСТ определяет параметры нумерации этажей и как именно она размещается.

1️. Высота знака (нумерации этажа).

В п. 6.4.7 ГОСТа определена высота шрифта рельефной цифры – не менее 15 мм. Однако в таблице 2 п. 6.2.1.16 ГОСТа указано, что высота знаков, размещённых на перилах, поручнях, должна быть от 12 до 27 мм. Несмотря на явное противоречие, не будет являться нарушением высота знаков в пределах от 12 до 27 мм.

2️. Дублирование шрифтом Брайля.

Нумерация этажа обязательно должна дублироваться шрифтом Брайля.

3. Параметры таблички.

Табличка, на которой нанесена информация об этажности, выполняется на пластинах с усиленной подложкой, исключающей её непроизвольное отделение от поверхности крепления. На практике часто вместо табличек используют наклейки, изготовленные на основе ПВХ плёнки. Такие наклейки, обладают определённым запасом прочности и также исключают непроизвольное отделение от поверхности крепления. Иногда вместо табличек и наклеек нумерацию этажа и шрифт Брайля наносят непосредственно на сам поручень. Данный вариант рельефного обозначения этажей практичен и наиболее долговечен.

4️. Порядок размещения информации.

Для визуального восприятия рельефная цифра номера этажа размещается в нижней части таблички, а надпись рельефно-линейным шрифтом Брайля – в верхней части. Такой порядок размещения информации удобен для информирования зрячих людей. Однако не будет существенным нарушением изменение расположения информации: сверху цифра, а снизу шрифт Брайля.

Надпись на табличке всегда размещается вверх ногами, это необходимо для удобства тактильного чтения указательным пальцем руки.

Нужны ли рельефные обозначения этажей на поручнях пандуса?

В СП сказано, что рельефные обозначения этажей должны предусматриваться на боковой, внешней по отношению к маршу, поверхности поручней общественных зданий. При этом не сказано на поручнях лестницы или пандуса они должны предусматриваться. Можно сделать вывод, что обозначения этажей размещаются и на поручнях пандуса, если пандус ведёт с одного этажа на другой.

Нужно ли обозначать начало и окончание поручней?

Ранее в СП 59.13330.2016 (недействующий) помимо рельефных обозначений этажей на поручнях предусматривались и предупредительные полосы об окончании перил. Действующим СП предупредительные полосы исключены из требований, на поручнях размещаются только рельефные обозначения этажей. Таким образом, обозначать начало и окончание поручней не требуется. Однако рекомендуется в качестве предупреждения обозначать начало и окончание горизонтальных пристенных поручней, размещаемых по основным путям движения, например, в коридорах общественных зданий, а также поручней пандусов, устанавливаемых при перепадах высот, например, входных площадок.

Порядок размещения информации.
Порядок размещения информации.

Подводим итог.

✅ Рельефные обозначения этажей размещаются на внешних частях поручней.

✅ Высота знаков на поручнях должна находиться в пределах от 12 до 27 мм.

✅ Нумерация должна дублироваться шрифтом Брайля.

✅ Надпись на поручне всегда размещается вверх ногами.

🚫 Рельефные обозначения этажей на поручнях пандуса не требуются.

⚠️ Рекомендуется обозначать начало и окончание горизонтальных пристенных поручней и пандусов, устанавливаемых при перепадах высот.

#тактильная маркировка поручней

Телеграм-канал