Найти в Дзене
Разумный мир

Тянем-потянем, или рыцари госпитальеры и технологии кино

Сегодняшняя статья будет нетипичной для канала. Она не о программировании и не об электронике. Да и к рыцарству отношения, по большому счету, не имеет. Она о механике и киноаппаратуре. Немного подробнее поговорим об одном хитром механизме, который я упоминал в статье Но давайте, как всегда, обо всем по порядку. И начнем мы издалека. Наберитесь терпения, в статье нет лишней информации. Между вращательным и возвратно-поступательным Да, начнем с старой проблемы механики - превращения вращательно движения в возвратно-поступательное и наоборот. Эта проблема стояла еще в древнем мире и вполне успешно решалась. Например, вращение колеса, приводимого в движение водой или животными, нужно было преобразовать в движения молота или пилы. Задача решалась просто Уже позже, во времена промышленной революции, появилась необходимость преобразовывать возвратно-поступательное движение поршня паровой машины в вращательное движение шкивов и валов. Для этого использовался тот же подход, как на нижней части
Оглавление

Сегодняшняя статья будет нетипичной для канала. Она не о программировании и не об электронике. Да и к рыцарству отношения, по большому счету, не имеет. Она о механике и киноаппаратуре. Немного подробнее поговорим об одном хитром механизме, который я упоминал в статье

Но давайте, как всегда, обо всем по порядку. И начнем мы издалека. Наберитесь терпения, в статье нет лишней информации.

Между вращательным и возвратно-поступательным

Да, начнем с старой проблемы механики - превращения вращательно движения в возвратно-поступательное и наоборот. Эта проблема стояла еще в древнем мире и вполне успешно решалась.

Например, вращение колеса, приводимого в движение водой или животными, нужно было преобразовать в движения молота или пилы. Задача решалась просто

Преобразование вращательного движения в возвратно-поступательное. Иллюстрация моя
Преобразование вращательного движения в возвратно-поступательное. Иллюстрация моя

Уже позже, во времена промышленной революции, появилась необходимость преобразовывать возвратно-поступательное движение поршня паровой машины в вращательное движение шкивов и валов. Для этого использовался тот же подход, как на нижней части последней иллюстрации. Только "вход" и "выход" механизма поменялись местами.

И все было хорошо, все были довольны. И появившиеся двигатели внутреннего сгорания использовали, по сути, тот же самый способ преобразования движения поршня в вращение вала, что и применяемый в паровых машинах. Да, внешних изменений было много, но суть одна.

И все же, была еще одна проблема, которая этими простыми (относительно простыми) способами не решалась.

Швейные машины

Да, швейные машины имели свою специфику. И эта специфика позже была использована, уже позже, в кинематографе. В швейных машинах нас будет интересовать только одна, но очень важная часть - двигатель ткани.

Дело в том, что ткань в швейной машине должна двигаться только в одном направлении (про обратный ход сейчас не будем), причем не непрерывно, а только тогда, когда игла вышла из ткани. То есть, нам нужно преобразовать вращательное движение вала двигателя (в том числе, ручного привода) в поступательное движение ткани. Причем синхронизированное с движениями иглы, но это сегодня нас не интересует.

Я уверен, что все знают, как выглядит швейная машина. Но, возможно, не все знают, как она устроена и работает. Поэтому позволю себе немного рассказать о некоторых моментах. Двигатель ткани, видимая его часть, представлен зубчатой рейкой, к которой ткань прижимается лапкой

Двигатель ткани швейной машины. Иллюстрация моя
Двигатель ткани швейной машины. Иллюстрация моя

Мы уже знаем, как преобразовать вращательное движение в возвратно-поступательное. Но теперь нам этого недостаточно. Нам нужно как убрать "возвратно" и оставить только "поступательное". Как ни странно, но это можно сделать просто добавив еще одно одно возвратно поступательное движение.

Давайте используем комбинацию двух возвратно-поступательных движений. Первое вперед-назад, второе вверх-вниз. Тогда работа нашего двигателя ткани будет такая

Работа двигателя ткани. Иллюстрация моя
Работа двигателя ткани. Иллюстрация моя

Есть четыре основных этапа работы двигателя ткани (упрощенно):

  1. Рабочий ход. Рейка поднята и двигаясь вперед перемещает ткань, которая прижата лапкой. Игла при этом выведена из ткани.
  2. Движение рейки вперед прекратилось, рейка опускается вниз. Ткань уже не движется, поэтому игла может проходить через ткань.
  3. Возврат рейки назад. Рейка все еще опущена, поэтому ткань не двигается. Игла находится в нижнем положении, формируется нижнее переплетение нитей.
  4. Рейка закончила движение назад и поднимается вверх. При этом поднимается и игла, выходя из ткани. Механизм вернулся в исходное состояние. Далее цикл повторяется.

Возможны различные варианты реализации такой комбинации двух движений. Но достаточно распространенным вариантом является использование двух валов, которые совершают качательные движения

Практическая реализация двигателя ткани с помощью двух валов. Иллюстрация из инструкции к швейной машине
Практическая реализация двигателя ткани с помощью двух валов. Иллюстрация из инструкции к швейной машине

Как видите, кинематика не самая простая. И к этому вопросу мы скоро вернемся, но уже не в швейных машинах. Да, здесь некоторое усложнение дает регулировка шага протяжки ткани и реверс. Но и без этого все не слишком просто.

Рейка двигателя ткани здесь имеет номер 14. Вал 15 обеспечивает ее движение вперед-назад. Вал 10 движение вверх-вниз. Остальная часть механизма нам не важна.

Для чего нам потребовалось уделять столько внимания движению ткани в швейной машине, когда статья о технологиях кино? Просто движение пленки в киноаппаратах имеет много общего с движением ткани. И подходы тоже похожи.

Поэтому переходим к нашей теме

Киноаппараты с грейферным механизмом

Да, все еще нигде не видно госпитальеров, но до киноаппаратуры мы наконец добрались.

Итак, движение пленки в фильмовом канале киноаппаратов имеет очень много общего с движением ткани в швейной машине. Оно точно такое же прерывистое и однонаправленное. Только иглы нет. Зато есть обтюратор.

Обтюратор это диск с вырезанным окном (окнами) который прерывает световой пучок во время движения пленки. Он может располагаться или между пленкой и объективом, в кинопроекторах и кинокамерах, или между лампой и пленкой, в кинопроекторах. Если не прерывать световой пучок при движении пленки, то на экране (при кинопроекции) или пленке (при киносъемке) будет смазанное изображение.

То есть, мы можем считать прохождение светового пучка аналогичным прохождению иглы через ткань. Но у киноаппарата есть одна небольшая, но важная, тонкость. Время движения пленки, смены кадра, должно быть как можно меньшим. Иначе заметно упадет видимая яркость экрана (при кинопроекции) или сократится время экспозиции ( при съемке).

Для швейной машины нас не волновало соотношение времен фаз прямого и обратного хода. А для киноаппарата время смены кадра должно быть как можно меньше, а время останова (проекция/экспозиция) как можно больше.

Для тех, кому интересно. Диафрагма в кинокамере играет ту же роль, что и к фотоаппарате. А вот время экспозиции регулируется углом раскрытия лепестков обтюратора. Мы не будем это рассматривать.

Раз между движением ткани и движением пленки есть много общего, мы можем использовать тот же самый принцип построения двигателя.

Пример реализации грейферного механизма. Иллюстрация моя
Пример реализации грейферного механизма. Иллюстрация моя

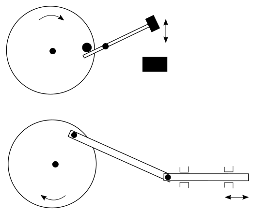
Это один из вариантов построения механизма движения пленки, причем один из самых простых. Зубчатая рейка заменена на зубец, который входит в отверстия перфорации пленки и обеспечивает ее перемещение. Может быть не один зубец, а два-три, но суть это не влияет.

Поскольку теперь не нужно регулировать шаг протяжки и обеспечивать реверс, механизм можно упростить исключив второй вал. Теперь движение вверх-вниз (в перфорацию / из перфорации) обеспечивает штифт на рычаге грейфера и фигурный паз.

Именно такой механизм протяжки пленки был использован братьями Люмьер. И за основу они взяли именно механизм протяжки ткани в швейных машинах. Поэтому мы и рассматривали двигатель ткани в швейных машинах. Я же говорил, что в статье нет ничего лишнего, все взаимосвязано.

На иллюстрации я показал простой вариант построения грейферного механизма. Но существуют и гораздо более сложные схемы, с двумя валами, с параллелограммным механизмом, и т.д.

Кроме грейфера в киноаппаратах (не во всех) используется контргрейфер. Его зуб входит в перфорацию когда зуб грейфера выходит. Контргрейфер не двигает пленку, он обеспечивает ее неподвижность во время проекции/экспозиции кадра, во время обратного хода грейфера. Наличие контргрейфера усложняет конструкцию механизма движения пленки, но повышает качество проекции или съемки.

Давайте вспомним, что смена кадра должна быть быстрой. Показанный выше механизм ее не обеспечивает. И это уже проблема, но не самая большая. Она увеличивает пульсации светового потока, что может быть допустимым для любительской киноаппаратуры, но неприемлемым для профессиональной.

Другая проблема, уже более серьезная, заключается в большой нагрузке на пленку в точке контакта зубца (зубцов) грейфера и окна перфорации пленки. Чем больше зубцов у грейфера, тем меньше нагрузка, но размер окна кадра и фильмового канала ограничен. Чем шире пленка, тем больше ее масса в фильмовом канале, больше инерция. И в момент начала движения, момент максимального ускорения, давление зубца грейфера может вызвать повреждение пленки.

Думаю, такое повреждение перфорации пленки знакомо многим владельцам бытовых кинопроекторов былых времен. Да и некоторым владельцам кинокамер.

На любительской 8-мм пленке перфорация размещалась с одной стороны, а грейфер имел только один зуб. Любительская и профессиональная 16-мм пленка имела перфорацию с двух сторон. И грейфер мог представлять из себя не один рычаг, а рамку, протягивая пленку сразу за обе стороны перфорации. Но даже для 16-мм пленки грейфер мог быть односторонним.

Поэтому грейферный механизм привода кинопленки, хоть и был первым, был вытеснен более совершенным методом, мы скоро его рассмотрим. А грейфер остался в любительской киноаппаратуре, где и пульсации светового потока не столь критичны, и частота смены кадров пониже, и пленка поуже.

Киноаппараты с скачковым барабаном

Более совершенным способом перемещения пленки в фильмовом канале стал скачковый барабан. По сути, это зубчатый ролик, который вращается прерывисто. При этом он обеспечивает и движение пленки при смене кадра и фиксацию пленки во время проекции/экспозиции. Скачковый барабан размещается вне фильмового канала.

Охват пленкой скачкового барабана. Иллюстрация моя
Охват пленкой скачкового барабана. Иллюстрация моя

Скачковый барабан это ведущий ролик с двумя рядами зубцов по краям. Шаг между зубьями равен шагу перфорации пленки. То есть, барабан тянет пленку за обе перфорации. Кроме того, пленка охватывает барабан, как показано на иллюстрации, поэтому количество зубьев одномоментно двигающих пленку значительно больше. А значит, и нагрузка на окна перфорации значительно меньше.

Снижается износ пленки, а сам механизм протяжки гораздо менее чувствителен к небольшим повреждения перфорации. И это очень важно для профессиональной киноаппаратуры. Особенно, для кинопроекции. Одного этого достаточно, что бы использовать скачковый банк для протяжки пленки.

Но скачковый барабан дает еще и возможность сократить время смены кадра. А это позволяет увеличить время проекции/экспозиции при неизменной частоте смены кадров. Очень полезное свойство для кинопроекции на большом экране. При этом увеличивается мгновенная скорость движения пленки во время смены кадра, но большое число протягивающих пленку зубцов барабана позволяют сделать это безболезненным.

И вот в механизме привода скачкового барабана, весьма элегантном механизме, мы и наталкиваемся на то, что ранее было связано с рыцарями госпитальерами, так же известными как рыцари Мальтийского ордена. Речь идет о символе ордена - мальтийском кресте

Два варианта начертания мальтийского 8-конечного креста
Два варианта начертания мальтийского 8-конечного креста

Дело в том, что один из элементов механизма привода скачкового барабана получился очень похожим на этот крест. Я уже приводил эту иллюстрацию в статье, ссылку на которую давал в самом начале.

Мальтийский механизм. Иллюстрация из интернета
Мальтийский механизм. Иллюстрация из интернета

Деталь 4 это и есть тот самый мальтийский крест. Ведь и правда похож? Непрерывное вращение ведущего диска (кривошипа) 1 преобразуется в прерывистое вращение мальтийского креста 4. Время вращения мальтийского креста составляет небольшую часть от времени оборота кривошипа.

Следующую иллюстрацию я тоже уже приводил, но повторю, так как она демонстрирует механизм с мальтийским крестом, совсем не похожим на оригинал. Но название сохранилось, так как сходство в начертании все е есть.

Мальтийский механизм с соотношением фаз 1/12. Иллюстрация из интернета
Мальтийский механизм с соотношением фаз 1/12. Иллюстрация из интернета

Давайте посмотрим, как работает мальтийский механизм

Работа мальтийского механизма, иллюстрация моя
Работа мальтийского механизма, иллюстрация моя

На первом рисунке штифт кривошипа начинает входить в прорезь мальтийского креста. Это момент начала движения, поворота, креста. Обратите внимание, что на ведущем диске кривошипа есть проточка, которая позволяет кресту начать поворачиваться.

На втором рисунке показано движение, поворот, креста. Видно, как один конец креста проходит по проточке кривошипа. Это важный момент.

На третьем рисунке штифт кривошипа выходит из прорези мальтийского креста. Это окончание поворота, движения креста. Обратите внимание, что крест больше не может поворачиваться, так как его конец упирается в ведущий диск в месте, где нет проточки.

На четвертом рисунке штифт кривошипа движется без зацепления с мальтийским крестом. При этом и сам мальтийский крест не может повернуться, его положение зафиксировано. Это соответствует проекции/экспозиции. И это время больше половины периода цикла, в отличии от грейфера.

Разумеется, движение мальтийского креста синхронизировано с движением лепестков обтюратора.

Скачковый барабан имеет преимущества перед грейфером, но у него есть и недостатки. Механизм привода, мальтийский механизм, занимает больше места и требует большей точности изготовления. Поэтому в любительских компактных камерах и проекторах чаще применялся более дешевый и меньший по размеру грейфер.

Заключение

Коротенькая статья о механизмах протяжки пленки в киноаппаратуре закончена. Она не только краткая, но и совсем простая. Можно сказать, что это из серии "Как это устроено".

Конечно, рыцари госпитальеры, рыцари Мальтийского ордена, к киноаппаратуре отношения не имеют. Но их символ, мальтийский крест, оказался похож на небольшую, но важную, деталь механизма профессиональной киноаппаратуры. Вряд ли они могли даже предположить об этом. Рыцарство кануло в лету. Но память о госпитальерах сохранилась, в том числе, благодаря такой вот неожиданной связи времен. Ассоциативной связи.

Приглашаю читателей посетить дружественный канал

Робототехника | Яндекс Дзен

До новых встреч!