Добавить в корзинуПозвонить
Найти в Дзене

Tesla получила патент на свою безумную идею использовать лазеры в качестве дворников

Tesla действительно удалось получить патент на свою безумную идею использования лазеров для очистки транспортных средств от мусора. В основном мы говорим об использовании лазерных лучей в качестве дворников. Около двух лет назад сообщалось о том, что Tesla работает над технологией использования лазерных лучей для автоматической очистки автомобилей от мусора. Обнаружили эту идею через патентную заявку, поданную компанией. Tesla указала в заявке на патент«Система очистки для транспортного средства включает в себя узел лучевой оптики, который излучает лазерный луч для облучения области на стеклянном изделии транспортного средства, схему обнаружения мусора, которая обнаруживает скопление мусора в этой области, и схему управления. Схема управления калибрует набор параметров, связанных с лазерным лучом, излучаемым из узла оптики луча, на основе обнаружения осколков, накопившихся в области на стеклянном изделии, регулирует уровень воздействия лазерного луча на накопившиеся осколки на основе к

Tesla действительно удалось получить патент на свою безумную идею использования лазеров для очистки транспортных средств от мусора. В основном мы говорим об использовании лазерных лучей в качестве дворников. Около двух лет назад сообщалось о том, что Tesla работает над технологией использования лазерных лучей для автоматической очистки автомобилей от мусора. Обнаружили эту идею через патентную заявку, поданную компанией.

Tesla указала в заявке на патент«Система очистки для транспортного средства включает в себя узел лучевой оптики, который излучает лазерный луч для облучения области на стеклянном изделии транспортного средства, схему обнаружения мусора, которая обнаруживает скопление мусора в этой области, и схему управления. Схема управления калибрует набор параметров, связанных с лазерным лучом, излучаемым из узла оптики луча, на основе обнаружения осколков, накопившихся в области на стеклянном изделии, регулирует уровень воздействия лазерного луча на накопившиеся осколки на основе калибровки набора параметров, связанных с лазерным лучом, при этом уровень воздействия регулируется на основе пульсации лазерного луча с откалиброванной скоростью, которая ограничивает проникновение лазерного луча на глубину, которая меньше толщины стеклянного изделия, и удаляет мусор, скопившийся в области на стеклянном изделии с помощью лазерного луча,»

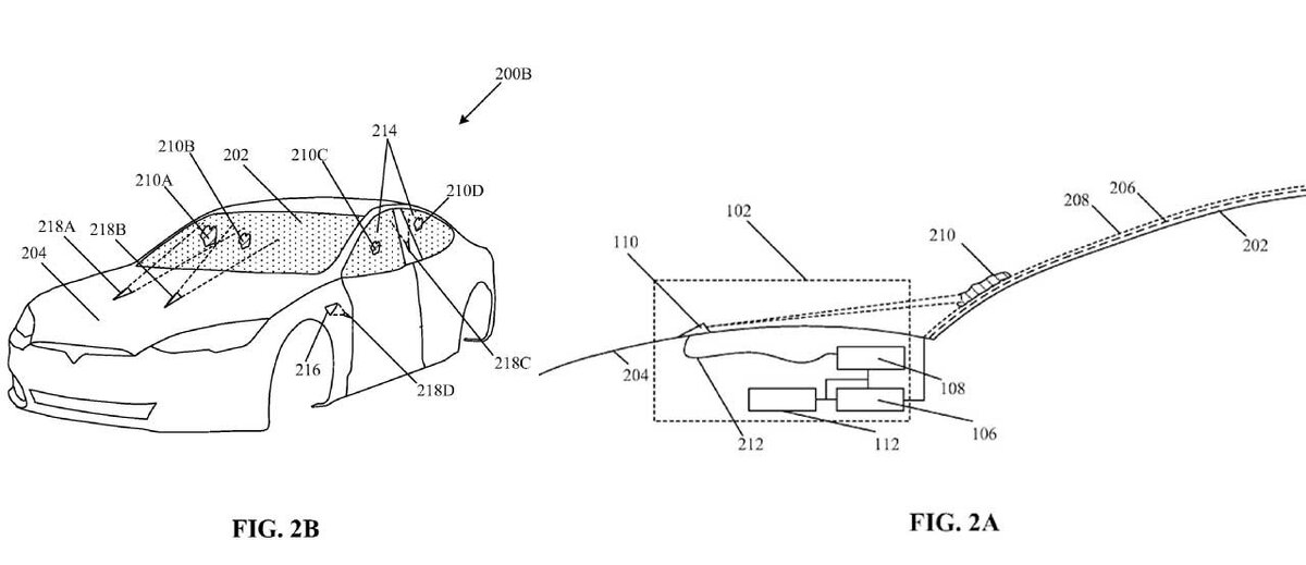
Автопроизводитель буквально говорит об использовании лазерных лучей в основном в качестве дворников, и это именно то, что Tesla показывает на своих патентных чертежах:

-2

Бюро по патентам и товарным знакам США фактически предоставило Tesla патент на эти лазерные дворники на этой неделе.

Патент озаглавлен: «Импульсная лазерная очистка от мусора, скопившегося на стеклянных изделиях транспортных средств и фотоэлектрических агрегатов».

У прототипа Cybertruck не было стеклоочистителя, и когда Tesla подала заявку на этот патент, некоторые предположили, что на Cybertruck может быть использована эта дикая концепция.

Ранее сообщалось, что Tesla разрабатывает новые электромагнитные дворники, которые выглядят футуристично, но намного более реалистичны, чем лазерные лучи.

Как следует из названия патента, Tesla также думает об использовании импульсного лазера для очистки солнечных панелей и черепицы от мусора.