Добавить в корзинуПозвонить
Найти в Дзене
виктор К.

Устройство для обучения оздоровительному дыханию

Моя идея для бизнеса включает разработку, изготовление и реализацию на рынках устройств для обучения оздоровительному дыханию. Это устройство может быть использована в качестве тренажера для обучения оздоровительному дыханию в процессе тренировок спортсменов и населения в оздоровительных целях. Данный тренажёр снижает трудоемкость при освоении оздоровительного типа дыхания, повышает эффективность обратной положительной связи, устраняет раздражающие факторы. Известен способ эндогенного дыхания, с помощью которого тренирующийся человек повышает свои резервные физико-психологические данные. (Фролов В.Ф. Эндогенное дыхание - эффективная технология обеспечения здоровья, молодости, долголетия. СП «Наука», Новосибирск, 1998). В процессе разработки данного тренажёра принят во внимание «Дыхательный тренажер В.Ф. Фролова» (RU 2129885 С1, 6 A61M 1/16, 10.05.1999), используемый для обучения эндогенному дыханию, содержащий наружную камеру с отверстием для прохода дыхательной трубки. Дно наружной

Моя идея для бизнеса включает разработку, изготовление и реализацию на рынках устройств для обучения оздоровительному дыханию. Это устройство может быть использована в качестве тренажера для обучения оздоровительному дыханию в процессе тренировок спортсменов и населения в оздоровительных целях. Данный тренажёр снижает трудоемкость при освоении оздоровительного типа дыхания, повышает эффективность обратной положительной связи, устраняет раздражающие факторы.

Известен способ эндогенного дыхания, с помощью которого тренирующийся человек повышает свои резервные физико-психологические данные. (Фролов В.Ф. Эндогенное дыхание - эффективная технология обеспечения здоровья, молодости, долголетия. СП «Наука», Новосибирск, 1998).

В процессе разработки данного тренажёра принят во внимание «Дыхательный тренажер В.Ф. Фролова» (RU 2129885 С1, 6 A61M 1/16, 10.05.1999), используемый для обучения эндогенному дыханию, содержащий наружную камеру с отверстием для прохода дыхательной трубки. Дно наружной камеры имеет радиальные открытые каналы. В предпочтительном варианте изобретения каналы выполнены наклонными с уменьшающейся от периферии камеры к ее центру площадью поперечного сечения. За счет такого их выполнения сформированы сужающиеся отверстия для прохода воздуха внутрь трубки. Отверстия сужаются при переходе жидкости и воздуха из кольцевого зазора в полость трубки. В этом случае сопротивление жидкости при вдохе меньше, чем при выдохе. В наружной камере коаксиально установлена трубка, торец которой образует с плоскостью дна камеры и каналами отверстия. К верхней суженной части трубки присоединена дыхательная трубка. Сужение осуществляется за счет поворота на угол 90-100 градусов. Нижняя часть трубки, в предпочтительном варианте, утолщена с внешней стороны с целью увеличения длины отверстий для подбора оптимального сопротивления при дыхании. На внешней поверхности трубки выполнены, кроме того, ребра для обеспечения ее соосности с камерой. В верхней части трубка плотно фиксирована в отверстии.

Дыхательная трубка может быть размещена в отверстии крышки наружной камеры с зазором для прохода воздуха и без зазора. В первом случае конфигурация отверстия крышки за счет выступов должна обеспечить соосность трубки и камеры. Во втором случае отверстие для прохода воздуха может быть выполнено в крышке или в стенке камеры.

При этом должно быть обеспечено сопротивление при выдохе 25-35 мм вод. ст., а при вдохе сопротивление не должно превышать 100 мм вод. ст. Обеспечение необходимых параметров достигается за счет размеров и количества каналов, соотношения диаметров наружной камеры и трубки и объемом жидкости, заливаемой в тренажер.

Согласно инструкции В.Ф. Фролова к использованию дыхательного тренажера место тренировки эндогенного дыхания - за столом. Локти рук помещены на твердую опору. Прибор стоит вертикально. Тренерующийся сосредотачивается на обеспечении ровного и тихого пробулькивания воздуха. Одним из главных элементов дыхания является выдох, который осуществляют через рот, а вдох через нос. (http://www.absoluteclub.ru/content/view/839/42).

Основными недостатками данного дыхательного тренажера является необходимость заправлять его определенным объемом воды для обеспечения необходимого давления выдыхаемого воздуха, располагать дно устройства при использовании строго горизонтально, при этом уровень давления выдыхаемого воздуха определяется по звуку, создаваемому водой при прохождении через нее воздуха (пробулькивание). Булькающий звук, как показали многочисленные испытания устройства, действует на некоторых тренирующихся и окружающих людей раздражающе, что ограничивает применение устройства. Кроме того, существует достаточно много людей с ослабленным слухом, в связи с чем они не смогут определять давление выдыхаемого воздуха по пробулькиванию.

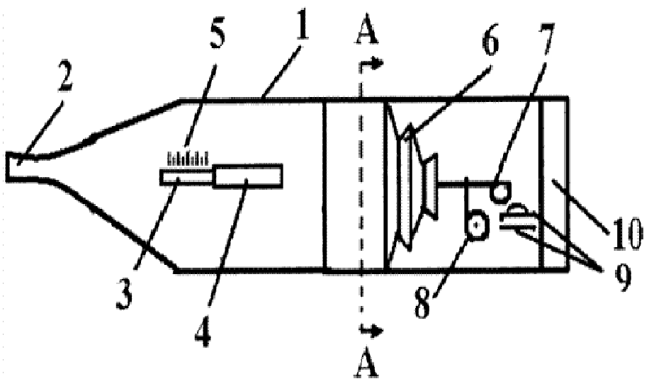
Предлагаемое устройство поясняется рисунком, вид сбоку с разрезом по А-А.

Устройство содержит корпус 1 с загубником 2, на котором сделано регулируемое отверстие 3 перекрываемое задвижкой 4 и шкалой 5 выдыхаемого воздуха. В корпусе 1 установлен датчик давления 6, выполненный, например, в виде гофрированной емкости, с возможностью удлиняться под действием давления воздуха, на котором закреплен кулачок 7, подпружиненный пружиной 8, нормально разомкнутые контакты 9 пуска, с возможностью замыкаться при надавливании на них кулачком 7 и включать через блок соединения 10 функцию воспроизведения видеопроигрывателя.

Пример подготовки и использования устройства.

На предприятии изготовителя после изготовления приставки ее настраивают следующим образом. Вначале перекрывают задвижкой 4 отверстие 3 на половину (на начало шкалы 5) и подают через компрессор сжатый воздух давлением 25 мм. вод.ст. на загубник 2. При этом датчик давления удлиняется и перемещает кулачок 7, который надавит на нормально разомкнутые контакты пуска 9 замыкая их. Затем устанавливают давление 40 мм. вод.ст. При таком давлении кулачок 7 должен переместиться за нормально разомкнутые контакты пуска 9, что приведет их к размыканию.

Записывают на носитель видеоинформации, например, на DVD диск, перемещение парусного корабля в даль по водной глади и помещают носитель видеоинформации видеопроигрыватель. Затем приставку подсоединяют параллельно клавиши «пуск» видеопроигрывателя используя блок соединения 10 (с помощью проводов либо дистанционной любой известной связи). После чего включают видеопроигрыватель и останавливают его при появлении изображения с сохранением изображения. Тренирующий дыхание берет в рот загубник 2 и выдыхает в корпус 1. При этом воздух будет выходить через регулируемое отверстие, одновременно оказывая давление на датчик давления 6, что приведет к перемещению кулачка 7, преодолевая сопротивление пружины 8, в сторону нормально разомкнутых контактов пуска 9. В случае, когда давление выдыхаемого воздуха будет в пределах 25-35 мм водяного столба кулачок 7 надавит на нормально разомкнутые контакты 9 пуска, что приведет к соединению нормально разомкнутых контактов видеопроигрывателя клавиши «пуск» и включению движущего изображения.

-2