Добавить в корзинуПозвонить
Найти в Дзене
виктор К.

Унитаз с раздельной эвакуацией жидких и плотных фракций

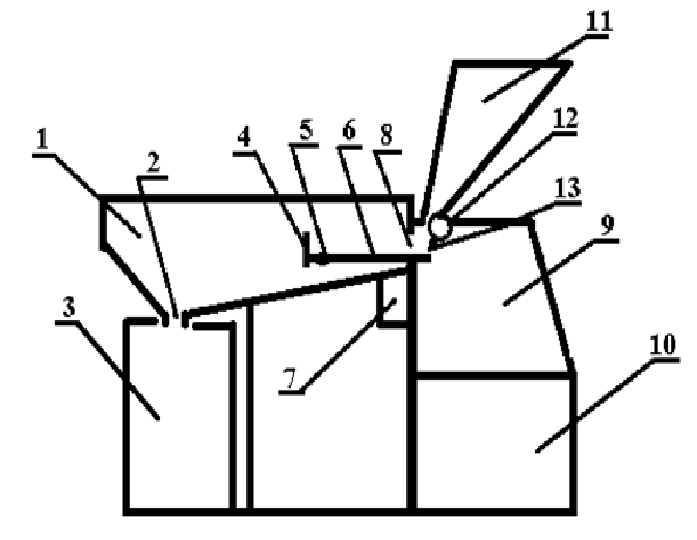
Моя идея для бизнеса заключается в разработке, изготовлении и реализации на рынках описанную ниже конструкцию унитаза. Он может быть использован в домах без центрального водоснабжения, а также в транспортных средствах. Устройство унитаза простое по конструкции, не требует для изготовления дорогостоящих материалов, легко может быть воспроизведено и размножено промышленным способом, не требует сложных технологических производств. Устройство показано на рисунке схематично (в разрезе). Устройство содержит раковину 1 со сливным отверстием 2 для ёмкости 3 под жидкие фракции, выдвижной приёмник 4 для плотных фракций с днищем 5, закреплённым на шарнире 6, перемещающийся с помощью любого известного механизма 7, например, рычажного, в отверстии 8 камеры 9, соединённой с контейнером 10 для плотных фракций, контейнер 11 для дозированного посыпания сорбирующим порошком с дозатором 12, регулируемого ползуном 13, контактирующим с днищем 5 выдвижного приёмника 4 под плотные фракции. Пример использован

Моя идея для бизнеса заключается в разработке, изготовлении и реализации на рынках описанную ниже конструкцию унитаза. Он может быть использован в домах без центрального водоснабжения, а также в транспортных средствах.

Устройство унитаза простое по конструкции, не требует для изготовления дорогостоящих материалов, легко может быть воспроизведено и размножено промышленным способом, не требует сложных технологических производств.

Устройство показано на рисунке схематично (в разрезе). Устройство содержит раковину 1 со сливным отверстием 2 для ёмкости 3 под жидкие фракции, выдвижной приёмник 4 для плотных фракций с днищем 5, закреплённым на шарнире 6, перемещающийся с помощью любого известного механизма 7, например, рычажного, в отверстии 8 камеры 9, соединённой с контейнером 10 для плотных фракций, контейнер 11 для дозированного посыпания сорбирующим порошком с дозатором 12, регулируемого ползуном 13, контактирующим с днищем 5 выдвижного приёмника 4 под плотные фракции.

Пример использования устройства.

Перед использованием устройства на нём закрепляют любым известным способом ёмкость 3 для жидких фракций и контейнер 10 для плотных фракций. В первоначальном положении выдвижной приёмник 4 для плотных фракций находится полностью в камере 9, его край плотно прижат к отверстию 8, а днище 5 под действием силы тяжести висит на шарнире 6, в вертикальном положении.

При необходимости освободиться от жидких и плотных фракций человек приводит в действие механизм 7, например, с помощью рычага, в результате чего выдвижной приёмник 4 для плотных фракций перемещается в раковину 1. Одновременно с этим поверхность днища 5 равномерно покрывается слоем сорбирующего порошка из контейнера 11 за счёт взаимодействия ползуна 13 дозатора 12 с днищем 5. Когда выдвижной приёмник 4 под плотные фракции полностью выдвинут, человек садится на унитаз. Во время освобождения человека от жидких и плотных фракций, жидкие фракции стекают в раковину 1 и через отверстие 2 попадают в ёмкость 3 под жидкие фракции, плотные фракции попадают в приёмник 4 для плотных фракций. При воздействии на механизм 7 приёмник 4 перемещается в отверстии 8. Одновременно с этим поверхность плотных фракций, находящихся на днище 5 равномерно покрывается слоем сорбирующего порошка из контейнера 11 за счёт взаимодействия ползуна 13 дозатора 12 с днищем 5. Когда приёмник 4 полностью входит в камеру 9, его край плотно прижимается к отверстию 8, а днище 5 под действием силы тяжести проворачивается в шарнире 6 и провисает в вертикальном положении. При этом плотные фракции соскальзывают на сорбирующем порошке в контейнер 10 для плотных фракций. После заполнения ёмкости 3 и контейнера 10, которые желательно изготовить из прозрачной пластмассы для наблюдения за их наполнением, их извлекают, удаляют содержимое и вновь закрепляют на унитазе.

-2