Добавить в корзинуПозвонить
Найти в Дзене
Михаил Волынец

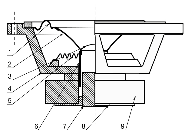
Строение динамика

Всем добра. Сегодня постараемся разобраться в строении динамика и принципе его работы. Начнём с главного по пунктам.
В разных моделях динамиков могут быть использованы разные уникальные элементы конструкции. Классическое же устройство динамика выглядит именно так.
Пункт 1 - подвес (или краевой гофр). Это резиновая, бумажная и иногда пластиковая окантовка, опоясывающая электродинамический механизм по всей площади. Иногда в качестве основного материала применяют натуральные ткани со специальным, ослабляющим колебания покрытием. К «подвесу» предъявляют ряд требований, соблюдение которых говорит о его высоком качестве. Первое требование – высокая гибкость. Резонансная частота гофра должно быть низкой. Второе требование – гофр должен быть хорошо закреплен и обеспечивать только один тип колебаний – параллельный. Третье требование – надежность. «подвес» должен адекватно реагировать на перепады температуры и «нормальный» износ, сохраняя свою форму длительное время. Для достижения наилучшего

Всем добра. Сегодня постараемся разобраться в строении динамика и принципе его работы. Начнём с главного по пунктам.

Строение динамика схематически. Извините забыл нарисовать подводящие.
Строение динамика схематически. Извините забыл нарисовать подводящие.

В разных моделях динамиков могут быть использованы разные уникальные элементы конструкции. Классическое же устройство динамика выглядит именно так.


Пункт 1 -
подвес (или краевой гофр). Это резиновая, бумажная и иногда пластиковая окантовка, опоясывающая электродинамический механизм по всей площади. Иногда в качестве основного материала применяют натуральные ткани со специальным, ослабляющим колебания покрытием. К «подвесу» предъявляют ряд требований, соблюдение которых говорит о его высоком качестве. Первое требование – высокая гибкость. Резонансная частота гофра должно быть низкой. Второе требование – гофр должен быть хорошо закреплен и обеспечивать только один тип колебаний – параллельный. Третье требование – надежность. «подвес» должен адекватно реагировать на перепады температуры и «нормальный» износ, сохраняя свою форму длительное время. Для достижения наилучшего баланса звучания в низкочастотных динамиках используют резиновые гофры, а в высокочастотных - бумажные.

Пункт 2 - диффузор (или мембрана). Диффузор динамика представляет собой некий поршень, который двигается по прямой вверх-вниз и поддерживает амплитудно-частотную характеристику (далее АЧХ) в линейном виде. При повышении частоты колебаний диффузор начинает изгибаться. Из-за этого появляются так называемые стоячие волны, которые, в свою очередь, приводят к провалам и подъемам на графике АЧХ. Для минимизации этого эффекта конструкторы используют более жесткие диффузоры, изготовленные из материалов меньшей плотности. (подробнее про типы диффузора можно прочитать в моей статье по этой ссылке "ссылка"). Если размер динамика составляет 12 дюймов, то диапазон частот в нем будет варьироваться в пределах 1 килогерца для низких частот, 3 килогерц для средних и 16 килогерц для высоких.

Пункт 3 - колпачок или "фвт" (фазовыравнивающее тело). Колпачок представляет собой оболочку из синтетики или ткани, основная функция которой – защита динамиков от пыли. Помимо этого, колпачок играет немаловажную роль в формировании определенного звучания. В частности, при воспроизведении средних частот. С целью наиболее жесткого закрепления колпачки делают округлой формы, придавая им небольшой изгиб. Как вы наверняка уже поняли, разнообразие материалов как раз-таки связано с тем, чтобы достичь определенного звучания. В ход идет ткань с различным пропитками, пленки, композиции целлюлозы и даже металлические сетки. Последние, в свою очередь, выполняют еще и функцию радиатора. Алюминиевая или металлическая сетка отводит излишки тепла от катушки. Пуля, или как ее называют на научном языке - фазовыравнивающее тело, экранирует противоположные участки диффузора друг от друга, а заостренная часть позволяет плавно свести эти излучения на оси и просуммировать перед динамиком.

Пункт 4 - корзина динамика. Корзина для динамика является одним из важнейших элементов его конструкции, от которого напрямую зависит качество звука. Корзина выполняет роль шасси, на котором крепятся все остальные части динамика – диффузор и магнитная система

Пункт 5 - центрирующая шайба. Иногда её также называют «пауком». Это увесистая деталь, расположенная между диффузором динамика и его корпусом. В задачи шайбы входит поддержание стабильного резонанса для низкочастотных динамиков. Это особенно важно, если в помещении и уж тем более в автомобиле наблюдаются резкие перепады температуры. Шайба фиксирует положение катушки и всей подвижной системы, а также закрывает магнитный зазор, предотвращая попадание пыли в него. Классические шайбы представляют собой круглый гофрированный диск. Некоторые производители намеренно меняют форму шайбы так, что повысить линейность частот и стабилизировать форму шайбы. Такая конструкция сильно влияет на цену динамика. Шайбы изготавливают из нейлона, бязи или меди. Последний вариант, как и в случае с колпачком, выполняет функцию мини-радиатора.

Пункт 6 - звуковая катушка

Пункт 7 - магнитная система и керн

Так как пункт 6 и 7 неразрывно работают вместе то и рассказать стоит о них так же. Эти элементы, которые, собственно, и отвечают за воспроизведение звука. Магнитная система располагается в небольшом зазоре магнитной цепи и вместе с катушкой преобразует электрическую энергию. Сама магнитная система – это система из магнита в виде кольца и керна. Между ними в момент воспроизведения звука перемещается звуковая катушка. Важная задача конструкторов – создание равномерного магнитного поля в магнитной системе. Для этого производители динамиков досконально выверяют полюса и оснащают керн медным наконечником.

Пункт 8 - нижний фланец. Зажимает всю конструкцию.

Пункт 9 -
резиновая накладка на магнит. Используется для защиты магнита (зачастую используются в сабвуфером динамике)

Пунт 10 -
подводящие и клемники. Ток в звуковую катушку поступает через гибкие выводы динамика – обычную проволоку, намотанную поверх синтетической нитки.

На этом все, спасибо что прочитали. Ставьте лайки и подписывайтесь на канал. Всем пока.