Найти в Дзене
AUTO NEW+

Характеристики и старт продаж обновленной Lada Vesta

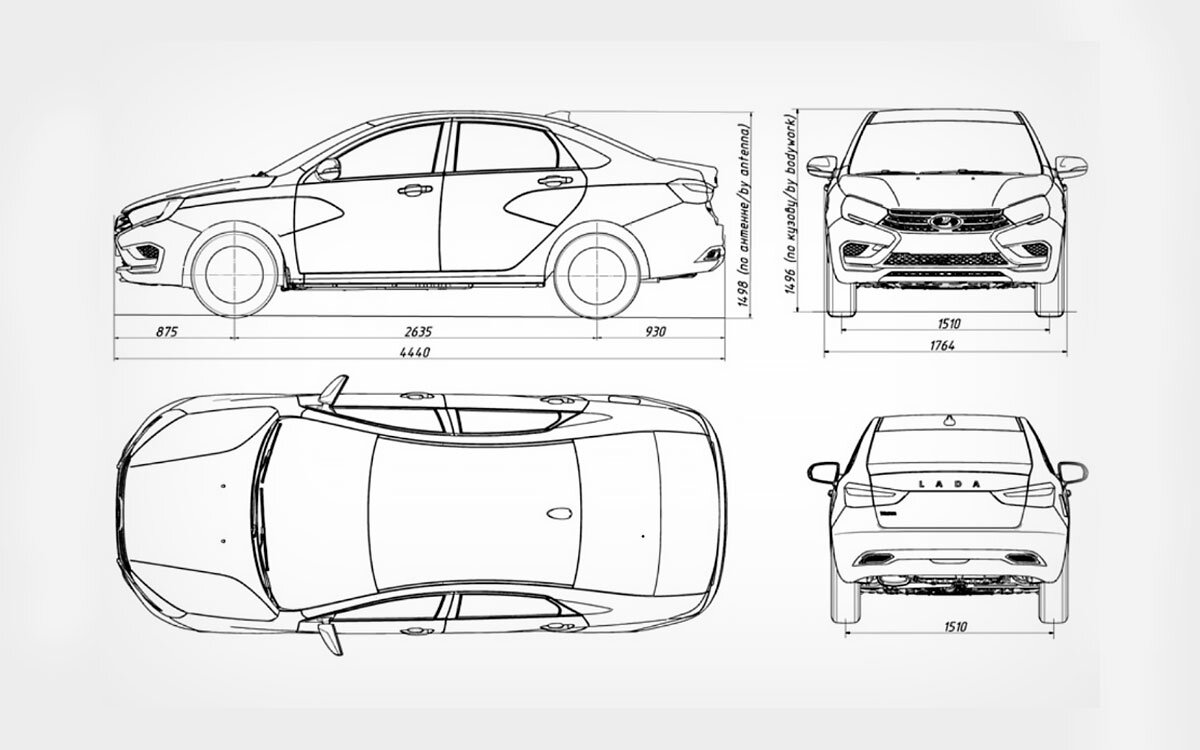
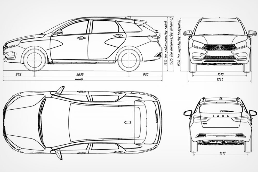
Lada Vesta FL: появились чертежи и характеристики. АвтоВАЗ завершил процесс сертификации обновленной Lada Vesta, которая после рестайлинга получит индекс FL. На модель оформили Одобрение типа транспортного средства (ОТТС), появилось в открытой базе Росстандарта. Модернизированный автомобиль, длина и ширина которого составила 4440 мм и 1764 мм соответственно, получится чуть габаритнее предшественника за счет новых бамперов. Как сообщалось ранее, внешне модернизированная Vesta будет отличаться от нынешней модели новой радиаторной решеткой с ячеистой структурой, иной оптикой с диодными элементами. Что касается технической составляющей, то по документу становится понятно, что она останется прежней. Lada Vesta предложат с тем же 1,6-литровым отечественным двигателем мощностью 106 л.с., а в качестве альтернативы будет доступна модификация с 113-сильным агрегатом Renault такого же рабочего объема. В качестве трансмиссией заявлены пятиступенчатая «механика» и вариатор от японской Jatco. Ранее

Lada Vesta FL: появились чертежи и характеристики.

АвтоВАЗ завершил процесс сертификации обновленной Lada Vesta, которая после рестайлинга получит индекс FL. На модель оформили Одобрение типа транспортного средства (ОТТС), появилось в открытой базе Росстандарта.

Модернизированный автомобиль, длина и ширина которого составила 4440 мм и 1764 мм соответственно, получится чуть габаритнее предшественника за счет новых бамперов. Как сообщалось ранее, внешне модернизированная Vesta будет отличаться от нынешней модели новой радиаторной решеткой с ячеистой структурой, иной оптикой с диодными элементами.

Что касается технической составляющей, то по документу становится понятно, что она останется прежней. Lada Vesta предложат с тем же 1,6-литровым отечественным двигателем мощностью 106 л.с., а в качестве альтернативы будет доступна модификация с 113-сильным агрегатом Renault такого же рабочего объема. В качестве трансмиссией заявлены пятиступенчатая «механика» и вариатор от японской Jatco.

-2

Ранее появились патентные изображения приборной панели для обновленной Lada Vesta, где будут аналоговые циферблаты спидометра и тахометра с расположенным между ними небольшим цифровым информационным дисплеем. В качестве опции будет доступен полностью цифровой щиток приборов.

По предварительным данным, официальная премьера модернизированной Lada Vesta FL состоится в ближайшее время. Продажи автомобилей должны начаться к середине 2022 года.