Найти в Дзене
НаРаз

Рулевое управление колесным трактором Т-150.

Поворот колесного трактора осуществляется рулевым колесом с помощью гидравлического цилиндра, воздействующего на шарнирно-сочлененную раму. За счет «излома» полурам в горизонтальной плоскости трактор движется по криволинейной траектории. Устройство рулевого управления колесного трактора. К рулевому управлению относятся рулевой механизм и узлы гидравлической системы управления поворотом. Рулевой механизм представляет собой корпус, прикрепленный болтами к раме трактора. У корпуса имеется верхняя и боковая крышки. Внутри него на роликовых цилиндрических подшипниках установлен вал. Верхний конец этого вала соединен с валом рулевого колеса. На шлицы вала посажен червяк, находящийся в зацеплении с сектором. Вал сектора установлен в корпусе на двух цилиндрических подшипниках и соединен елочными шлицами с сошкой. Сошка через шаровой палец и сухари взаимодействует с тягой обратной связи, другой конец которой прикреплен к ушку задней полурамы трактора. Гидравлическая система управления, облегчаю

Поворот колесного трактора осуществляется рулевым колесом с помощью гидравлического цилиндра, воздействующего на шарнирно-сочлененную раму. За счет «излома» полурам в горизонтальной плоскости трактор движется по криволинейной траектории.

Устройство рулевого управления колесного трактора. К рулевому управлению относятся рулевой механизм и узлы гидравлической системы управления поворотом.

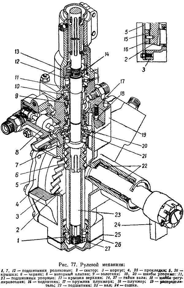
Рулевой механизм представляет собой корпус, прикрепленный болтами к раме трактора. У корпуса имеется верхняя и боковая крышки. Внутри него на роликовых цилиндрических подшипниках установлен вал. Верхний конец этого вала соединен с валом рулевого колеса. На шлицы вала посажен червяк, находящийся в зацеплении с сектором. Вал сектора установлен в корпусе на двух цилиндрических подшипниках и соединен елочными шлицами с сошкой. Сошка через шаровой палец и сухари взаимодействует с тягой обратной связи, другой конец которой прикреплен к ушку задней полурамы трактора.

Гидравлическая система управления, облегчающая управление трактором, включает в себя масляный бак, шестеренчатый насос, клапан расхода, распределитель, запорный клапан, гидроцилиндр и маслопроводы.

Масляный бак закреплен на кронштейнах под кабиной с правой стороны трактора. В верхнюю половину бака вварен патрубок с масляным фильтром. Фильтр, состоящий из двадцати одного фильтрующего элемента, имеет предохранительный клапан, отрегулированный на давление 3 + 0,5 кгс/см2. К патрубку прикреплена заливная горловина для заправки бака маслом. Уровень масла контролируют по мерному стеклу. В верхней части бака смонтирован сапун.

Шестеренчатый насос НШ-32, расположенный на задней стенке раздаточной коробки, получает вращение от коленчатого вала двигателя, а при буксировке и езде накатом — от ведущих колес трактора. Насос НШ-32 устроен точно так же, как шестеренчатый насос навесной гидросистемы.

Клапан расхода, размещенный под кабиной, подает постоянное количество масла к распределителю независимо от производительности насоса. В корпусе имеется клапан с пружиной и регулировочным винтом. При работе насоса масло к распределителю проходит через отверстие в клапане.

1— вал: 2 — сектор; 3 — червяк) 4 — золотник: 5 — запорный клапан; 6 — рулевая колонка; 7 — рулевое колесо; 8 — бак: 9 — фильтр линии слива; 10 — заборный фильтр 
11 — клапан расхода; 12. 14— упорные шайбы; 13 — распределитель; 15 — сошка; 16 — тяга; 17—насос; 18,21 — поворотные рычаги рамы; 19, 20 — гидравлические цилиндры; 22, 28 - грибковые клапаны, 23, 27 - пружины клапанов; 24.
26 — седла; 25 — плунжер; 29— пружина; 30 —распорный плунжер; 31 — втулка золотника: а — поворот золотника и запорных клапанов влево; б — прямолинейное движение; в — поворот вправо.
1— вал: 2 — сектор; 3 — червяк) 4 — золотник: 5 — запорный клапан; 6 — рулевая колонка; 7 — рулевое колесо; 8 — бак: 9 — фильтр линии слива; 10 — заборный фильтр 11 — клапан расхода; 12. 14— упорные шайбы; 13 — распределитель; 15 — сошка; 16 — тяга; 17—насос; 18,21 — поворотные рычаги рамы; 19, 20 — гидравлические цилиндры; 22, 28 - грибковые клапаны, 23, 27 - пружины клапанов; 24. 26 — седла; 25 — плунжер; 29— пружина; 30 —распорный плунжер; 31 — втулка золотника: а — поворот золотника и запорных клапанов влево; б — прямолинейное движение; в — поворот вправо.

Чтобы шланги не повреждались при повышении давления, в корпусе предусмотрен предохранительный клапан. Оба клапана запломбированы и регулировать их трактористу запрещено.

Гидроцилиндр двустороннего действия закреплен на передней и задней полурамах трактора. Обе полости гидроцилиндра соединены шлангами с запорным клапаном. При подаче масла в одну из полостей гидроцилиндра поршень перемещается вместе со штоком и, воздействуя на полураму, поворачивает ее вправо или влево. В это время из другой полости масло сливается в бак. На тракторах последних выпусков устанавливают рулевое управление с двумя гидроцилиндрами поворота.

Запорный клапан, прикрепленный к корпусу рулевого механизма, запирает масло в цилиндре при установившемся движении и тем самым исключает произвольный поворот трактора при наезде на препятствие. Он состоит из корпуса, плунжера и двух подпружиненных клапанов.

Распределитель, направляющий в гидроцилиндр поток масла от масляного насоса, состоит из гильзы, закрепленной в корпусе рулевого механизма, и золотника, установленного на валу между двумя упорными шайбами и упорными подшипниками. В шайбы упираются ползуны. Они упираются также в корпус рулевого механизма и в его крышку.

Ползуны с пружинами удерживают золотник в нейтральном (среднем) положении, когда тракторист не поворачивает рулевое колесо и трактор движется по выбранной траектории. Золотник выточками сообщает нагнетательную магистраль со сливной полостью и масло, нагнетаемое насосом, сливается в бак, минуя силовой цилиндр.

При повороте рулевого колеса влево поворачивается червяк, который перемещается вместе с золотником вверх, в результате нагнетательная магистраль насоса соединяется с задней полостью гидроцилиндра. Гидроцилиндр, воздействуя на заднюю полураму, поворачивает трактор. При этом под действием масла открывается клапан, а плунжер, сдвигаясь вниз, открывает клапан. Масло, вытесненное поршнем из передней полости гидроцилиндра, поступает через клапан в распределитель и направляется в бак. Если прекратить вращение рулевого колеса, червяк вместе с золотником возвратится в нейтральное (среднее) положение под действием тяги обратной связи, а трактор будет продолжать движение в выбранном направлении.

При повороте рулевого колеса вправо червяк с золотником благодаря зазору между верхней упорной шайбой и корпусом распределителя перемещается вниз. В это время нагнетательная магистраль соединяется с передней полостью гидроцилиндра. Масло, нагнетаемое насосом, открывает клапан, одновременно сдвигает плунжер с клапаном вверх и поступает в переднюю полость гидроцилиндра. Из задней полости его масло сливается в масляный бак.

Техническое обслуживание рулевого управления. От состояния рулевого управления зависит не только работоспособность трактора, но и безопасность управления. Поэтому тракторист обязан ежесменно следить за надежностью креплений узлов рулевого управления, очищать узлы рулевого управления от пыли и грязи, проверять уровень масла в баке гидросистемы. Масляный бак необходимо заправлять хорошо профильтрованным маслом марки индустриальное-20 или индустриальное-12. Летом допускается применять дизельное масло ДС-8.

Через каждые 240 ч работы следует разбирать, очищать и промывать в дизельном топливе фильтр масляного бака рулевого управления, смазывать шарниры гидроцилиндра и рулевой тяги обратной связи.

Через каждые 960 ч работы необходимо снять сапун масляного бака, разобрать и, тщательно промыв его в дизельном топливе, собрать и установить на место. Слить масло из бака гидросистемы рулевого управления. Промыть в дизельном топпиве фильтр, сапун и спускную пробку; заправив бак чистым маслом, следует запустить двигатель; для удаления воздуха из гидросистемы рулевого управления нужно сделать десять поворотов трактора на месте из одного крайнего положения в другое. При необходимости доливают масло до середины мерного стекла. Проверяют свободный ход рулевого колеса и, если нужно, регулируют его.

Перед регулировкой свободного хода рулевого колеса уста-навливают трактор на горизонтальной ппо-щадке в положение, соответствующее прямолинейному движению. Нормальный свободный ход рулевого колеса должен быть около 25°, а допустимый при износе деталей — не более 35° (при включенной гидросистеме). На свободный ход рулевого колеса влияют зазоры в тяге обратной связи и в зацеплении «червяк — сектор».

1— вал: 2 — сектор; 3 — червяк) 4 — золотник: 5 — запорный клапан; 6 — рулевая колонка; 7 — рулевое колесо; 8 — бак: 9 — фильтр линии слива; 10 — заборный фильтр 
11 — клапан расхода; 12. 14— упорные шайбы; 13 — распределитель; 15 — сошка; 16 — тяга; 17—насос; 18,21 — поворотные рычаги рамы; 19, 20 — гидравлические цилиндры; 22, 28 - грибковые клапаны, 23, 27 - пружины клапанов; 24.
26 — седла; 25 — плунжер; 29— пружина; 30 —распорный плунжер; 31 — втулка золотника: а — поворот золотника и запорных клапанов влево; б — прямолинейное движение; в — поворот вправо.
1— вал: 2 — сектор; 3 — червяк) 4 — золотник: 5 — запорный клапан; 6 — рулевая колонка; 7 — рулевое колесо; 8 — бак: 9 — фильтр линии слива; 10 — заборный фильтр 11 — клапан расхода; 12. 14— упорные шайбы; 13 — распределитель; 15 — сошка; 16 — тяга; 17—насос; 18,21 — поворотные рычаги рамы; 19, 20 — гидравлические цилиндры; 22, 28 - грибковые клапаны, 23, 27 - пружины клапанов; 24. 26 — седла; 25 — плунжер; 29— пружина; 30 —распорный плунжер; 31 — втулка золотника: а — поворот золотника и запорных клапанов влево; б — прямолинейное движение; в — поворот вправо.

Регулировка тяги обратной связи заключается в подтягивании пробок. Для этого вынимают шплинт, стопорящий пробку, завертывают ее до упора и отвертывают до совмещения ее прорези с ближайшим отверстием в головке тяги, после чего шплинтуют. Если после этого свободный ход рулевого колеса будет большим, регулируют зазор в паре «червяк — сектор».

Для регулировки зазора между червяком и сектором сначала проверяют индикатором осевое смещение вала сектора. При нормальном зацеплении осевое смещение его должно быть в среднем положении червячной пары до 0,05 мм, а в крайних положениях — 0,25—0,6 мм. В среднем положении червячной пары риска на валу сектора совпадает с риской на корпусе рулевого механизма. Если зазор более указанного, отсоединяют тягу обратной связи, снимают крышку и, подобрав по толщине необходимую шайбу, устанавливают ее вместо старой. Ставят крышку на место, проверяют зазор и присоединяют тягу. При вращении рулевого колеса из одного крайнего положения в другое не должно быть заеданий и прихватов в зацеплении «червяк—сектор». При сборке рулевого механизма проверяют, чтобы риски на торце вала сектора (Е), на корпусе рулевого механизма (К) и на сошке (Л) совпадали.

Клапан расхода регулирует мастер-наладчик, если трактор не поворачивается. Для этого повертывают трактор на месте в любое крайнее положение, снимают клапан, разбирают его, промывают в чистом дизельном топливе и собирают. Устанавливают клапан на место и соединяют его с корпусом распределителя рулевого механизма специальной трубкой с манометром, имеющим показания до 100 кгс/см2. Регулировочный винт клапана расхода завертывают до отказа, а винтом предохранительного клапана регулируют давление по манометру до 7043 кгс/см2. Затем вместо специальной трубки устанавливают стандартный шланг высокого давления и регулируют винтом подачу масла к золотнику так, чтобы при быстром вращении рулевого колеса трактор поворачивался на месте из одного крайнего положения в другое за 5—7 с. Клапан регулируют при температуре масла в гидравлической системе рулевого управления 50—60 С. После регулировки на регулировочные винты клапанов навертывают контргайки и колпаки и пломбируют их.

Иточник https://stroy-technics.ru/article/rulevoe-upravlenie-kolesnym-traktorom-t-150