Добавить в корзинуПозвонить
Найти в Дзене
Будни автолюбителя

Самая нужна доработка для нового Chevrolet Cobalt — открывание багажника с кнопки

Сегодня расскажу, как самостоятельно сделать одну из самых необходимых доработок для Chevrolet Cobalt — открывание багажника с кнопки. С момента покупки автомобиля я никак не мог смириться с принципом открывания багажника Кобальта — или с ключа, или с брелка — и только при выключенном зажигании. Я понимаю, что криминогенная обстановка в Латинской Америке (для которой и был разработан Шевроле Кобальт) не позволяет гарантировать сохранность вещей иначе, но… мы же не в такой стране живем, хотелось бы верить. В большинстве автомобилей открытие производится багажника производится механической или, чаще — электрической кнопкой на крышке багажника, поскольку замок теперь в основном ставят электромеханический. Доработку решил начать с изучения материалов в интернете по установке кнопки открытия багажника в Кобальт. Здесь — сборная солянка. Некоторые разбирают реле и впаивают перемычку с кнопкой прямо в него, некоторые паяют в схему конденсаторы и диоды, собирают на 2-х реле и т.д. Ничего этого

Сегодня расскажу, как самостоятельно сделать одну из самых необходимых доработок для Chevrolet Cobalt — открывание багажника с кнопки.

Кнопка открывания багажника автомобиля. Фото из открытых источников
Кнопка открывания багажника автомобиля. Фото из открытых источников

С момента покупки автомобиля я никак не мог смириться с принципом открывания багажника Кобальта — или с ключа, или с брелка — и только при выключенном зажигании. Я понимаю, что криминогенная обстановка в Латинской Америке (для которой и был разработан Шевроле Кобальт) не позволяет гарантировать сохранность вещей иначе, но… мы же не в такой стране живем, хотелось бы верить.

В большинстве автомобилей открытие производится багажника производится механической или, чаще — электрической кнопкой на крышке багажника, поскольку замок теперь в основном ставят электромеханический.

Доработку решил начать с изучения материалов в интернете по установке кнопки открытия багажника в Кобальт. Здесь — сборная солянка. Некоторые разбирают реле и впаивают перемычку с кнопкой прямо в него, некоторые паяют в схему конденсаторы и диоды, собирают на 2-х реле и т.д.

Ничего этого делать не нужно. Необходимо уяснить:

1. На крышке багажника Кобальта имеется электромеханический замок.
2. В блоке предохранителей есть реле, которое по команде с модуля BCM этим замком управляет.

Задача — замыкать силовую цепь реле по нажатию кнопки.

Для доработки по было приобретено:

1. Eврореле — на 4 ли 5 контактов (не важно) — можно подешевле.
2. Колодка под еврореле с проводами.
3. 1-2 м провода сечением 1,5 мм2, клеммы "мама" акустические.
4. Кнопка открывания багажника — купил ВАЗовскую.

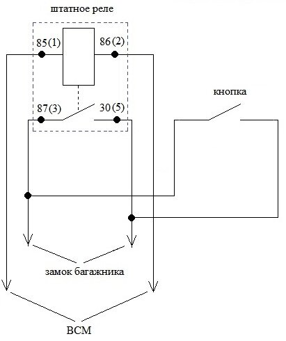
Работать будем по схеме:

Схема автора
Схема автора

Процесс доработки

1. Берём купленное реле, вскрываем корпус и "потрошим" его. Внутри оставляем только огрызки контактов, подтачиваем их надфилем, чтобы на них надевались клеммы "мама". В общем, делаем "реле-вилку", чтобы вставлять её в гнездо блока предохранителей.

2. К контактам "реле-вилки" (85, 86, 87, 30) подсоединяем клеммы с проводами для колодке под еврореле. От 87 и 30 контактов дополнительно пускаем провода на кнопку.

Фото автора
Фото автора

3. В крышке блока предохранителей сверлим отверстие под кнопку (удобно сверлить ступенчатым сверлом или пером на 22 мм).
В колодку устанавливаем заводское серое реле, заблаговременно извлеченное из блока предохранителей в салоне (на схеме ниже
"МК3"). К проводам от 87 и 30 контактов подсоединяем кнопку.
Всё, электрика готова.

Фото автора
Фото автора

4. Собираем всё в блоке предохранителей. Реле-вилку устанавливаем в гнездо "МК3" блока предохранителей в салоне.

Расположение предохранителей и реле в салоне Кобальта. Фото из открытых источников
Расположение предохранителей и реле в салоне Кобальта. Фото из открытых источников

Для колодки с реле под панелью полно места. Я прикрепил колодку стяжкой к ближайшему усилителю панели. Крышку с кнопкой установил на место.

Фото автора
Фото автора

Проверил — работает. И с кнопки, и с брелка — всё открывается.
Получил удовлетворение, поскольку теперь не надо лезть за брелком или ключами, а также глушить машину, чтобы доложить вещи в багажник

Фото автора
Фото автора

Вывод: данная схема — на 100% рабочая и собирается самостоятельно, с минимальными усилиями и средствами.
Если что, всё разбирается и возвращается на к заводскому исполнению буквально за минуту (актуально для тех, у кого автомобиль находится на гарантии).