Найти в Дзене
Механикус

Складной iPhone: цена, дата выпуска, слухи, характеристики и новости

Объединение iPhone и iPad — это один из способов, которым Apple может создать iPhone Flip. Сейчас это определенно просто слух, но ожидание складного телефона Apple набирает обороты — просто не ждите его в ближайшее время, а может быть, даже не в 2023 году. Когда будет выпущен складной iPhone? Последний телефон Apple — iPhone 13 . Кто знает, что нас ждет в 2022 году (вероятно, iPhone 14 ), но, согласно Omdia и DSCC , Apple не выпустит складной iPhone как минимум до 2023 года. Аналитик  Минг-Чи Куо в какой-то момент согласился с этим графиком, но позже недавно думает , что мы не увидим складной iPhone до 2024 года . Одной из идей гибкого устройства Apple является складывающийся iPad . Однако слухи, окружающие это устройство, могут быть о гибриде iPhone/iPad, который, возможно, называется iPhone Flip или iPhone Fold. Несмотря на отсутствие официальных подробностей от Apple, они явно интересовались каким-то складным устройством в течение нескольких лет. Патенты, поданные в 2011 , 2014 , ию
Оглавление

Объединение iPhone и iPad — это один из способов, которым Apple может создать iPhone Flip. Сейчас это определенно просто слух, но ожидание складного телефона Apple набирает обороты — просто не ждите его в ближайшее время, а может быть, даже не в 2023 году.

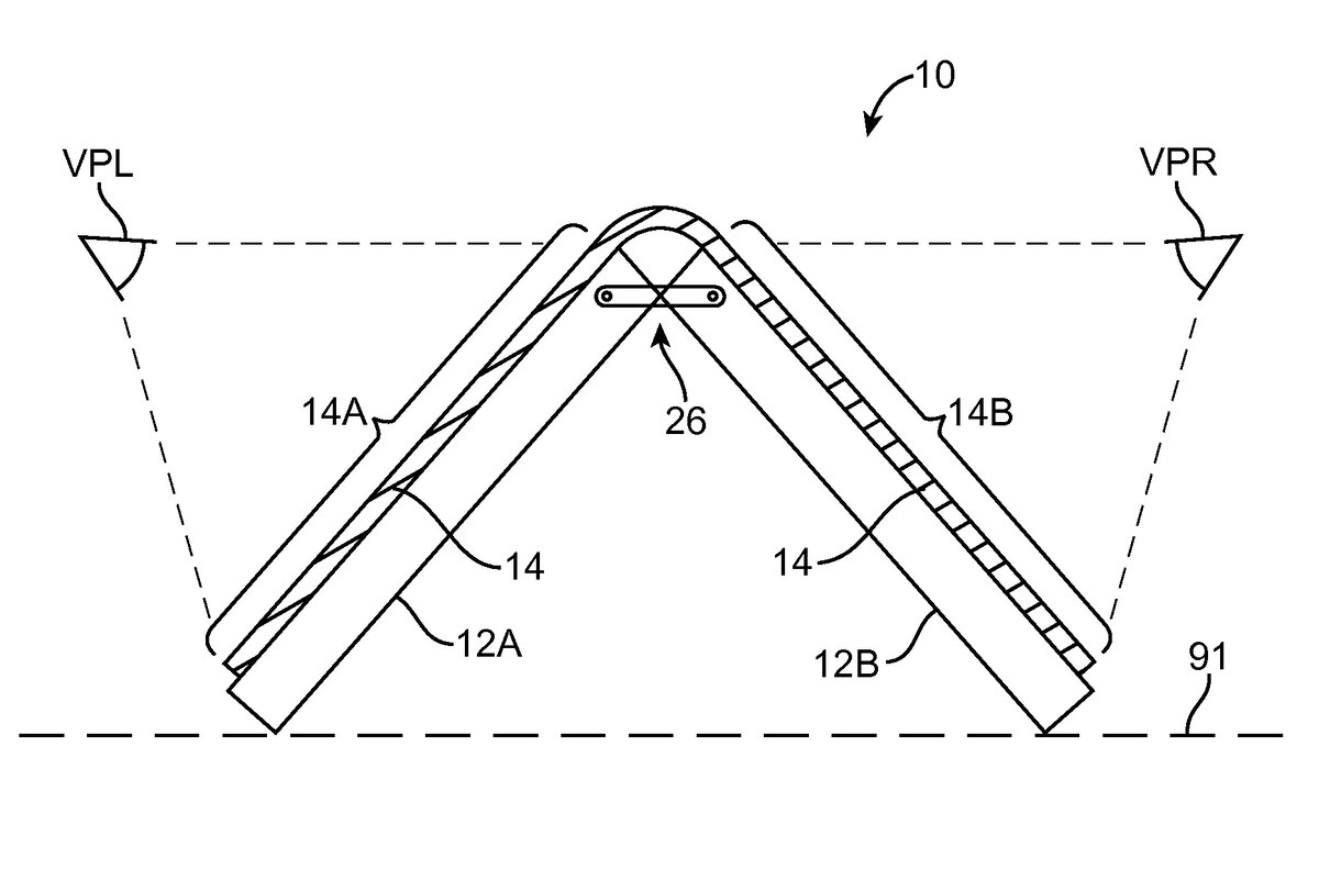
Патент US9504170B2.
Патент US9504170B2.

Когда будет выпущен складной iPhone?

Последний телефон Apple — iPhone 13 . Кто знает, что нас ждет в 2022 году (вероятно, iPhone 14 ), но, согласно Omdia и DSCC , Apple не выпустит складной iPhone как минимум до 2023 года. Аналитик  Минг-Чи Куо в какой-то момент согласился с этим графиком, но позже недавно думает , что мы не увидим складной iPhone до 2024 года .

Одной из идей гибкого устройства Apple является складывающийся iPad . Однако слухи, окружающие это устройство, могут быть о гибриде iPhone/iPad, который, возможно, называется iPhone Flip или iPhone Fold.

Несмотря на отсутствие официальных подробностей от Apple, они явно интересовались каким-то складным устройством в течение нескольких лет. Патенты, поданные в 2011 , 2014 , июне 2016 , августе 2016 , 2018 и 2020 , доказывают это. Конечно, это также показывает, что они не вывели на рынок складное устройство, несмотря на очевидный интерес.

В этих документах есть разные конструкции, и некоторые из них сильно отличаются от других (включая способ складывания устройства несколькими способами). Планы могут означать, что они имеют в виду что-то другое, например, электронную книгу или #планшет, но они намекают на то, что мы можем ожидать от этого iPhone.

Патент US9504170B2.
Патент US9504170B2.
-3
-4
-5
-6

Еще один патент, поданный в 2019 году, касается устройства с круглым дисплеем:

В описываемом варианте осуществления узел гибкого дисплея сконфигурирован для представления визуального содержимого в любой части прозрачного корпуса.

Можно ли превратить его в складной телефон? Мы с нетерпением ждем, чтобы увидеть, как они используют эти изобретения.

Оценка даты выпуска

Если какая-либо компания и должна усовершенствовать #технологии телефона, то это Apple. Требуются повторные испытания и улучшения, а также исправление того, что другие компании делают неправильно со складной технологией, что требует времени. Основываясь на информации от заслуживающих доверия источников информации, мы не ожидаем появления складного iPhone как минимум до 2023 года, но, вероятно, не раньше 2024 года.

Слухи о цене складного iPhone

Это будет недешево. Телефоны все чаще приближаются или даже превышают 1000 долларов. Просто взгляните на iPhone 13 Pro Max, который продается по цене чуть больше тысячи.

Что происходит, когда подключается другой экран? Если Galaxy Fold является каким-либо признаком, цена может подскочить до 2000 долларов. Apple не обязана следовать этому примеру, особенно если они хотят доминировать в продажах любителей двухэкранных устройств. Опять же, #Apple не дешевый бренд.

Они могли рассчитывать на чистую цену #iPhone + #iPad mini, просто сложив их вместе и получив телефон за 1400 долларов. Но, учитывая, насколько новым это будет для Apple, они могут немного поднять цену и приблизить ее к ценнику в 2 тысячи долларов. Если, конечно, они не пойдут на компромисс с менее дорогим оборудованием или меньшим количеством усовершенствований, кроме двух (или трех) экранов.

Однако, если они выберут дизайн раскладушки, в котором один экран разделен на две части, мы можем увидеть гораздо более доступный телефон (но все же более дорогой, чем ваш обычный iPhone). Если слухи о том, что у Apple будет две складные модели, раскладушка и вертикальная, верны, ожидайте различных цен в зависимости не только от памяти и размера экрана, но и от типа складывания.

Информация для предварительного заказа

Еще слишком рано предлагать дату предварительного заказа, но мы будем держать ее в курсе по мере приближения запуска.

Особенности складного iPhone

С годами, по мере того, как телефоны становились больше, мы наслаждались большим пространством экрана для таких вещей, как чтение, просмотр фильмов, игры и многозадачность. Складной телефон идеально подходит для этих занятий .

Тем не менее, Apple является новатором. Может быть, они смогут сделать версию, которая работает лучше всех остальных. Возможно, он не будет страдать от видимой складки посередине, где экраны складываются друг над другом. Или, как показывает этот патент , складной телефон Apple может использовать самонагревающиеся пиксели, чтобы избежать повреждений при складывании. Если у него есть третий экран в сложенном виде, возможно, частота обновления может быть достаточно высокой, чтобы его нельзя было отличить от основных экранов.

#iOS, программное обеспечение, на котором работает iPhone, может и должна быть переработана для поддержки нескольких дисплеев. Не ожидайте, что он будет работать иначе , чем ваш обычный iPhone с одним экраном. Слишком большие изменения отпугнут преданных клиентов. Приложения также должны будут поддерживать несколько экранов, чтобы они отлично выглядели на iPhone с двумя экранами. В противном случае нет смысла в большом телефоне.

Учитывая, что более крупный телефон может напоминать планшет, логично, что он будет поддерживать Apple Pencil . Последняя версия в настоящее время работает только на небольшом количестве iPad, но ожидайте новую версию для складного iPhone (если только это не планшет, а скорее раскладушка).

Когда дело доходит до этого, складной телефон выгоден исключительно из-за большего экрана. Поскольку это будет первая попытка Apple создать телефон такого типа, вероятно, это будет единственное существенное изменение в iPhone в этом году. Значение: нет потрясающе новой камеры, значительного увеличения емкости памяти и т. д. (хотя, возможно, значительно увеличена батарея).

Характеристики складного iPhone и аппаратное обеспечение

Так как же будет работать iPhone Flip? Можно только догадываться, но есть несколько вариантов: один большой складной экран, как у Galaxy Fold; два отдельных экрана, которые складываются на специально видимую петлю, как у Surface Duo ; или три экрана — два обычных и третий, когда устройство находится в сложенном положении.

Однако с тех пор, основываясь на других утечках и предложениях, похоже, что мы увидим дизайн раскладушки, по крайней мере, для первого складного выпуска компании. Такой форм-фактор будет означать, что iPhone Flip издалека будет выглядеть как обычный телефон, но будет складываться вертикально, как старые телефоны-раскладушки, и может иметь небольшой экран снаружи, как у Galaxy Z Flip .

Сообщается, что Apple тестирует несколько прототипов со складными дисплеями. Возможно, они выпустят две версии телефона-раскладушки ; двухэкранный и похожий на Z Flip. Некоторые аналитики считают, что первым будет раскладушка.

-7

Если вместо этого он использует два полноразмерных экрана, чтобы напоминать планшет в развернутом виде, будет ли он открываться назад, как Duo, — это другой вопрос. Если это так, мы можем только надеяться, что он будет поддерживать запуск приложения на обоих экранах одновременно. Возможно, вы могли бы воспроизвести одно и то же видео на обоих экранах, чтобы посмотреть видео с кем-то, сидящим напротив вас, или запустить два отдельных приложения для чего-то вроде локального игрового процесса.

-8

Аналитик Минг-Чи Куо считает, что мы могли бы увидеть экран размером до 8 дюймов . Omdia прогнозирует, что iPhone будет OLED и будет иметь диагональ 7,3–7,6 дюйма (больший размер сделает его таким же, как у Galaxy Z Fold 2 ). iPhone 13 Pro Max имеет диагональ 6,7 дюйма, а iPad mini 2021 года — 8,3 дюйма, так что это действительно будет смесь телефона и планшета; складное устройство в стиле фаблета .

Space Grey и Silver — стандартные цвета для устройств Apple. Вероятно, мы увидим те же варианты для iPhone Flip и, возможно, другие, которые поддерживают другие iPhone, такие как Graphite, Green, Product Red, Gold и/или Sierra Blue.

Все совершенно новые телефоны, включая новейшие модели iPad и iPhone, поддерживают #5G для более быстрой передачи данных по мобильным соединениям. Ожидайте того же от складного iPhone.

Поддержка таких вещей, как батарея, вычислительная мощность и оперативная память, будет необходима для поддержки нескольких дисплеев, которые могут работать независимо друг от друга в многозадачном режиме. Место для хранения может не измениться по сравнению с текущей линейкой iPhone.