Добавить в корзинуПозвонить
Найти в Дзене
Крошка Цахес

Умножитель добротности в ламповом радиоприемнике

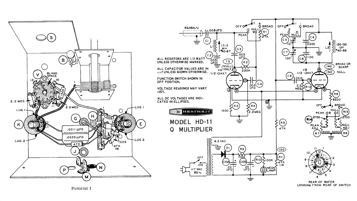
Одна из старых схем, которую я давно хотел повторить и проверить в работе - умножитель добротности (он же регенеративный усилитель ПЧ). Впервые о них я узнал из статьи «Регенеративные усилители ВЧ и ПЧ» в журнале «Радио» в №4 за 1962г (рис.3). В ней указывается, что подобная схема может серьезно улучшить параметры даже простых вещательных приемников. В статье упоминается, что подобные устройства выпускались за рубежом в качестве приставок к приемникам, иногда в виде наборов для самостоятельной сборки. Если поискать в интернете по ключевым словам "Q-Multiplier", "tubes", можно найти схемы таких конструкторов, выпускаемых с небольшими вариациями, разными фирмами. Посмотрев внимательнее на них, можно найти отличия в схеме, опубликованной в «Радио», от оригиналов. Например, пропущен конденсатор с анода левого триода, емкости некоторых конденсаторов указаны на порядок ниже. С такими же ошибками эта схема была перепечатана позже и в других источниках. Приставку решил собирать по

Одна из старых схем, которую я давно хотел повторить и проверить в работе - умножитель добротности (он же регенеративный усилитель ПЧ). Впервые о них я узнал из статьи «Регенеративные усилители ВЧ и ПЧ» в журнале «Радио» в №4 за 1962г (рис.3).

В ней указывается, что подобная схема может серьезно улучшить параметры даже простых вещательных приемников. В статье упоминается, что подобные устройства выпускались за рубежом в качестве приставок к приемникам, иногда в виде наборов для самостоятельной сборки. Если поискать в интернете по ключевым словам "Q-Multiplier", "tubes", можно найти схемы таких конструкторов, выпускаемых с небольшими вариациями, разными фирмами.

Посмотрев внимательнее на них, можно найти отличия в схеме, опубликованной в «Радио», от оригиналов. Например, пропущен конденсатор с анода левого триода, емкости некоторых конденсаторов указаны на порядок ниже. С такими же ошибками эта схема была перепечатана позже и в других источниках.

Приставку решил собирать по первой схеме, приведенной выше, немного упростив (использован только один переменный резистор для подстройки режима вместо двух), лампу использовал 6Н2П.

Получилось как то так.

Собрать саму приставку было несложно, но для экспериментов нужен ламповый радиоприемник, желательно классом пониже. Есть у меня в наличии две радиолы, но, во-первых лезть в рабочий аппарат не очень охота, а во - вторых, вспоминая процесс ремонта, нет большого желания ворочать тяжелое шасси этих аппаратов. Поэтому, пойдем другим путем. В закромах отыскалось наполовину разоренное шасси от приемника «Рекорд-53». Схему приемника взял простенькую, без каких-либо изысков, из журнала «Радио» №8 1960г., статья «Три простых супергетеродина».

-5

Правда собрал не до конца – еще не смонтированы входные контуры и контуры гетеродина, но для измерений с помощью приборов пока хватит. Входная лампа 6А7 работает как усилитель ПЧ.

-6

Вот так все это выглядит в итоге.

После подключения приставки необходимо немного подстроить контур ПЧ, к которому мы подключились.

АЧХ тракта ПЧ с подключенной приставкой, питание которой выключено.
АЧХ тракта ПЧ с подключенной приставкой, питание которой выключено.

Умножитель добротности может работать в трех режимах (обозначения и нумерация деталей по схеме выше).

1) Peak. Усиление и избирательные свойства схемы максимальные. С помощью переменного резистора R14 можно регулировать полосу пропускания и усиление. Конденсатором C7 можно двигать полосу усиливаемых частот. (Здесь и далее включен внешний аттенюатор - 40dB)

2) Broad. Усиление в этом режиме снижается, так как между резонансным контуром и анодом лампы включается сопротивление R1. Номинал этого резистора пришлось подобрать, оптимальный вариант получился 10к. Некоторые производители ставили на его место переменный.

3) Null. В этом режиме подключается дополнительный фазоинверсный каскад, что позволяет вырезать участок спектра. Глубина провала настраивается с помощью резистора R13 , а частота меняется переменным конденсатором C7. Предполагается, что таким образом можно подавлять мешающие сигналы, попадающие в полосу приема.

Вот такие получились картинки. Очень похожи на те, которые указаны в описании заводских приставок и в статье в "Радио".

-12

Теперь осталось собрать приемник до конца и проверить работу приемника с приставкой в реальном эфире. А на этот раз пожалуй всё.