Найти в Дзене

Конспект 16. Магнитное дутье :

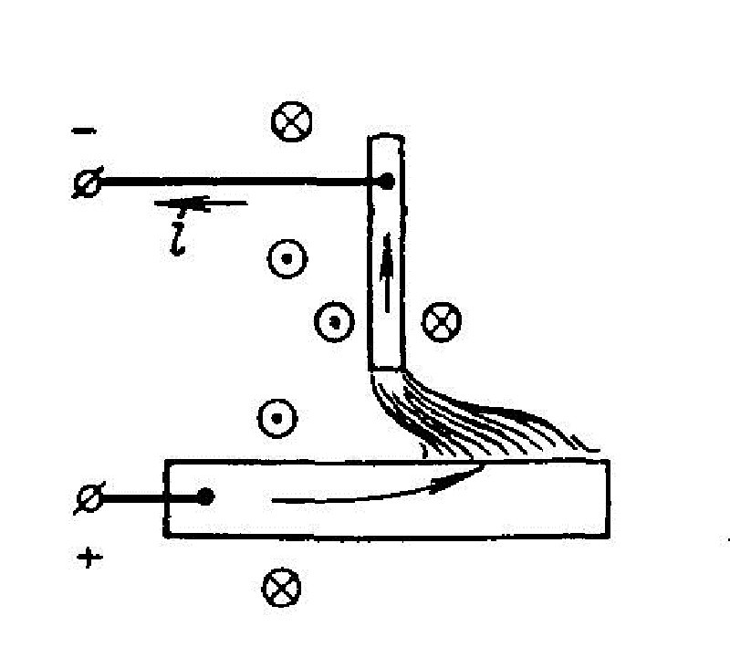
При сварке , вокруг дуги в свариваемом металле возникают магнитные поля. Они могут быть расположены неравномерно. При таком расположении они могут оттягивать дугу на себя. Электрическая дуга при помещении в магнитное поле ведет себя как металлический предмет. Из-за сильного магнитного поля, электрическая дуга отклоняется в сторону большей ферромагнитной массы. Магнитное дутье наиболее выражено при сварке на больших токах (300...400 А). На отклонение дуги может повлиять химическая неоднородность металла. Способы предотвращения: Современные инверторы оснащены рядом функций, облегчающих процесс сварки: В момент залипания электрода происходит резкий выброс тока. Снижает вероятность залипания электрода, позволяет делать более плотные швы, увеличивает глубину проплавления. #weld #завод #сварка #наука #техника #производство

При сварке , вокруг дуги в свариваемом металле возникают магнитные поля. Они могут быть расположены неравномерно. При таком расположении они могут оттягивать дугу на себя. Электрическая дуга при помещении в магнитное поле ведет себя как металлический предмет. Из-за сильного магнитного поля, электрическая дуга отклоняется в сторону большей ферромагнитной массы. Магнитное дутье наиболее выражено при сварке на больших токах (300...400 А).

-2

На отклонение дуги может повлиять химическая неоднородность металла.

Способы предотвращения:

  • Сварка на переменном токе ( из-за снижения глубины проплавления на 30%).
  • Уравновешивание магнитного потока, с помощью магнитной массы.
  • Сварка на короткой дуге.
  • Наклон электрода в сторону отклонения дуги.

Современные инверторы оснащены рядом функций, облегчающих процесс сварки:

  • Anti stick:

В момент залипания электрода происходит резкий выброс тока.

  • Ark Force:

Снижает вероятность залипания электрода, позволяет делать более плотные швы, увеличивает глубину проплавления.

#weld #завод #сварка #наука #техника #производство