Добавить в корзинуПозвонить
Найти в Дзене

Управление приборами освещения в старых автомобилях

Здравствуйте уважаемы читатели моей статьи. Хочу продолжить свой разговор о приборах освещения раритетный автомобилей. Сейчас мы часто поражаемся красотой и миниатюрностью различных клавиш и переключателей современных авто. Их применение стало возможным благодаря использование электрических реле, так как вся нагрузка легла на них, а через маленькие выключатели идёт слабый ток управления. Всё меньше толстых силовых проводов идут до переключателей, в основном они тянутся до блока предохранителей. А как же было раньше? Вы наверняка удивитесь, услышав, что в некоторых автомобилях даже не было реле включения ближнего и дальнего света или вообще не было никаких реле, за исключением прерывателя указателей поворотов. Как например, в Москвиче 408-412-м и его собрате-раннем ИЖ 412 ИЭ. Слова "реле" нет в схеме. Ну а как же тогда происходила коммутация электрических приборов? С помощью мощных выключателей: отопителя, стеклоочистителя, центрального и ножного переключателей света. Совместно с цент

Здравствуйте уважаемы читатели моей статьи. Хочу продолжить свой разговор о приборах освещения раритетный автомобилей.

Сейчас мы часто поражаемся красотой и миниатюрностью различных клавиш и переключателей современных авто. Их применение стало возможным благодаря использование электрических реле, так как вся нагрузка легла на них, а через маленькие выключатели идёт слабый ток управления. Всё меньше толстых силовых проводов идут до переключателей, в основном они тянутся до блока предохранителей.

А как же было раньше? Вы наверняка удивитесь, услышав, что в некоторых автомобилях даже не было реле включения ближнего и дальнего света или вообще не было никаких реле, за исключением прерывателя указателей поворотов. Как например, в Москвиче 408-412-м и его собрате-раннем ИЖ 412 ИЭ.

 1- подфарник; 2 - фара; 3 - звуковой сигнал; 4 - лампа габаритного света в фаре; 5 - лампа дальнего и ближнего света; 6 - лампа габаритного света; 7 - лампа переднего указателя поворота; 8 - боковой повторитель указателя поворота; 9 - свеча зажигания; 10 - распределитель зажигания; 11 - генератор; 12 - реле-регулятор; 13 - датчик указателя температуры охлаждающей жидкости; 14 - переключатель указателей поворота и выключатель звукового сигнала; 15 - прерыватель указателей поворота; 16 - штепсельная розетка; 17 - выключатель света заднего хода; 18 - блок плавких предохранителей;  19 - выключатель сигналов торможения; 20 - аккумуляторная батарея; 21 - стартер; 22 - датчик указателя давления масла; 23 - катушка зажигания; 24 - антенна; 25 - электродвигатель вентилятора отопителя; 26 - соединительная муфта; 27 - прикуриватель; 28 - выключатель электродвигателя вентилятора отопителя; 29 - выключатель электродвигателя стеклоочистителя; 30 - выключатель (замок) зажигания; 31 - электродвигатель стеклоочистителя; 32 - плавкий предохранитель;33 - радиоприемник; 34 - громкоговоритель; 35 - указатель температуры охлаждающей жидкости; 36 - контрольная лампа включения дальнего света фар; 37 - лампа освещения шкал приборов; 38 - указатель давления масла; 39 - указатель уровня бензина; 40 - контрольная лампа включения указателей поворотов; 41 - амперметр; 42 - выключатель фонарей света стоянки; 43 - центральный выключатель света; 44 - фонарь света стоянки; 45 - ножной переключатель света; 46 - лампа освещения багажника; 47 - плафон освещения салона; 48 - дверной выключатель плафона; 49 - датчик указателя уровня топлива; 50 - задний указатель поворота; 51 - лампа габаритного света; 52 - задний фонарь; 53 - лампа сигнала торможения; 54 - лампа света заднего хода; 55 - фонарь освещения номерного знака.
1- подфарник; 2 - фара; 3 - звуковой сигнал; 4 - лампа габаритного света в фаре; 5 - лампа дальнего и ближнего света; 6 - лампа габаритного света; 7 - лампа переднего указателя поворота; 8 - боковой повторитель указателя поворота; 9 - свеча зажигания; 10 - распределитель зажигания; 11 - генератор; 12 - реле-регулятор; 13 - датчик указателя температуры охлаждающей жидкости; 14 - переключатель указателей поворота и выключатель звукового сигнала; 15 - прерыватель указателей поворота; 16 - штепсельная розетка; 17 - выключатель света заднего хода; 18 - блок плавких предохранителей; 19 - выключатель сигналов торможения; 20 - аккумуляторная батарея; 21 - стартер; 22 - датчик указателя давления масла; 23 - катушка зажигания; 24 - антенна; 25 - электродвигатель вентилятора отопителя; 26 - соединительная муфта; 27 - прикуриватель; 28 - выключатель электродвигателя вентилятора отопителя; 29 - выключатель электродвигателя стеклоочистителя; 30 - выключатель (замок) зажигания; 31 - электродвигатель стеклоочистителя; 32 - плавкий предохранитель;33 - радиоприемник; 34 - громкоговоритель; 35 - указатель температуры охлаждающей жидкости; 36 - контрольная лампа включения дальнего света фар; 37 - лампа освещения шкал приборов; 38 - указатель давления масла; 39 - указатель уровня бензина; 40 - контрольная лампа включения указателей поворотов; 41 - амперметр; 42 - выключатель фонарей света стоянки; 43 - центральный выключатель света; 44 - фонарь света стоянки; 45 - ножной переключатель света; 46 - лампа освещения багажника; 47 - плафон освещения салона; 48 - дверной выключатель плафона; 49 - датчик указателя уровня топлива; 50 - задний указатель поворота; 51 - лампа габаритного света; 52 - задний фонарь; 53 - лампа сигнала торможения; 54 - лампа света заднего хода; 55 - фонарь освещения номерного знака.

Слова "реле" нет в схеме. Ну а как же тогда происходила коммутация электрических приборов? С помощью мощных выключателей: отопителя, стеклоочистителя, центрального и ножного переключателей света.

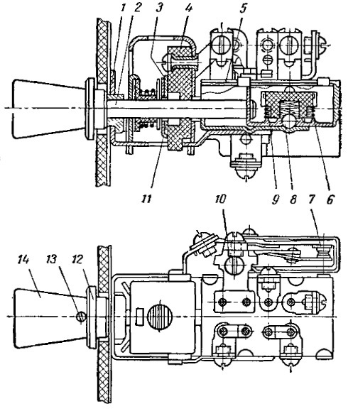
ЦПС 306 автомобиля Москвич 412
ЦПС 306 автомобиля Москвич 412
ЦПС ГАЗ 53
ЦПС ГАЗ 53

Совместно с центральными переключателями света, для выбора режимов освещения, применяли и ножные переключатели

-4

Рассмотрим работу совместную работу этих приборов, на примере автомобиля Москвич 412.

-5

Ручка центрального переключателя света (ЦПС )устанавливается в одно из следующих фиксированных положений :

0-втянута до упора-приборы освещения выключены;

I-вытянута в первое положение-включены подфарники (или ближний свет в зависимости от положения ножного переключателя), задние габаритные фонари и фонари освещения номерного знака.

II-вытянута во второе положение до упора- включен ближний свет (или дальний в зависимости от положения ножного переключателя), задние габариты и фонари освещение номерного знака.

Таким образом ножной переключатель переключает освещение с подфарников на ближний свет при 1-м положении ЦПС и с ближнего на дальний при 2-м положении ЦПС.

При вращении ручки центрального переключателя света по часовой стрелки включалась и плавно регулировалась яркость освещение комбинации приборов. На самом переключателе крепился биметаллический 20-ти амперный предохранитель, рассчитанный на общую нагрузку всех приборов освещения, порядка 240-280 Ватт.

От потребителей в салон к переключателю тянулись толстые провода:

Взято https://www.drive2.ru/experience/moskvich/g2215/?from=132080404772673470
Взято https://www.drive2.ru/experience/moskvich/g2215/?from=132080404772673470

Да, конечно сейчас такое подключение не эффективно и не экономично, однако оно простое. Наличие различного сопротивления в плохих контактах переключателя и окисленных клеммах не позволяет лампам фар ярко гореть. Особенно это характерно для автомобилей, откатавших не один десяток лет. Но есть и плюс такого подключение-лампы не так часто горят. Так то наши отцы и деды делали по настоящему, выносливые и неприхотливые автомобили. Мой Москвич откатал 40 лет, не каждая современная машина так сможет.

Вот такие интересные приборы использовались в раритетных автомобилях. А Вам спасибо за внимание и до новых встреч !!!

#электрооборудование МОСКВИЧ 412 #москвич-412 #ИЖ 412 ИЭ #ретро автомобили