Добавить в корзинуПозвонить
Найти в Дзене
DL24 | История авто

Механический впрыск топлива НАМИ для мотора ГАЗ-13

Довольно неплохо освещена разработка Центральным НИИ Топливной аппаратуры системы электронного впрыска для ГАЗ-21, а также созданной при участии завода ФЭД системы механического впрыска с ТНВД (по схеме, похожей на топливную аппаратуру дизеля) для "Москвича", которая даже пошла в малую серию. А вот об аналогичных разработках для ГАЗовских V8 как-то практически забыли. Предыстория Напомню, что впрыск топлива впервые нашёл широкое применение на мощных авиационных двигателях, для которых после роста числа цилиндров до двух десятков и более карбюраторная система питания (с одним карбюратором на каждый цилиндр !) оказалась крайне неудобна. Такие системы были ещё до войны разработаны в Германии, Японии и СССР, а в её ходе стали использоваться и в США с Великобританией. В большинстве случаев речь шла о непосредственном впрыске топлива в цилиндры при помощи топливного насоса высокого давления (ТНВД), отчасти аналогичного ТНВД дизеля. Естественно, после войны появилась идея приспособить ту же
Оглавление

Довольно неплохо освещена разработка Центральным НИИ Топливной аппаратуры системы электронного впрыска для ГАЗ-21, а также созданной при участии завода ФЭД системы механического впрыска с ТНВД (по схеме, похожей на топливную аппаратуру дизеля) для "Москвича", которая даже пошла в малую серию. А вот об аналогичных разработках для ГАЗовских V8 как-то практически забыли.

Предыстория

Напомню, что впрыск топлива впервые нашёл широкое применение на мощных авиационных двигателях, для которых после роста числа цилиндров до двух десятков и более карбюраторная система питания (с одним карбюратором на каждый цилиндр !) оказалась крайне неудобна. Такие системы были ещё до войны разработаны в Германии, Японии и СССР, а в её ходе стали использоваться и в США с Великобританией. В большинстве случаев речь шла о непосредственном впрыске топлива в цилиндры при помощи топливного насоса высокого давления (ТНВД), отчасти аналогичного ТНВД дизеля.

Естественно, после войны появилась идея приспособить ту же систему впрыска к автомобильному мотору. Проблем при этом возникало сразу множество, и одной из главных было наличие в ТНВД прецизионных, то есть - обработанных с высочайшей точностью, пар деталей. Причём если в дизельном моторе они работали в соляровом масле, то в случае бензинового двигателя их необходимо было заставить надёжно работать со смывающем масляную плёнку лёгким топливом, что требовало обеспечения принудительного смазывания. Всё это делало подобные системы механического впрыска очень сложными и дорогими в производстве.

Были и другие проблемы - например, в отличие от авиамотора, который в полёте практически постоянно "молотит" на одних и тех же оборотах при практически полностью открытом дросселе, автомобильному двигателю нужно иметь ровный холостой ход и нормальные переходные режимы, а со всем этим у первых систем непосредственного механического впрыска дела обстояли так себе. И хотя удовлетворительное решение технических проблем найти удалось, из-за сложности и дороговизны их применение на четырёхтактных бензиновых моторах оказалось ограничено гоночными или очень дорогими спортивными автомобилями, такими, как Mercedes-Benz 300SL (1954).

Следующим поколением стали чуть более простые в реализации системы механического впрыска топлива во впускной коллектор, которые были созданы ещё в конце сороковых годов для гоночного применения (система Хилборна). Впоследствии фирма Bosch "довела до ума" систему механического впрыска топлива во впускной коллектор с плунжерным ТНВД "дизельного" типа, и она под названием Kugelfischer устанавливался на спортивные модификации некоторых европейских автомобилей 1960-х - 70-х годов, вроде Porsche 911. Примерно аналогичной была и система итальянской фирмы SPICA, использовавшаяся на некоторых моторах Alfa-Romeo.

Но одновременно с этим вёлся и поиск более дешёвых и простых в производстве альтернативных вариантов. Одним из них были системы впрыска с электронным управлением, разработанные на рубеже пятидесятых и шестидесятых годов у нас в ЦНИИ ТА и в США фирмой Bendix. А над другой альтернативой примерно в то же самое время работали в НАМИ.

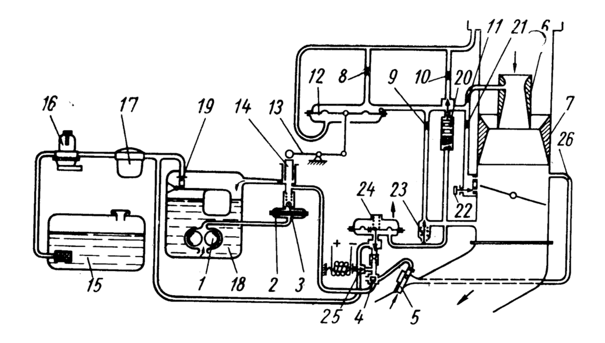
Устройство и принцип действия

Главной идеей системы впрыска разработки НАМИ была непрерывная подача бензина под давлением во впускной коллектор двигателя в районе впускных клапанов, с регулированием количества подаваемого топлива за счёт давления в топливной магистрали. Таким образом, речь шла о системе непрерывного впрыска, по принципу действия отчасти подобной Bosch К-Jetronic (в серии с 1973 года). Для регулирования состава топливной смеси использовалось изменение давления топлива, которое осуществлялось в зависимости от режима работы двигателя и разницы между разрежением во впускном коллекторе за дросселем и в диффузоре системы впрыска над дросселем. Принципиально система впрыска топлива состояла из двух подсистем: подачи топлива и регулирования состава смеси.

-2

Подача топлива осуществлялась шестерёнчатым топливным насосом 1 с механическим приводом от валика распределителя системы зажигания. Насос был погружён в поплавковую камеру 18, куда топливо нагнетал обычный диафрагменный подкачивающий насос, создающий давление около 0,25 кг/см2, а его постоянный уровень обеспечивал поплавок с "иглой" 19 - как в карбюраторном моторе. Использование дешёвого шестерёнчатого насоса позволило на порядок снизить сложность и стоимость системы впрыска по сравнению с использующими ТНВД плунжерного типа.

При работе системы шестерёнчатый насос через топливную магистраль нагнетал бензин к распределителю 4, из которого оно попадало к установленным на впускном коллекторе распылителям (форсункам) 5 - по одной на каждый цилиндр. Давлением топлива в пределах от 0,5 до 10 кг/см2 управлял установленный в начале топливной магистрали золотниковый перепускной клапан 14, который перепускал часть топлива обратно в поплавковую камеру через одно из десяти калиброванных отверстий различного диаметра, причём он также не требовал высокой точности изготовления.

Работой перепускного клапана управлял регулятор с вакуумной диафрагмой 12, одна из камер которого была через воздушный жиклёр 11 связана с малым диффузором 6 аппаратуры впрыска - таким образом через создаваемое в нём разрежение учитывался расход воздуха через малый диффузор. Другая камера диафрагмы была соединена с атмосферой. Шток диафрагмы через систему рычагов 13 был связан с золотником перепускного клапана 14. Благодаря этому давление топлива выставлялось в зависимости от разрежения на впуске. Для калибровки этой системы при настройке топливной аппаратуры использовался воздушный жиклёр, а для более тонкого управления составом смеси на различных режимах работы двигателя - вспомогательные устройства, включая экономайзер, систему холостого хода, пусковой обогатитель и ускорительный насос.

Экономайзер в режиме средних нагрузок подавал в камеру регулятора небольшое количество воздуха, уменьшая разрежение и немного обедняя топливную смесь, что способствовало экономии топлива. При полностью нажатой же дроссельной заслонке он отключался, и смесь обогащалась до мощностного состава.

Система холостого хода вступала в работу при холостом ходе и в режиме малых нагрузок, она дополнительно обогащала топливную смесь, соединяя камеру регулятора с задроссельным пространством через жиклёр холостого хода 21. Также она позволяла регулировать состав смеси на холостом ходу привычным по карбюраторам способом - регулировочным винтом 22. Число оборотов холостого хода устанавливалось тоже как в карбюраторе - упорным винтом дроссельной заслонки.

Пусковой обогатитель значительно обогащал смесь при прогреве двигателя, опять же, за счёт соединения камеры регулятора с задроссельным пространством через жиклёр 9, что осуществлялось плужером 23, имевшим ручной привод от манетки на панели приборов. Также имелась пусковая система, соленоидный клапан которой 25 срабатывал при нажатии на кнопку стартера и дополнительно обогащал смесь непосредственно в момент пуска за счёт подачи дополнительного топлива от подкачивающего насоса.

Ускорительный насос 24 работал так же, как и в карбюраторе - при резком нажатии на педаль "газа" подавал во впускной коллектор дополнительную порцию топлива. Он имел пневматический привод и срабатывал при резком уменьшении разрежения во впуске.

Вся система была реализована в виде единого агрегата, совмещавшего в себе топливоподающую и регулирующую подсистемы, который устанавливался непосредственно на впускной коллектор двигателя, имевший специальную конструкцию.

Испытания

Разработанная на основе приведённой выше принципиальной схемы впрысковая топливная аппаратура была установлена на серийный двигатель ГАЗ-13 с увеличенной до 9,5 степенью сжатия и была оттарирована так, чтобы воспроизводить работу штатного для него четырёхкамерного карбюратора К-113. При его испытаниях на стенде удалось при коэффициенте избытка воздуха (численно выражающем степень обогащения топливной смеси) в пределах 0,82...0,87 добиться мощности в 202 л.с. при 3900 об/мин и минимального удельного расхода топлива в 206 г на л.с. в час. Обычный серийный мотор 1961 года выпуска при том же цикле испытаний показал 180 л.с. и минимальный удельный расход порядка 230 г на л.с. в час, причём если у карбюраторного мотора минимальный расход приходился на сравнительно высокие обороты (около 3500 об/мин), то у впрыскового - на более выгодный при обычном вождении режим в районе 2000 об/мин.

Ещё одним "побочным" эффектом от внедрения впрыска топлива была возможность существенно увеличить степень сжатия при сохранении возможности использования штатного для "Чайки" бензина "Экстра" - это достигалось за счёт более эффективного смесеобразования и отсутствия подогрева впускного коллектора, что уменьшило температуру заряда бензовоздушной смеси и тем самым повысило её детонационную стойкость.

Далее мотор поставили на "Чайку" и погнали её на дорожные испытания. Было отмечено снижение расхода топлива по сравнению с карбюратором на 5...6% при движении по трассе (в городском режиме расход практически не изменился), а также улучшение динамики - до "сотни" машина стала разгоняться за 17,5 с вместо 20 у серийного автомобиля, а максимальная скорость повысилась со 157 км/ч до 165. Поломок системы впрыска за время испытаний (10 тыс. км) не отмечалось, а всё обслуживание каждый 3,5...4 тыс. км сводилось к прочистке фильтров.

Были выявлены и существенные недостатки системы впрыска. Так, двигатель неустойчиво работал на холостом ходу из-за очень малого давления впрыска и отмечавшейся при нём неравномерности подачи топлива по цилиндрам, а также в некоторых случаях отмечался "провал" в работе двигателя при резком нажатии на педаль "газа", что происходило из-за того, что нормально ускорительный насос работал только при давлении в системе впрыска порядка 0,15...0,25 кг/см2, а при низком давлении (0,05...0,15 кг/см2) смесь при резком открытии дросселя излишне обеднялась.

Стоит отметить, что есть информация о разработке НАМИ аналогичной системы ещё для двигателя автомобиля ЗИМ ГАЗ-12 в 1956-1958 годах.

Перспективы

Составившие описание системы работники НАМИ - кандидаты технических наук А. А. Чапчаев и Б. М. Енукидзе - описывали её перспективы в крайне оптимистичных тонах, заявляя, что данная система является самой простой из известных видов впрысковой топливной аппаратуры и при массовом производстве будет стоить не дороже четырёхкамерного карбюратора. После доработки её внедрение считалось возможным на спортивно-гоночных автомобилях, а затем и серийный среднего и большого классов. Данная позиция представляется излишне оптимистичной - хотя завод с интересом относился к работам ЦНИИ ТА и НАМИ в этой области, практическое их внедрение явно считалось преждевременным.

Видимо, отчасти здесь повинны недостатки самой системы впрыска, отчасти - неготовность эксплуатационников и ремонтников к новой, на порядок более сложной, чем привычный карбюратор, топливной аппаратуре (и эта проблема была важнейшим сдерживающим фактором для внедрения систем впрыска топлива далеко не только у нас). А отчасти - то, что во второй половине шестидесятых автомобилестроительная отрасль страны стала перестраиваться под выпуск миллионов относительно простых по конструкции, лишённых "наворотов" и конструктивных излишеств, автомобилей для начинавшейся в СССР в правление Брежнева массовой автомобилизации. И если на Западе в те годы считали возможным выпускать, наряду с миллионами обычных карбюраторных, также и десяток-другой процентов автомобилей со впрысковой топливной аппаратурой для богатых покупателей, то у нас снабжение и без того супер-элитной "Чайки" или элитных вариантов "Волги" системой впрыска топлива, что ещё более увеличило бы разрыв между этим автомобилем и массовыми моделями, на тот момент вряд ли выглядело особо привлекательной целью.

Массово применяться впрысковая топливная аппаратура даже на Западе стала лишь в восьмидесятые годы, причём в основном из-за ужесточения экологических стандартов, адаптация к которым карбюраторов была слишком сложной и приводила к резкому снижению надёжности, при стоимости, сравнимой с полноценной системой впрыска. До этого же она применялась или на очень дорогих автомобилях, где её высокая цена особой роли не играла, или на малосерийных спортивных вариантах, для которых выигрыш в динамике компенсировал все недостатки тогдашнего впрыска.

Двигатель ЗМЗ-24Д с электронным аналоговым впрыском топлива АВТЭ. Конец 1970-х.
Двигатель ЗМЗ-24Д с электронным аналоговым впрыском топлива АВТЭ. Конец 1970-х.

В СССР экспериментальные работы над системами впрыска топлива никогда не прекращались, но их "центр тяжести", как и во всём мире, с оказавшегося тупиковым механического впрыска со временем сместился в сторону более перспективного направления - впрыска с электронной системой управления двигателем (ЭСУД). Именно такая система была создана, в частности, для V8 "Чайки" ГАЗ-14 и четырёхцилиндровых двигателей "Волги" - сначала аналоговая на основе прежних наработок ЦНИИ ТА, которая себя не оправдала (конец семидесятых - середина восьмидесятых годов), а затем и комплексная микропроцессорная (КМСУД).

Последняя, в частично унифицированном по периферийным компонентам с системами впрыска фирмы Bosch виде, и пошла в серию в девяностые годы на моторах семейства ЗМЗ-406 и сегодня известна под названием "Микас" (по марке служащего её "сердцем" блока управления), что позволило не только существенно повысить потребительские качества мотора, но и подготовить его к принятию экологических норм семейства "Евро", в которые карбюраторные системы питания уже не вписывались (без технических извращений вроде системы дополнительной подачи воздуха в обход карбюратора по показаниям кислородного датчика, как было сделано на моторах автобусов ПАЗ).

Так что, несмотря на то, что в шестидесятые и семидесятые годы работы по этому направлению велись в основном "в стол", так как практическое внедрение впрыска топлива долгое время считалось преждевременным, происходило непрерывное накопление опыта в данной области. И в конечном итоге именно это советское "наследство" позволило нашей автомобильной промышленности "вскочить в последний вагон уходящего поезда" внедрения впрысковых топливных систем. Но обо всём этом - как нибудь в другой раз...

Сами или не сами ?

Ну, и традиционно волнующий общественность вопрос - самостоятельно ли у нас разработали эту систему, или не очень. Так вот - видимо, всё же "не очень": принцип действия очень похож на американские системы впрыска семейства Ramjet фирмы Rochester (филиал General Motors), устанавливавшиеся на некоторые автомобили Chevrolet, вроде "Корвета":

-4

У американцев тоже был непрерывный механический впрыск за счёт шестерёнчатого бензонасоса, тоже вакуумная система регулирования подачи топлива с диафрагменным регулятором и золотниковым перепускным клапаном. Короче - вся идея системы была взята явно отсюда. Судить о том, имело ли место буквальное копирование с адаптацией к отечественному мотору, или только заимствование принципа работы для своей конструкции, не представляется возможным, поскольку никаких данных кроме приведённого выше описания работы и принципиальной схемы в открытых источниках по системе разработки НАМИ нет. Можно надеяться, что со временем эта информация всё же будет найдена в архивах НАМИ вхожим туда людьми.

Стоит отметить, что и фирма Bosch при разработке своего первого (оказавшегося неудачным) электронного впрыска D-Jetronic также в большой степени воспользовалась наработками американской компании Bendix в виде системы Electrojector, эпизодически устанавливавшейся на продукцию компаний Chrysler и AMC.

Как выглядела наша система впрыска - неизвестно. На фото её американский аналог.
Как выглядела наша система впрыска - неизвестно. На фото её американский аналог.

Впрочем, провал американской системы, которая не прижилась даже на недешёвых спортивных "Корветах" и была снята с производства в 1965 году, позволяет оценить перспективы её отечественного аналога, и они в этом свете выглядят ещё более блёкло. Во-первых - американцы считали эту систему очень дорогой (вопреки радужным мечтам сотрудников НАМИ о том, что она будет стоить не дороже карбюратора). Во-вторых, её обслуживание было сопряжено с большим количеством проблем, связанных с необходимостью специального оборудования для диагностики и настройки, которое в тогдашней системе автосервиса, ориентированной на карбюраторные машины, попросту отсутствовало. И наконец - действительно надёжной и стабильной работы, приемлемой для массовых моделей, от неё добиться так и не удалось.

Да в ней и не было особой нужды в те годы, ибо как раз к середине шестидесятых карбюраторная система питания достигла наивысшего конструктивного совершенства, в полной мере отвечая запросам автомобилистов того времени. До того момента, когда карбюратор окончательно исчерпает свой потенциал и перестанет удовлетворять требованиям эксплуатации, должно было пройти ещё много времени.

Для чтения:

  • А. А. Чапчаев и Б. М. Енукидзе, Экспериментальная система впрыска бензина для двигателя ГАЗ-13 ("Автомобильная промышленность", №11 за 1965 год).
  • В. А. Ломовский, Впрыск топлива в транспортные дви­гатели с принудительным зажиганием (Машгиз, 1958 год).