Добавить в корзинуПозвонить
Найти в Дзене
hyperdroid

Xiaomi получила патент на необычный сканер отпечатков пальцев

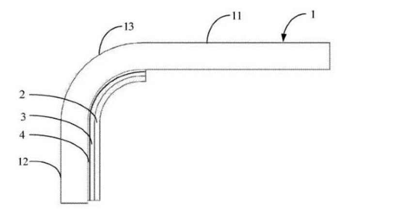
Китайская компания Xiaomi получила патент на достаточно интересное решение по расположению сканера отпечатков пальцев — новый датчик как бы совмещает его размещение под экраном и на боковой грани, а ключевая особенности такой технологии заключается в возможности применения IPS-матрицы, вместо традиционно используемых в таких случаях AMOLED-панелей. Если точнее, сканер отпечатков пальцев будет находиться на боковой грани под загнутым на неё дисплеем устройства. То есть, ему не понадобится выделенная область на рамке смартфона. Кроме того, возможность применения IPS экрана позволит снизить итоговую стоимость аппарата при этом не отказываясь от премиального дизайна. Патентное ведомство США опубликовала данную патентную документацию 3 июня 2021 года, но, к сожалению, подробных технических сведений и особенности дизайна смартфонов с подобной технологией в ней не приводятся. Когда компания Xiaomi выпустит смартфон с таким необычным размещением сканера отпечатков пальцев и выпустит ли вообще

Китайская компания Xiaomi получила патент на достаточно интересное решение по расположению сканера отпечатков пальцев — новый датчик как бы совмещает его размещение под экраном и на боковой грани, а ключевая особенности такой технологии заключается в возможности применения IPS-матрицы, вместо традиционно используемых в таких случаях AMOLED-панелей.

Если точнее, сканер отпечатков пальцев будет находиться на боковой грани под загнутым на неё дисплеем устройства. То есть, ему не понадобится выделенная область на рамке смартфона. Кроме того, возможность применения IPS экрана позволит снизить итоговую стоимость аппарата при этом не отказываясь от премиального дизайна.

Патентное ведомство США опубликовала данную патентную документацию 3 июня 2021 года, но, к сожалению, подробных технических сведений и особенности дизайна смартфонов с подобной технологией в ней не приводятся.

Когда компания Xiaomi выпустит смартфон с таким необычным размещением сканера отпечатков пальцев и выпустит ли вообще — пока неизвестно.