Добавить в корзинуПозвонить
Найти в Дзене
STIEBEL ELTRON РОССИЯ

Как работают проточные водонагреватели

Общий принцип работы всех проточных водонагревателей одинаков. Эти очень компактные приборы обеспечивают высокую мощность нагрева, которой достаточно, чтобы нагреть поступающую холодную воду по мере её протекания. В зависимости от типа прибора проточные водонагреватели различаются по: Всё это влияет на эффективность и удобство нагрева воды. Знаете ли Вы? Проточные водонагреватели с электронным управлением экономят до 30% энергии и воды по сравнению с гидравлическими проточными водонагревателями. Схема проточного водонагревателя: 1  моторный вентиль 2  датчик протока 3  электронные модули 4  датчик температуры на входе 5  программный модуль 6  вход для холодной воды 7  выход для горячей воды 8  датчик температуры на выходе 9  теплообменник

Общий принцип работы всех проточных водонагревателей одинаков. Эти очень компактные приборы обеспечивают высокую мощность нагрева, которой достаточно, чтобы нагреть поступающую холодную воду по мере её протекания.

В зависимости от типа прибора проточные водонагреватели различаются по:

  • типу управления,
  • уровню оборудования,
  • режиму работы,
  • технологии нагревательных элементов.

Всё это влияет на эффективность и удобство нагрева воды.

Знаете ли Вы? Проточные водонагреватели с электронным управлением экономят до 30% энергии и воды по сравнению с гидравлическими проточными водонагревателями.

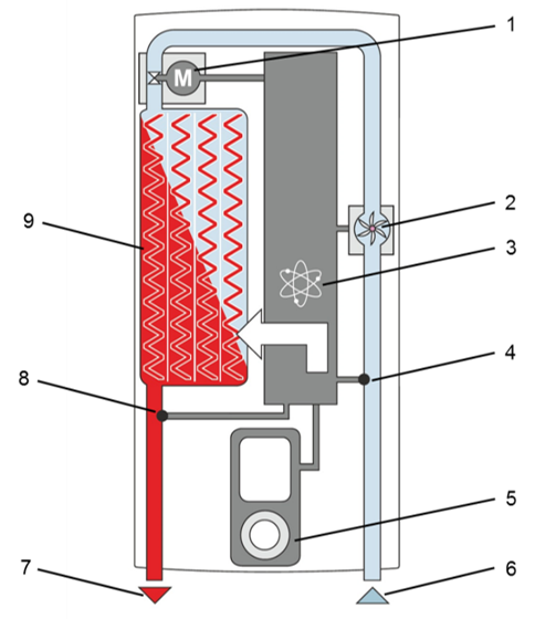
Схема проточного водонагревателя:

1  моторный вентиль

2  датчик протока

3  электронные модули

4  датчик температуры на входе

5  программный модуль

6  вход для холодной воды

7  выход для горячей воды

8  датчик температуры на выходе

9  теплообменник

Бойлеры
2647 интересуются