Найти в Дзене

Паспорт станка 2С132: описание, характеристики, схемы

В этой статье мы собрали основные данные паспорта российского станка 2С132: подробные технические параметры, схемы, общие указания по установке, запуску, эксплуатации оборудования и обеспечению безопасности работы. Официальное руководство по станку содержит самую полную информацию от производителя — в помощь покупателю, а также владельцу 2С132. Универсальный вертикально-сверлильный станок 2С132 применяется для выполнения разнообразных работ, связанных с обработкой изделий осевым инструментом. В нашем ассортименте представлены модели производства России и Китая. Руководства по эксплуатации: общие сведения Станок предназначен для выполнения следующих видов работ: Обработка производится быстрорежущим и твердосплавным инструментом в деталях из различных конструкционных материалов. Станок используется для работы в условиях единичного, мелкосерийного и серийного производства в ремонтных и сборочных цехах. ☑ Реверсирование электродвигателя главного движения позволяет производить на станках на
Оглавление

В этой статье мы собрали основные данные паспорта российского станка 2С132: подробные технические параметры, схемы, общие указания по установке, запуску, эксплуатации оборудования и обеспечению безопасности работы. Официальное руководство по станку содержит самую полную информацию от производителя — в помощь покупателю, а также владельцу 2С132.

Универсальный вертикально-сверлильный станок 2С132 применяется для выполнения разнообразных работ, связанных с обработкой изделий осевым инструментом. В нашем ассортименте представлены модели производства России и Китая.

Вертикально-сверлильный станок 2С132 (Россия) и запчасти
Вертикально-сверлильный станок 2С132 (Россия) и запчасти

Руководства по эксплуатации: общие сведения

Станок предназначен для выполнения следующих видов работ:

  • сверления,
  • рассверливания,
  • зенкерования,
  • зенкования,
  • развертывания,
  • подрезки торцев ножами.

Обработка производится быстрорежущим и твердосплавным инструментом в деталях из различных конструкционных материалов. Станок используется для работы в условиях единичного, мелкосерийного и серийного производства в ремонтных и сборочных цехах.

☑ Реверсирование электродвигателя главного движения позволяет производить на станках нарезание резьбы машинными метчиками.

☑ Класс точности станка – Н по ГОСТ 8-82 Е.

☑ Станок не предназначен для обработки горючих материалов.

☑ Станок подключается к трёхфазной сети переменного тока напряжения 380 В +10%, -15% и частотой 50 ±1 Гц.

Гарантийный срок эксплуатации, в течение которого завод-изготовитель обязуется производить ремонт и замену станка, вышедшего из строя по его вине, составляет 12 месяцев. Начало гарантийного срока исчисляется со дня ввода станка в эксплуатацию, но не позднее 2 месяцев с момента получения станка на складе завода-изготовителя. Срок службы станка до первого капитального ремонта – 10 лет.

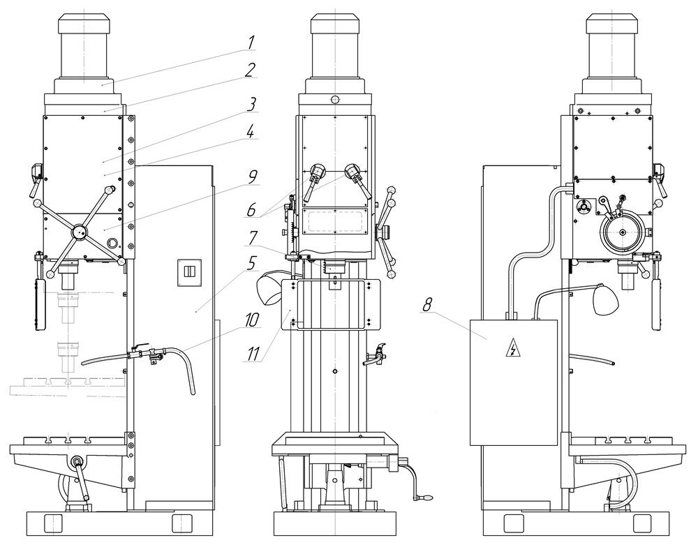
Основные части станка

Расположение и обозначение составных частей оборудования
Расположение и обозначение составных частей оборудования

1. Привод. 2С132.21.000 (1400 мин-1)
2. Коробка скоростей. 2С132.20.000 (1400 мин-1)
3. Насос плунжерный. 2С132К.24.000
4. Коробка подач. 2С132.30.000
5. Основание. 2С132.10.000
6. Механизм управления скоростями и подачами. 2С132.25.000
7. Шпиндель. 2С132.50.000
8. Электрооборудование. 2С132.95.000* (Российская)
Электрооборудование. 2С132.92-1.000* (Телемеханик)
9. Сверлильная головка. 2С132.40.000
10. Система охлаждения. 2С132.80.000
11. Ограждение зоны резания. 2С132.45.000*
* - Дополнительная опция

Технические характеристики 2С132

Наибольшая высота заготовки, мм

600h14

Наибольшая масса устанавливаемой заготовки, не более,кг

600

Максимальный диаметр сверления в стали 45 по ГОСТ 1050, мм

3-32 (50**)

Пределы диаметров нарезания резьбы в стали средней твердости

М3…М33

Наибольшая масса инструмента, устанавливаемая на станке, не более, кг

6

ХАРАКТЕРИСТИКА ПОДЪЕМНОГО СТОЛА

Размеры рабочей поверхности стола, не менее, мм:

Ширина

Длина

Количество Т-образных крепежных пазов, шт

Ширина Т-образных пазов, мм

Расстояние между Т-образными пазами, мм

500h14

500h14

3

18H12

100±0,4

ХАРАКТЕРИСТИКА РАБОЧЕГО ПРОСТРАНСТВА

Наибольшее перемещение шпинделя, мм

250

Наибольший ход подъемного стола, мм

300

Наибольшее установочное перемещение сверлильной головки, мм

170

Наибольшее расстояние от оси шпинделя до направляющей колонны, мм

300

Наибольшее расстояние от торца шпинделя до рабочей поверхности стола, мм

750

ХАРАКТЕРИСТИКА ШПИНДЕЛЯ

Размер внутреннего конуса конца шпинделя по ГОСТ 25557

Морзе 4

Морзе 5*

Степень точности конуса

АТ7

ХАРАКТЕРИСТИКА ГЛАВНОГО ПРИВОДА

Крутящий момент на шпинделе, не более, Hм

400

Осевое усилие на шпинделе ,не более, H

15000

Пределы частот вращения шпинделя, мин-1:

31,5…1400±10,1%

Число ступеней рабочих подач, шт

9

Пределы рабочих подач шпинделя, мм/об

0,10; 0,14; 0,20; 0,28; 0,40; 0,56; 0,80; 1,12; 1,60±10,1%

Вид климатического исполнения УХЛ4 или Т3 по ГОСТ 15150-74. Нижнее рабочее значение температуры окружающего воздуха должно быть не ниже +1ºС, верхнее рабочее значение температуры окружающего воздуха - не выше +35ºС, относительная влажность должна быть не более 80% при 25ºС. Запыленность помещения в пределах санитарной нормы.

Станок не должен подвергаться воздействию местного нагрева и сильных температурных перепадов.

Режим работы станка и марки масел и СОЖ:

Режим работы — Ручной

Рекомендуемая марка СОЖ,  не влияющая на работоспособность изделий из маслостойкой резины — Эмульсол «РОСОЙЛ-500» ТУ 0258-009-06377289-2000

Количество заливаемой СОЖ — 18,7 л

Допустимые марки масел в системе смазки — ИНСп 65И-20А ГОСТ 20799-88 ЛКС-2

ГАБАРИТНЫЕ РАЗМЕРЫ И МАССА

Габаритные размеры станка, не более, мм:

Длина х ширина х высота

870х1110х2700

Площадь, занимаемая станком, м2

0,97

Масса станка, не более, кг

1200

ХАРАКТЕРИСТИКА ЭЛЕКТРООБОРУДОВАНИЯ

Род тока питающей сети ГОСТ Р МЭК 60204-1

-частота тока, ГЦ

-напряжение, В

Переменный

трехфазный

50±1

380+10%, -15%

Электродвигатель главного движения:

Номинальная мощность, кВт

Номинальная частота вращения, мин-1

4

1430

Показатели точности и шероховатости обработки (в партии) образцов-изделий: точность:

При сверлении:

При развертывании

Н12

Н8

Шероховатость внутренней поверхности образца-изделия, Ra:

после сверления

после развертывания

6,3

1,6

** сверление отверстий диаметром более 35 мм допускается при минимальных подачах (S=0.1; 0.14 мм/об) и оборотах (n=63; n=90 мм/об), и с предварительным просверливанием отверстия меньшего диаметра.

*Опция

Комплектация и принадлежности станка 2С132

Станок поставляется изготовителем в следующем виде:

  • подвижный стол находится в нижнем положении с зажатым в тисках брусом, в который упирается сверлильная головка, стол и сверлильная головка зажаты на колонне зажимными болтами;
  • сверлильная головка опущена на упор стола и на деревянный брус, зажатый в тисках, закрепленных на столе;

Станок в сборе, включая электрооборудование, упаковывают в ящик № 1.

Принадлежности, которые входят в комплект и стоимость станка, упаковывают в ящик № 2: Рукоятка подъема стола и сверлильной головки, ключи к электрошкафу Д73—72, 2 шт, муфта эластичная.

Принадлежности, поставляемые за отдельную плату (упаковывают в отдельные ящики)

Втулки переходные

  • 6100-0142 (0202), 3/1
  • 6100-0144 (0204), 4/2
  • 6100-0145 (0205), 4/3
  • 6100-0146 (0206), 5/3 *
  • 6100-0147 (0207), 5/4 *

Клинья к инструменту

  • 7851-0012, *
  • 7851-0013, *
  • 7851-0014, **

Ключи 7812-0375, 7812-0378; Отвертка 7810-0327; Ключ гаечный 7811-0023(17-19); Патрон сверлильный ПСС-10; Оправка 6039-0022; Тиски СТ160.000; Стол плавающий СП 132.000; Стол крестовый СК02.000; Насос охлаждения; Упаковка станка - по согласованию с заказчиком.

Техническая документация

  • Руководство по эксплуатации. Часть 1. 2С132.00.000РЭ1
  • Руководство по эксплуатации. Часть 2. Электрооборудование. 2С132.95.000РЭ2*
  • Руководство по эксплуатации Часть 2. Электрооборудование. 2С132.92-1.000РЭ2*
  • Руководство по эксплуатации. Часть3. Сведения о приемке. 2С132.00.000РЭ3
  • Эксплуатационные документы комплектующих изделий на: тиски станочные, двигатель главного движения, насос охлаждения

*Опция; ** Для станков с конусом КМ5

Рабочее пространство станка — схемы, символы и расшифровка

В месте установки станка необходимо обеспечить следующее:
— достаточно свободное пространство вокруг станка;
— достаточное пространство для перемещения оператора;
— достаточное пространство для работ по обслуживанию и ремонту;
— дверь электрошкафа станка должна полностью открываться не менее чем на 120º;
— площадь для размещения стеллажей для заготовок и изделий, бункера для заготовок (изделий), тележки для стружки, тележки для инструментов и т.д..

Вблизи станка нежелательно размещение шлифовальных станков, работающих без охлаждения, крупного обдирочного и кузнечно-прессового оборудования.

Установочные и присоединительные размеры станка, эскизы конца шпинделя и подъемного стола
Установочные и присоединительные размеры станка, эскизы конца шпинделя и подъемного стола

Установочные и присоединительные размеры станка, эскизы конца шпинделя и подъемного стола
Установочные и присоединительные размеры станка, эскизы конца шпинделя и подъемного стола
Пульт управления с обозначением символов и органов управления
Пульт управления с обозначением символов и органов управления
Графические символы на станке
Графические символы на станке

Характеристики электрооборудования

Питающая сеть:

Род тока

Частота тока, ГЦ

Напряжение, В

переменный, трехфазный

50 (60*) + 2%

380 (220*) +10%

Электродвигатель привода главного движения:

Номинальная мощность, кВт

Номинальная частота вращения, мин—1

4

1430

Электронасос системы охлаждения:

Мощность, кВт

Подача, л/мин

0,12

22

Количество электродвигателей на станке

2

Суммарная мощность установленных на станке электродвигателей, кВт

4,12

Степень защиты электрооборудования

Электрическая панель вмонтирована в нише колонны.

Дверца ниши снабжена специальным замком и ключом, там же расположен предупреждающий знак «Опасное напряжение».

Корпус пульта управления имеет степень защиты IP44, ниша колонны имеет исполнение по степени защищенности IP43 по EN 60529.

Подключение станка к электросети должен производить специально подготовленный персонал, имеющий допуск по работе с электрооборудованием до 1000 В, ознакомившийся с разделом 2С132.95.000РЭ2 или 2С132.92-1.000 РЭ2.

После подключения к электросети все электрооборудование должно быть проверено на безупречную работу. Необходимо обеспечить правильное заземление станка и правильную изоляцию всех выходов. Все переключатели перевести в их исходное или нулевое положение, проверить, что все выключатели станка, конечные выключатели с ручным управлением и иные выключатели правильно установлены для надежной наладки.

После установки станка, до подключения его к цеховой сети, необходимо произвести замеры электрического сопротивления между шиной заземления и любой металлической частью станка с расположенными на ней элементами электрооборудования, которые могут оказаться под напряжением выше 24В в результате пробоя изоляции проводов. Измеренное сопротивление не должно превышать 0,1 Ом.

Защитные и предохранительные устройства

Станок снабжен перемещаемым ограждением, закрывающим конец шпинделя, патрон и режущий инструмент на время вращения главного привода. При отводе ограждения от шпинделя блокируется питание цепей управления станком в отключенном состоянии.

Уборка сливной стружки должна производиться с использованием специального металлического крючка при остановленном вращении шпинделя. Мелкая стружка может быть убрана щеткой при вращении инструмента в отведенном состоянии.

В механизме установлен блокирующий конечник защитного ограждения зоны резания и запрещающий вращение шпинделя на время отвода ограждения из зоны резания. Повторный "пуск" шпинделя возможен только при нажатии на пусковые кнопки при закрытом положении ограждения.

Станок имеет автоматическое торможение шпинделя. Время торможения шпинделя после его выключения на всех частотах вращения не превышает 5 с. При частоте вращения шпинделя свыше 3000 мин-1 время торможения после его выключения не регламентируется.

Рукоятки и другие органы управления станка снабжены надежными фиксаторами, не допускающими самопроизвольных перемещений отдельных сборочных единиц станка.

Запирание вводного выключателя. Для электрооборудования российского производства: автоматический вводной выключатель-разъединитель расположен с правой стороны колонны. После выключения станка выключатель необходимо заблокировать специальным запором. Для электрооборудования фирмы «Телемеханик»: Вводной выключатель-разъединитель расположен с правой стороны колонны и имеет запирающее устройство. Включение вводного выключателя-разъединителя должно быть невозможно без замка, не входящего в комплект поставки. Для установки / снятия навесного замка при его эксплуатации имеются отверстия на рукоятке привода вводного выключателя.

Станок снабжен предохранительной муфтой в цепи подач от перегрузки, отрегулированной по осевому усилию на 15 % больше допустимого. В случае возникновения прощелкивания предохранительной муфты оператору необходимо остановить станок и изменить режим резания.

Пружинный противовес предотвращает самопроизвольное опускание шпинделя и обеспечивает плавное перемещение на всей длине хода.

На пульте управления станка установлена кнопка «Аварийный стоп» с грибовидным толкателем увеличенного размера, окантованная кругом желтого цвета.

Читай продолжение руководства в блоге нашего сайта:

https://ck-stroyavto.ru/blog/pasport-stanka-2s132-opisanie-harakteristiki-shemy

Упаковка, хранение, распаковка и транспортировка 2С132
Как установить сверлильный станок 2С132
Эксплуатация станка