Найти в Дзене
Global Radiatori

Как устроено отопление на корабле?

В открытом море нет центрального отопления, но бывает очень холодно. Интересно, как же решается проблема обогрева судов? Оказывается, существует три типа корабельного отопления. Водяное отопление морских судов По всему кораблю протянуты трубы, по которым течет теплоноситель. При чем он может циркулировать как по однотрубной системе, так и по двухтрубной, где потоки горячей и остывшей воды распределены отдельно. Так или иначе, теплоноситель подогревается в специальных котельных, проходит по трубам, отдавая тепло в помещения корабля через грелки (заменители батарей), и возвращается обратно в котел. Чаще всего, особенно на крупных судах, для циркуляции воды в системе используются насосы. Если судно небольшое, может использоваться гравитационная система, в которой теплоноситель поступает в трубы за счет разницы температур воды. Основными преимуществами системы являются экологичность, качественный обогрев, бесшумность. Однако есть и минус: такая система требует большого объема воды, что ск
Оглавление

В открытом море нет центрального отопления, но бывает очень холодно. Интересно, как же решается проблема обогрева судов?

Оказывается, существует три типа корабельного отопления.

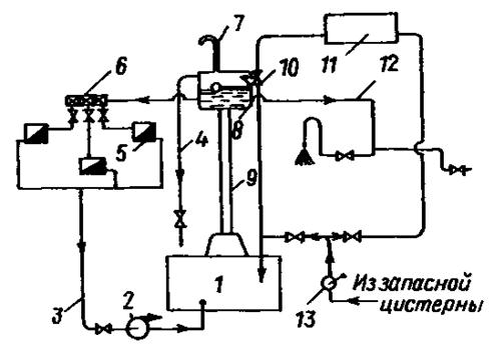
Водяное отопление морских судов

По всему кораблю протянуты трубы, по которым течет теплоноситель. При чем он может циркулировать как по однотрубной системе, так и по двухтрубной, где потоки горячей и остывшей воды распределены отдельно. Так или иначе, теплоноситель подогревается в специальных котельных, проходит по трубам, отдавая тепло в помещения корабля через грелки (заменители батарей), и возвращается обратно в котел. Чаще всего, особенно на крупных судах, для циркуляции воды в системе используются насосы. Если судно небольшое, может использоваться гравитационная система, в которой теплоноситель поступает в трубы за счет разницы температур воды.

-2

Основными преимуществами системы являются экологичность, качественный обогрев, бесшумность. Однако есть и минус: такая система требует большого объема воды, что сказывается на общей массе судна.

Паровое отопление кораблей

Оно устроено сложнее, чем водяное, потому что включает несколько этапов. Во-первых, из котельной пар не сразу поступает в систему. Сначала его давление снижается с помощью автоматических редукционных клапанов, следом пар осушается в сепараторах и только потом отправляется в грелки. Кроме того в системе есть отводчик конденсата, который естественным путем скапливается при паровом отоплении.

-3

Из плюсов можно отметить небольшой вес системы и быстрый прогрев помещения. Однако система достаточно шумная, не очень экологична и безопасна, поэтому не используется в жилых блоках, только в хозяйственных.

Воздушное отопление судов

По принципу работы оно похоже на автомобильный кондиционер. Свежий воздух с улицы поступает в систему, нагревается и распространяется по помещением. При чем, воздушное отопление может работать как в режиме вентиляции, так и дополнительно принудительно циркулировать теплый воздух внутри судна. Для этого свежий воздух с помощью электровентилятора подается в воздухонагреватель, состоящих из трубок, по которым проходит горячий теплоноситель. Оттуда через распределители тепло поступает в каюты.

-4

Эта система считается самой простой и экологичной.

_ _ _ _ _ _ _ _ _ _ _ _ _ _ _ _ _ _ _ _ _ _ _ _ _ _ _ _ _ _ _ _ _ _ _ _ _ _ _ _ _ _ _ _ _ _ _ _ _ _ _ _ _ _ _ _ _

Еще по теме:

_ _ _ _ _ _ _ _ _ _ _ _ _ _ _ _ _ _ _ _ _ _ _ _ _ _ _ _ _ _ _ _ _ _ _ _ _ _ _ _ _ _ _ _ _ _ _ _ _ _ _ _ _ _ _ _ _

Интересуешься отоплением и ремонтом?

Подписывайся на канал Global Radiatori и начнешь так хорошо разбираться в системах отопления, что ни один продавец или сантехник не сможет тебя обмануть!