Найти в Дзене

Будущие iPhone могут показывать 3D-изображения без Apple Glass

Как известно, с AR/VR очками у Aplle пока как-то не ладится. Появления этого устройства ждут довольно давно, эксперты почти каждый год составляют оптимистичные прогнозы, но пока они остаются только прогнозами. Да и очки конкурентов — это довольно громоздкие и неудобные устройства. Вероятно, именно поэтому в компании рассматривают альтернативный подход к созданию виртуальной реальности, при

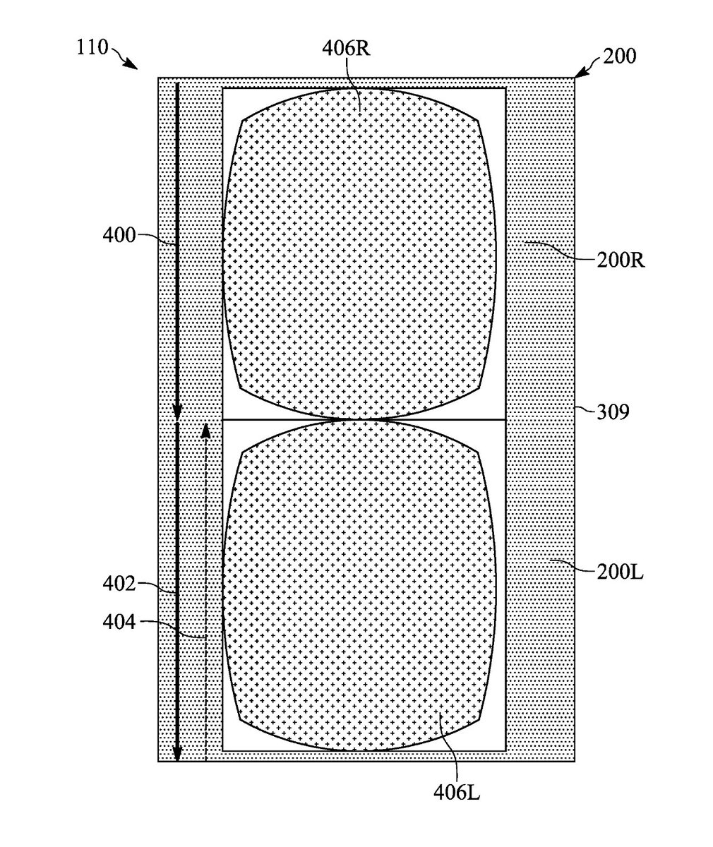
Как известно, с AR/VR очками у Aplle пока как-то не ладится. Появления этого устройства ждут довольно давно, эксперты почти каждый год составляют оптимистичные прогнозы, но пока они остаются только прогнозами. Да и очки конкурентов — это довольно громоздкие и неудобные устройства. Вероятно, именно поэтому в компании рассматривают альтернативный подход к созданию виртуальной реальности, при котором очки вообще не нужны. Новый патент под названием "Раздельное управление дисплеями электронных устройств" рассматривает возможность представления 3D-изображения на плоском экране, например, на экране iPhone или iPad. Для того, чтобы человеческий мозг воспринимал картинку, как объемную, необходимо, чтобы каждый глаз видел свое изображение. В очках это достигается путем демонстрации пользователю двух синхронизированных изображений. Как добиться того же эффекта на единственном плоском экране? Разработчики Apple предлагают делать это также, как в 3D-кинотеатрах. На дисплее предполагается параллельно демонстрировать два изображения . Для того, чтобы увидеть картинку в объеме, пользователю также, вероятно, понадобятся специальные очки, визуально разделяющие эти изображения, но легкие и не требующие никакой подзарядки.

очки виртуальной реальности Samsung Gear SM-R323
очки виртуальной реальности Samsung Gear SM-R323

Сейчас существует множество моделей VR- очков на основе смартфона и соответствующих программ для смартфона, демонстрирующих двойное изображение, делались и ранее. Но в таких случаях довольно часто возникают нежелательные эффекты, такие, как размытие движения или смещение яркости, которые вызывают неприятные ощущения, вплоть до сильного головокружения. Чтобы избежать этого, в компании предполагают создавать параллельные изображения так, чтобы пиксельные строки дисплея работали поочередно, так что на дисплее будет действительно две разные картинки, а не одна сдвоенная. Достаточно будет перевести смартфон или планшет в так называемый режим разделения экрана. Правда, существует ещё одна проблема. Iphone или iPad пока не может точно определять, в каком направлении сморит пользователь и на что он смотрит. Хотя разработки в этом направлении уже ведутся и даже имеется соответствующая патентная заявка.

разделенный дисплей
разделенный дисплей

Впрочем, то, что Apple успешно получила патент на новую технологию, автоматически не гарантирует, что в будущем появится продукт, который будет ее использовать.