Добавить в корзинуПозвонить
Найти в Дзене

Автоматическая пушка Беккера: предшественница "эрликонов".

Приветствую вас, друзья! Германское вундерваффе начала XX века, ставшее прародителем целого семейства знаменитых автоматических пушек, как наземных, так и авиационных. Конструкция пушки была разработана германскими инженерами братьями Кёндерс в 1913 году. Через год она была запатентована в Швейцарии на имя владельца завода Stahlwerke Becker AG доктора Рейгольда Беккера. А в 1915 году Беккер получил и американский патент на свое оружие - в то время США были еще нейтральной страной.В том же 1914 году пушку изготовили в металле и провели испытания. На том и остановились - военные поначалу не проявили особого интереса к новой разработке. Но уже в 1915 году ситуация резко поменялась. В июне военное министерство выработало требования к малокалиберной авиапушке, калибром не более 37 мм, массой до 70 кг, и возможностью ведения огня очередями по десять выстрелов. Тут-то и вспомнили о пушке Беккера. В качестве испытательной платформы был выбран тяжелый бомбардировщик Gotha G.1. Орудие было ус

Приветствую вас, друзья! Германское вундерваффе начала XX века, ставшее прародителем целого семейства знаменитых автоматических пушек, как наземных, так и авиационных.

Зенитный вариант 20-мм пушки Беккера, Западный фронт, 1918 год.
Зенитный вариант 20-мм пушки Беккера, Западный фронт, 1918 год.

Конструкция пушки была разработана германскими инженерами братьями Кёндерс в 1913 году. Через год она была запатентована в Швейцарии на имя владельца завода Stahlwerke Becker AG доктора Рейгольда Беккера. А в 1915 году Беккер получил и американский патент на свое оружие - в то время США были еще нейтральной страной.В том же 1914 году пушку изготовили в металле и провели испытания. На том и остановились - военные поначалу не проявили особого интереса к новой разработке.

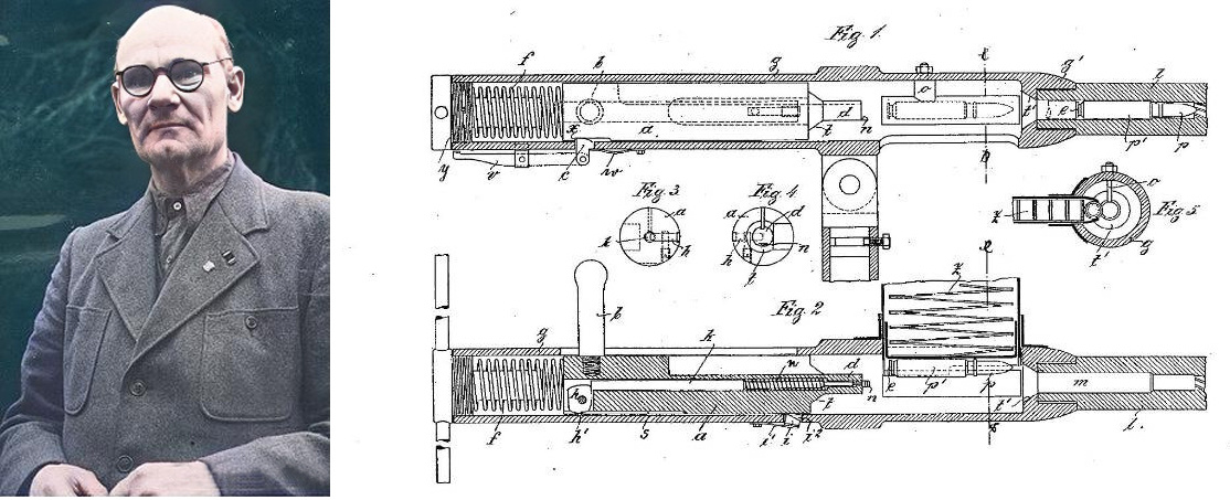
Слева Август Кёндерс (1890–1974) - инженер, работавшим в Stahlwerke Becker AG и один из создателей пушки. Справа - схема пушки из швейцарского патента 1914 года. Помимо автоматической пушки, в 1930-1940-гг. разрабатывал и ряд других видов оружия, в частности  пулемет и пистолет-пулемет собственной конструкции, противобункерный снаряд и многокаморное сверхдальнобойное орудие для обстрела Англии (т.н. ФАУ-3), винтовку и самозарядный карабин для фольксштурма. Ну а после войны запатентовал зажигалку собственной конструкции.
Слева Август Кёндерс (1890–1974) - инженер, работавшим в Stahlwerke Becker AG и один из создателей пушки. Справа - схема пушки из швейцарского патента 1914 года. Помимо автоматической пушки, в 1930-1940-гг. разрабатывал и ряд других видов оружия, в частности пулемет и пистолет-пулемет собственной конструкции, противобункерный снаряд и многокаморное сверхдальнобойное орудие для обстрела Англии (т.н. ФАУ-3), винтовку и самозарядный карабин для фольксштурма. Ну а после войны запатентовал зажигалку собственной конструкции.

Но уже в 1915 году ситуация резко поменялась. В июне военное министерство выработало требования к малокалиберной авиапушке, калибром не более 37 мм, массой до 70 кг, и возможностью ведения огня очередями по десять выстрелов. Тут-то и вспомнили о пушке Беккера.

В качестве испытательной платформы был выбран тяжелый бомбардировщик Gotha G.1. Орудие было установлено на шкворне в носовой стрелковой кабине. Итоги их оказались не удовлетворительными: пушка была сыровата и недостаточно надежна. Однако военные оценили заложенный в конструкции потенциал и отправили её на доработку специалистам государственного арсенала в Шпандау.

Общий вид бомбардировщика Gotha G.1. Справа - пушка Беккера на испытаниях.
Общий вид бомбардировщика Gotha G.1. Справа - пушка Беккера на испытаниях.

Состоявшиеся повторные испытания прошли успешнее и в июне 1916 года фирма Беккера получила заказ на производство 120 пушек. В августе прошли испытания первых пяти серийных образцов. Орудие вело огонь новыми трассирующими осколочно-фугасными снарядами. Наблюдались проблемы с подачей боеприпасов - пришлось дорабатывать конструкцию магазина. В ноябре 1916 года появилась версия Becker Type M2 на которой все "детские болезни" были устранены.

-4

По конструкции модифицированная пушка, как и ранний вариант, представляла собой автоматическое оружие, действующее на принципе свободного затвора при неподвижном стволе. Стрельба велась с открытого затвора, наподобие как у пистолетов-пулеметов: при нажатии спуска, затвор, находящийся в крайнем заднем положении, движется вперед под действием пружины, подхватывает патрон из магазина и досылает его в ствол. Ещё до полного закрытия затвора ударник накалывает капсюль инициируя его воспламенение, при этом патрон и затвор продолжают движение вперед. Затем под действием отдачи происходит движение затвора назад и цикл повторяется.

Продольный разрез автоматической пушки Becker Type M2
Продольный разрез автоматической пушки Becker Type M2

Пушка Беккера состоит из нарезного ствола с воздушным охлаждением, с цапфами по бокам, к которому прочно привинчен цилиндрическая затворная коробка с приемным окном магазина сверху и окном для выброса гильз в нижней части. Задняя часть затворной коробки имеет выемку для шептала и закрывается круглым затыльником в котором находятся спусковой механизм, предохранитель и буфер затвора. Рукоятки управления расположены как в обычном немецком пулемете; напротив одной (левой) из них находится спусковая клавиша. Во вариантах зенитном и противотанковом пушки имели две спусковые клавиши - левую для автоматического огня, правую же для одиночных выстрелов.

Ствол частично закрыт подвижной скользящей цилиндрической втулкой, внутри которой располагается возвратная пружина, которая одним концом упирается в торец втулки а другим в выступ ствола. На нижнем конце втулки, в свою очередь, имеются цапфы для двух боковых стержней, которые соединяют ее и затвор. Соединение с затвором осуществляется плоской шпонкой, которая проходит через него и выступает с каждой стороны через прорези в затворной коробке. К этим выступам крепятся две боковые рукоятки взведения затвора. При их отведении назад происходит сжатие возвратной пружины и затвор становится на боевой взвод.

Принципиальная схема действия свободного затвора с опережающим воспламенением капсюля в пушке Беккера
Принципиальная схема действия свободного затвора с опережающим воспламенением капсюля в пушке Беккера

В подвижном затворе внутри размещен беcпружинный ударник. Взвод ударника осуществляется выступом сбоку затвора, что обеспечивает его выдвижение на последних нескольких сантиметрах его хода. Таким образом, накол капсюля и воспламенение заряда происходит до полного закрытия затвора. Извлечение гильзы обеспечивается полукруглым выступом в передней части затвора. Отражатель расположен сверху и выбрасывает стреляную гильзу вниз.

Вид на затыльник пушки
Вид на затыльник пушки

Из-за верхнего расположения магазина прицельные приспособления расположены сбоку. Они включают в себя целик на кронштейне и мушку в виде кольца, удерживающего две проволочки, перекрещивающиеся в крест и небольшой внутренний круг.

В конструкции пушки реализована довольно необычная система предохранителя. В задней части патронника проходит поршень, на внешнем конце которого находится подпружиненная защелка. Правильно установленная гильза прижимает поршень вплотную к стенкам патронника, и защелка поднимается. В случае разрыва или перекоса гильзы, защелка
зацепляется за специальный крючок, прикрепленный к подвижной втулке, когда
эта деталь находится в крайнем заднем положении. Таким образом, втулка с затвором останавливаются до тех пор, пока не будет устранена неисправность.

Выстрелы к пушке Беккера: вверху - с бронебойным снарядом, внизу - с осколочным снарядом с головным взрывателем. Ниже - схема и разрез трассирующего боеприпаса и схема и разрез осколочного снаряда и взрывателя к нему.
Выстрелы к пушке Беккера: вверху - с бронебойным снарядом, внизу - с осколочным снарядом с головным взрывателем. Ниже - схема и разрез трассирующего боеприпаса и схема и разрез осколочного снаряда и взрывателя к нему.

Для стрельбы пушка использовала унитарные выстрелы калибра 20х70 мм. Гильза без закраины, диаметр её фланца меньше диаметра корпуса гильзы. Изначально в боекомплект входил только бронебойный снаряд-"болванка" массой 140 грамм. Бронебойный снаряд пробивал 22,5 мм брони на дистанции 75 метров или 16,5 мм на 300 метров.

Бронебойно-трассирующий (слева) и зажигательный с зарядом из 8 граммов белого фосфора
Бронебойно-трассирующий (слева) и зажигательный с зарядом из 8 граммов белого фосфора

В 1916 году появился трассирующий снаряд, а в следующем году новый трассирующий (с увеличенной дальностью свечения), бронебойно-трассирующий, осколочный и фосфорный зажигательный. Осколочный снаряд массой 128-137 грамм (с цинковым или латунным корпусом взрывателя)имел заряд толита массой 6 грамм и еще 0,5 грамм пикриновой кислоты в запальной трубке.

Снаряды помещались в устанавливаемые сверху коробчатые магазины емкостью 10 или 15 выстрелов. Несмотря на верхнее расположение магазины оснащались пружинным подающим механизмом.

20-мм пушка Беккера с 10-зарядным магазином в компании 7,92-мм пулемета "Парбеллум" LMG-14 в носовй кабине германского бомбардировщика
20-мм пушка Беккера с 10-зарядным магазином в компании 7,92-мм пулемета "Парбеллум" LMG-14 в носовй кабине германского бомбардировщика

В начале 1917 года между промышленниками и военным министерством было достигнуто соглашение о "разделении труда", по которому фирма Stahlwerke Becker AG продолжала делать пушки для авиации, а арсенал в Шпандау и фирма MAN, для сухопутных сил. Сухопутные войска планировали использовать пушку в качестве зенитной, а также для борьбы с новым врагом - танками.

В качестве авиационного вооружения пушка устанавливалась на бомбардировщиках и штурмовиках. В частности на нескольких двухмоторных бомбардировщиках Friedrichshafen G.III: планировалось, что на обратном пути после бомбежки самолет сможет использовать пушку для обстрела наземных целей. При этом пушка могла быть установлена как в носовой стрелковой кабине, так и в фюзеляже в т.н. "туннель "Готы", для стрельбы в направлении назад вниз.

Установка автоматической пушки Беккера в носовой стрелковой кабине Friedrichshafen G.III
Установка автоматической пушки Беккера в носовой стрелковой кабине Friedrichshafen G.III

Также пушкой Беккера оснащался штурмовая версия двухмоторного бомбардировщика AEG G.IV - AEG G.IVk. Эта модификация несла бронирование предназначалась для атак наземных целей. Пушка устанавливалась в носовой части в подвижной установке.

Некоторые жесткие дирижабли Императорского германского флота, такие как самый современный Zeppelin L 70 (LZ 112), также были вооружены пушкой Беккера.

Двухмоторный AEG G.IV с установленной в носовой части пушкой Беккера
Двухмоторный AEG G.IV с установленной в носовой части пушкой Беккера

Делались попытки установки орудия и на одномоторных самолетах, в частности на штурмовике Albatros J.1. Пушка ставилась по левому борту у кабины летнаба, в борту в специальном вырезе. Установка получилась неудачной: сектор обстрела очень ограниченным и строго по наземным целям, кроме того, много неудобства доставляла смена магазина. Было вооружено таким образом небольшое количество самолетов.

-13

Кстати говоря, "Альбатрос" был первым самолетом применившим орудие в бою. Он же "подарил" пушку союзникам: один из вооруженных ею самолетов был сбит французским истребителем. Специалисты по вооружению союзников были очень взволнованы тем, что такое современное оружие попало в их руки. Хотя самолет загорелся и все боеприпасы были уничтожены, само орудие, гибко закрепленное на одном коромысле, было спасено и продемонстрировано высокопоставленным офицерам армий Антанты.

Пушка Беккера установленная на верхнем крыле истребителя-биплана Альбатрос D II
Пушка Беккера установленная на верхнем крыле истребителя-биплана Альбатрос D II

Предполагалось использовать пушку для установки на истребители - в частности на проектировавшийся под ее установку Albatros D. VI - биплан с толкающим расположением винта. Пушка на нем устанавливалась неподвижно в носовой части фюзеляжа. Однако после аварии опытного самолета при посадке и затянувшегося ремонта дальнейшего развития этот проект не получил. Попытки же устанавливать на серийные истребители продолжались до конца войны, но так не были доведены до логического завершения.

В сухопутных войсках пушка использовалась как зенитная. Были случаи установки на бронетехнике. В частности есть фото трофейного русского бронеавтомобиля "Паккард" перевооруженного этой пушкой вместо 37-мм автомата Максима, а также трофейного бронеавтомобиля "Пежо".

Бывший русский бронеавтомобиль "Паккард" захваченный немцами в 1918 году. Основное вооружение из 37-мм автоматической пушки Максима было заменено на 20-мм пушку Беккера. Плюс добавился пулемет MG.08 со щитком на крыше кабины.
Бывший русский бронеавтомобиль "Паккард" захваченный немцами в 1918 году. Основное вооружение из 37-мм автоматической пушки Максима было заменено на 20-мм пушку Беккера. Плюс добавился пулемет MG.08 со щитком на крыше кабины.

После сражения под Камбрэ, где союзники применили более 300 танков, германское командование осознало степень опасности этих боевых машин и срочно потребовало доработать пушку Беккера в целях использования в качестве скорострельного малокалиберного противотанкового орудия. Для установки сконструировали станок-треногу, инженерам удалось довести начальную скорость снаряда до 700 м/с, стрельба велась бронебойными снарядами (стальная болванка). К каждой пушке полагался боекомплект из 1800 бронебойных мелкокалиберных снарядов, которые умещались в двадцати магазинах. Расчет каждого орудия состоял из 4 человек.

Противотанковая версия пушки Беккера
Противотанковая версия пушки Беккера

Однако выяснилось, что эффективно стрелять было возможно только одиночными выстрелами, так как стрельба в автоматическом режиме сильно затрудняла прицеливание - легкий треножный станок не обеспечивал достаточной устойчивости. Это и послужило причиной снятия пушки с вооружения - 200 уже поставленных в войска орудий в мае 1918 года были изъяты и отправлены на склады. Об этом пришлось пожалеть летом 1918 года во время наступления союзников.

Расчет противотанковой пушки Беккера демонстрирует различные положения для стрельбы из пушки Беккера установленной на треножном станке. Верху - сидя, внизу - лежа. Мешки с балластом предназначены для уменьшения подброса орудия при стрельбе.
Расчет противотанковой пушки Беккера демонстрирует различные положения для стрельбы из пушки Беккера установленной на треножном станке. Верху - сидя, внизу - лежа. Мешки с балластом предназначены для уменьшения подброса орудия при стрельбе.

В это же время арсенал Шпандау, с учетом опыта использования орудия в качестве противотанкового средства разработал новую модификацию, имевшую ствол увеличенной до 1200 мм длины под выстрел с увеличенной мощностью 20x70 BR "Erhardt" со снарядом массой 145 граммов, который развивал начальную скорость до 650 м\с. Орудие оказалось ощутимо тяжелее (42 кг. против 30 кг) и имело более низкую скорострельность 250-300 выстрелов в минуту. В серию пушка запущена не была.

Точное число произведенных пушек Беккера неизвестно: 428 было сделано по отчетам фирмы MAN, 111 штук сдал завод Беккера. 362 пушки по окончании войны попали в руки стран Антанты в качестве трофеев.

После поражения в войне Германия была лишена возможности развивать целый ряд военных технологий. В 1921 году патент на пушку Беккера был передан швейцарской фирме SEMAG, которая разработала свою версию под новый более мощный патрон 20х100 BR. В 1924 году фирма разорилась и была поглощена другой швейцарской компанией - "Эрликон" (Oerlikon), завод которой располагался в одноименном предместье Цюриха. Новые производители добавили ещё одну модификацию в линейку уже существующих, под ещё более мощный боеприпас калибра 20х110 BR. В конце 1920-х годов все три версии производимые компанией как Oerlikon F (20x70 BR), Oerlikon L(20х110 BR), Oerlikon S (20х110 BR) предлагались как во варианте авиационных, так и зенитных и противотанковых пушек. Все три версии активно продолжали совершенствоваться в течении тридцатых годов в направлении увеличения скорострельности и начальной скорости снаряда, а также снижения массы и широко использовались уже во Второй мировой войне.

Наследник пушки Беккера - 20-мм зенитный автомат "Эрликон" на британском военном корабле, 1943 год.
Наследник пушки Беккера - 20-мм зенитный автомат "Эрликон" на британском военном корабле, 1943 год.

Вот так, удачная конструкция, разработанная германскими инженерами в начале прошлого столетия хоть и прожила в первозданном виде относительно короткую жизнь, но дала многочисленное "потомство".

Источники: George M. Chinn"The Machine GunHistory, Evolution, and Development of Manual, Automatic, and Airborne Repeating Weapons. Vol.1", Anthony G. Williams, Dr. Emmanuel Gustin, "Flying Guns World War I, Development of aircraft guns, ammunition and installations 1914-32", P.M. Grosz "AEG G.IV"/"Windsock datafile 51", Anthony G. Williams "The cannon pioneers: The early development and use of aircraft cannon" (article), "Bulletin de renseignements de l'artillerie" 08/1918, А.В. Васильченко "Фаустники" в бою", В. Обухович, А. Никифоров "Самолеты Первой мировой войны", С. Кирилец ''Бронеавтомобили второго рейха'', материалы в открытом доступе в сети Интернет.

Друзья! Если понравилась статья - ставьте палец вверх, оставляйте комментарии - это поможет развитию канала ! Буду очень рад. Не забывайте подписываться на канал. И до новых встреч на "Историческом броневичке"!