Найти в Дзене

Важный параметр светодиодных светильников, о котором не все знают

Светодиодное освещение экономично и удобно в использовании. Светильники потребляют меньше электроэнергии, чем их предшественники — лампы накаливания и люминесцентные. Но всё ли так хорошо и просто на практике или есть какие-то подводные камни? Сегодня и предлагаю поговорить на эту тему.
Проблема заключается в том, что при включении светодиодного освещения выбивает автомат.
Оглавление

Светодиодное освещение экономично и удобно в использовании. Светильники потребляют меньше электроэнергии, чем их предшественники — лампы накаливания и люминесцентные. Но всё ли так хорошо и просто на практике или есть какие-то подводные камни? Сегодня и предлагаю поговорить на эту тему.

В чём проблема и кто виноват

Проблема заключается в том, что при включении светодиодного освещения выбивает автомат.

С этой проблемой сталкиваются как в жилых помещениях, так и в офисах, магазинах и прочих местах, где установлено много светильников. Причём такое случается, даже если суммарная мощность светильников лежит в пределах нескольких сотен ватт.

Это связано с тем, что при включении LED-светильников кратковременно (до 500 мкс) протекает пусковой ток в 10…100 раз больше номинального. Он обусловлен особенностям источников питания для светодиодов — драйверов, во входных цепях которых устанавливают диодный мост и фильтрующий (сглаживающий) конденсатор. Скачек тока приводит к тому, что срабатывает электромагнитный расцепитель автоматического выключателя на этой линии.

Важно! Пусковые токи не у светодиодов, а у драйверов!

Немного схем и теории

Любые светодиодные приборы состоят из двух основных элементов: источника света (матрицы из светодиодов) и блока питания.

Светодиоды работают от постоянного тока, а в электросети у нас переменный, поэтому для работы светодиодов нужно преобразовать переменный ток в постоянный, а лучше ещё и стабилизировать его. Для преобразования и стабилизации тока используют специальные источники питания — драйверы.

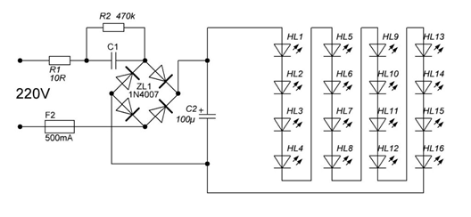
В дешёвых светильниках вместо драйверов используют гасящий конденсатор (C1), который ограничивает ток до величины необходимой светодиодам (HL1-HL16). После конденсатора устанавливают выпрямитель (ZL1) и фильтр (C2) и получают постоянное по знаку и величине напряжение.

Схема светодиодного светильника с гасящим конденсатором
Схема светодиодного светильника с гасящим конденсатором

Но в течение дня напряжение в электросети изменяется, иногда в широких пределах, и может быть как пониженным, так и повышенным. В этой схеме нет никакой стабилизации, ток на выходе изменяется в зависимости от нагрузки и от питающего напряжения, а при повышенном токе светодиоды быстро выходят из строя.

Драйвер — это импульсный источник питания, который в общем случае состоит из таких блоков:

  1. Сетевой фильтр. Он нужен, чтобы не пропускать помехи в питающую сеть, возникающие в процессе работы инвертора. В дешёвых маломощных драйверах его зачастую нет.
  2. Выпрямитель и сглаживающий фильтр. Преобразуют переменное напряжение из электросети в постоянное. На выходе фильтра постоянное напряжение равно амплитудному сетевому — примерно 320 В.
  3. Инвертор. Преобразует постоянное напряжение опять в переменное напряжение или ток, но уже высокой частоты. Состоит из силового ключа, его обвязки и схемы управления. Силовой ключ управляет током в первичной обмотке трансформатора.
  4. Импульсный трансформатор. Выполняет такую же функцию, как и сетевой железный трансформатор, но в качестве сердечника используется не железо, а феррит. Это позволяет ему работать на высокой частоте (десятки и сотни килогерц). С его помощью понижают или повышают сетевое напряжение до требуемой величины, а также обеспечивают гальваническую развязку с сетью.
  5. Выходной выпрямитель с фильтром нужен, чтобы ещё раз преобразовать высокочастотное переменное напряжение в постоянное и сгладить его пульсации.
Пример функциональной схемы импульсного источника питания
Пример функциональной схемы импульсного источника питания

Блок управления инвертором отслеживает выходное напряжение или ток и корректирует работу инвертора так, чтобы поддерживать их на нужном уровне, то есть стабилизирует выходные параметры. Помимо этого, он может выполнять функции защиты от перегрузки, короткого замыкания и других аварийных режимов, возникающих в работе источника питания.

На практике схема драйвера может отличаться, например, вместо трансформатора используют дроссели, а инвертор выполняют в виде одной детали со встроенным силовым ключом. Так как статья не об этом, предлагаю не углубляться в подробности схемотехники ИИП.

Пример схемы светодиодного драйвера
Пример схемы светодиодного драйвера

И в драйвере, и в схеме с гасящим конденсатором ток сначала выпрямляется (1) диодным мостом, а затем сглаживается ёмкостным или другим фильтром (2).

Графики напряжения выпрямителя: 1 — на выходе диодного моста без фильтра; 2 — с фильтром
Графики напряжения выпрямителя: 1 — на выходе диодного моста без фильтра; 2 — с фильтром

Разряженный конденсатор по свойствам похож на участок цепи с коротким замыканием, то есть у него очень низкое сопротивление и при подключении к сети потребляет очень большой ток, как и другие виды ёмкостной нагрузки. Отсюда и возникает пусковой ток драйверов и других ИИП.

Какие могут быть последствия

Мы уже сказали, что при групповом включении светильников могут выбивать автоматические выключатели. Например, светодиодные светильники общей мощностью 300 ватт могут запросто выключить автоматический выключатель B6, который должен выдерживать нагрузку до 1320 ватт, а пусковой ток при этом может доходить до сотни ампер, а иногда и выше.

Но если выбивающий автомат можно заменить на другой, с большим номиналом (насколько это позволяет сделать проводка), и менее чувствительной ВТХ, то вторая проблема принесёт больше неприятностей.

При включении большого тока контакты искрят. Из-за искрения контакты начинают подгорать, со временем переходное сопротивление увеличивается, и они начинают греться. В самых негативных сценариях развития этой проблемы контакты и вовсе прилипают друг к другу, проще говоря, свариваются.

Вы часто можете видеть подобное, когда включаете вилку импульсного блока питания, даже простой зарядки от смартфона в розетку, почти всегда из неё летят искры. Представьте, что то же самое происходит при каждом включении света внутри выключателя.

Если с обычными выключателями всё не так страшно, можно и заменить, то что делать с автоматикой, например, с распаянными на платах контроллеров реле? А ведь номинальный ток этих реле позволяет питать нагрузку в киловатт, а иногда и больше. Можно, конечно, установить дополнительный контактор или мощное реле. Но, скорее всего, его всё равно придётся периодически менять.

Хотя производители предупреждают. Таблица допустимой нагрузки импульсного реле от Евроавтоматики F&F.
Хотя производители предупреждают. Таблица допустимой нагрузки импульсного реле от Евроавтоматики F&F.

Что говорят производители о величине и длительности пускового тока

А здесь начинается самое интересное для проектировщика и электрика. Известные производители светодиодных драйверов в технических характеристиках указывают величину и длительность пусковых токов. Кстати, в англоязычной среде они обозначаются как «inrush current ».

Ниже приведена подборка скриншотов из инструкций драйверов мощностью около 20 ватт (±5 ватт), разных производителей, выбранных случайным образом.

В паспорте драйвера Phillips CertaDrive 19W 200-350mA 54V DS 230V в первой таблице указываются основные характеристики устройства.

CertaDrive 19W 200-350mA 54V DS 230V
CertaDrive 19W 200-350mA 54V DS 230V

Но это не всё, в конце документа отдельный лист отведён описанию пусковых токов, и в нём есть две таблицы. В первой указаны следующие параметры:

  1. Пусковой ток в пике. У рассматриваемого драйвера 17,56А.
  2. Длительность пускового тока. Под длительностью здесь понимается время от начала импульса до момента, когда величина тока снизилась в 2 раза от пиковой. У рассматриваемого драйвера 138,5 мкс, что равно 0,000139 секунды.
  3. Количество драйверов на 1 автоматический выключатель B 16. Можно подключить до 108 этих драйверов на 1 автомат.
-7

Может показаться, что проблемы как таковой и нет: «ну подключай себе 108 драйверов на одну линию, этого что мало что ли?». Но посмотрите внимательно на характеристики драйвера — номинальный ток 90 миллиампер, а пусковой – 17,56 ампер, разница в 217 раз!

Дальше идёт таблица подбора автоматов по количеству драйверу, не самая удобная, на мой взгляд.

-8

В первой колонке указан тип ВТХ, во второй — номинальный ток, а в третьей — «относительное количество драйверов в цепи». Здесь количество указано не в штуках, а в процентах от 108 драйверов. То есть если у вас автомат 6А типа В, то вы можете поставить 40% драйверов от 108, то есть 108×40%=43,2 драйвера, округлять в меньшую сторону.

Но смущает, что при пусковом токе в 17 ампер можно подключить так много драйверов, возможно это опечатка или ошибка в паспорте. Поэтому давайте посмотрим ещё несколько. Например, ещё один от Phillips, модель CertaDrive 21W 0.5A 42V 230V.

-9
Характеристики драйвера CertaDrive 21W 0.5A 42V 230V
Характеристики драйвера CertaDrive 21W 0.5A 42V 230V

Структура паспорта у него аналогична, но вот значения пусковых токов и количества драйверов на 1 автомат уже интереснее. Такой же автомат (В16) может запитать уже 40 драйверов по 21 ватту. То есть номинальная мощность нагрузки будет всего 840 ватт, а ток около 3.6 ампер, и если подключить ещё несколько штук, то начнёт выбивать автомат на 16 ампер. Неплохая разница, согласны? Но на освещение часто ставят автоматы на 6-10А, в таблице ниже указано, что к автомату В6 можно подключить 40×40%= 16 драйверов — всего лишь 336 ватт и 1,4 ампера нагрузки.

-11

И это очень любопытно, ведь пусковой ток заявлен всего 4 ампера, и длительность его в 2 раза меньше — всего 60 мкс, а драйверов можно подключить меньше, чем в предыдущем случае…

Возможно, кто-то скажет, что выбраны не «те» драйверы, и не «того» производителя. Давайте глянем на продукцию сильного конкурента в лице OSRAM. Посмотрим паспорт на OPTOTRONIC FIT D NFC FL мощностью 25 ватт. Пусковой ток у них до 16А, длительностью 240 мкс, при номинальном 0,18А. Здесь нет такой большой таблицы по подбору автоматов, указано только что к В16 можно подключить 36 драйверов, а к В10 — 22.

-12

Следующим посмотрим драйвер Arlight ARJ -KE 68300A 20W , 300mA , PFC . Прямо в карточке товара на сайте указан пусковой ток 43А, при номинальном 0,3А (пусковой в 143 раза больше), данных о возможном количестве подключённых к одной линии драйверов нет.

-13

Ну и наконец посмотрим, что нам покажет ещё один популярный бренд — Mean Well. У драйвера LPC-20-350 мощностью 20 ватт, при номинальном потребляемом токе 0,35А, пусковой составляет 70А, который через 220 мкс снижается до 50% от пикового. То есть пусковой ток в 200 раз больше номинального.

-14

Последний драйвер отлично иллюстрирует проблему, к автомату на 16А с ВТХ типа В можно подключить всего 8 драйверов, а если изменить ВТХ на тип С, то до 14 драйверов. Теперь немного посчитаем:

1. Потребляемая драйвером мощность: 230×0,35=80,5 ватт.

2. Суммарная мощность при использовании АВ С16: 80,5×8= 644 ватта.

3. Суммарная мощность при использовании АВ С16: 80,5×14= 1127 ватт.

То есть к автомату, который выдерживает 3.6 кВт можно подключить драйверов на 600-1000 ватт, притом что суммарная мощность светодиодов, которые они запитают, будет 168 и 294 ватт (обратите внимание на верхнюю часть таблицы) для первого автомата В16 и С16 соответственно.

На этом предлагаю закончить обзор характеристик продукции, думаю, вы уже убедились, что проблема существует. Но если производитель всё указывает, то просто установи нормальный автомат, чего обсуждать?

В этом и есть основная проблема – большинство производителей готовых светильников со встроенными или внешними драйверами не указывают пусковые токи и их длительность, и уж тем более не предлагают таблиц с максимальным количеством светильников на 1 автомат. Это вызывает серьёзные проблемы у проектировщиков, ведь не зная реальных параметров нагрузки, пусковых токов нельзя корректно подобрать автоматический выключатель, а без него нельзя и посчитать кабельную линию.

Способы решения проблемы

Кто виноват мы разобрались (конденсаторы в драйверах), давайте теперь поговорим о том, что делать! Есть ряд решений проблем с LED-драйверами:

  1. Повышение номинала автоматов.
  2. Установка реле и контакторов.
  3. Включение при переходе через ноль.
  4. Задержка включения.
  5. Решения по ограничению пусковых токов от радиолюбителей.
  6. Модульные ограничители пусковых токов.

Номинал автоматического выключателя

Повысить номинал автомата можно только в тех случаях, когда кабельная линия была выбрана с запасом, например, на освещение проложили 1.5 мм², и поставили АВ на 6 ампер. Если это не так, то при повышении номинала нужно использовать кабель большего сечения, что особенно заметно, особенно если подключают десятки и сотни мощных светильников и их суммарный пусковой ток очень высок. А что делать, если кабель уже выбран и смонтирован? Поэтому такой вариант не всегда возможен.

Можно ли посчитать номинал автомата при известных пусковых токах? Теоретически да, но не всё так просто. Как известно, при подключении элементов в цепь параллельно их токи складываются. Но если посчитать очевидным образом общий пусковой ток, скажем 10 светильников, с драйверами из последнего примера, то получится:

70×10=700А

Электромагнитный расцепитель автомата C 16 сработает при перегрузке в 5-10 раз от номинального тока:

16×5=80А

16×10=160

По такой логике он должен сработать уже от двух (трёх) светильников. Но в инструкции производитель «разрешает» подключать к С16 до 14 светильников, чей суммарный пусковой ток будет равен 980А, как же так?

Всё дело в их длительности, по данным производителя пусковые токи протекают 220 мкс = 0,22 мс = 0,00022 с. При этом через указанное время ток составляет уже 50% от пикового. То есть указанные 70 ампер протекают в течение ещё меньшего периода времени, возможно, даже на порядок.

А как, вернее, когда сработает автомат? Согласно время-токовой характеристике при 10 кратной перегрузке он отключится не позже чем через 0,1 секунду (или 100 мс, или 100 000 мкс), при перегрузке примерно в 100 раз (1600А), он должен сработать через 5 мс (5000 мкс). А длительность пускового тока всего 220 мкс (в 20 раз короче).

-15

Для правильного расчёта следует обратиться к журналу «Полупроводниковая светотехника» №2/2020, в котором опубликована статья «Электрические характеристики ОП со светодиодными источниками света при включении и требования к устройствам защиты сети электропитания».

Авторы этой статьи опираясь на материалы от компании ABB и другую нормативно-техническую документацию рассказали, как правильно учитывать пусковые токи и рассчитывать номиналы автоматов для светодиодного освещения. Особый интерес в ней вызывает график срабатывания автоматов ABB при импульсных токах, поэтому рекомендую ознакомиться с этой статьёй, которая, кстати, есть в свободном доступе на официальном сайте журнала.

Но если автоматический выключатель и кабель мы подобрали, что делать с выключателями и реле автоматики? Чтобы продлить их срок службы устанавливают дополнительно более мощные реле или контакторы. Но это также может полностью не решить проблему — пусковые токи как были, так и остались. Контакты как подгорали, так и будут это делать, возможно, медленнее.

Переход через ноль

Реально улучшит ситуацию использования реле, которые включают нагрузку при переходе питающего напряжения через ноль. Для проверки сказанного смоделируем цепь с выпрямителем и входной ёмкостью. Резистор сопротивлением 1 Ом будем использовать для измерения тока с помощью осциллографа. Так 1 вольт соответствует 1 амперу.

-16

Попробуем подавать напряжение при разном мгновенном напряжении начиная с момента, когда напряжение максимально, заканчивая точкой пересечения синусоидой нуля.

Как вы можете видеть, при включении нагрузки при амплитудном напряжении пиковый ток составляет 297 ампер, при подаче напряжения в моменты с меньшим напряжением ток составляет 257 и 147 ампер, а при включении с нулевым напряжением максимальный ток составил всего 10 ампер. Безусловно, это неточные значения, и алгоритмы программы внесли своё влияние, но проведённый эксперимент хорошо показывает, что чем меньше напряжение, при котором включается нагрузка – тем меньше будет ток заряда конденсатора (пусковой ток). В нашем примере ток включения при амплитудном напряжении оказался в 30 раз больше тока включения при переходе через ноль.

Из этого следует, что использование реле, включающих нагрузку при переходе через ноль, поможет снизить пусковой ток, решить проблему выбивающих автоматов, продлить жизнь контактам. Такие реле бывают электромеханическими и твердотельными. Пример электромеханического реле с коммутацией при переходе через ноль — это импульсное реле для управления освещением от компании Евроавтоматика F&F BIS -404, уверен что есть и другие варианты и от других производителей.

Вырезка из инструкции к BIS-404
Вырезка из инструкции к BIS-404

Твердотельные реле – это симисторы с необходимой для управления обвязкой, обеспечивающей возможностью простой замены электромеханического реле на твердотельное. Функция коммутации при переходе через ноль обычно объявляется в последних знаках маркировки буквой Z , например:

ZD – управление постоянным напряжением 10-30V DC;
ZA2 – управление переменным напряжением 70-280V AC.

Но у разных производителей маркировка тоже может быть разной, например, у EKF они обозначаются буквами DA и AA . Кстати, ниже вы видите диаграмму такого управления реле из каталога EKF . Как вы можете убедиться неважно, когда подан управляющий сигнал — нагрузка будет включаться и выключаться только при нуле вольт .

-19

Поэтому чтобы не путаться в маркировке лучше уточнять при покупке или изучать описание товара и инструкцию.

-20

Включение при пересечении нуля часто указывается в названии товаров в интернет-магазинах

Задержка включения

Из вышесказанного ясно, что если светильники не будут включаться все сразу, то и не будут срабатывать расцепители автоматов. Реализовать это можно с помощью реле задержки включения. Из названия ясно, что это реле, предназначенные для включения нагрузки через какой-то промежуток времени после включения.

Пример такого реле времени — ORT от IEK , с помощью которого можно настроить задержку от 0.1 секунды до 10 дней. Задержка устанавливается с помощью двух поворотных переключателей, первый задаёт предел — 1 с, 10 с, 1 мин, 10 мин, 1 ч, 10 ч, 1 день, 10 дней, а второй задаёт время, в процентах от этого предела с шагом в 10%. То есть если нужна задержка включения 5 секунд, то устанавливаете первый переключатель на 10 с, а второй на 50%.

-21

Такого диапазона и функций регулировки достаточно, чтобы настроить задержку включения светильников не всех сразу, а группами, скажем, через каждые 10 секунд. Это хороший вариант решения рассматриваемой проблемы, но его нужно учитывать до монтажа, прокладывая соответствующие количество линий. Поэтому тем, кто уже смонтировал проводку и столкнулся с проблемами – он не подойдёт.

Решения от радиолюбителей

Решить проблему можно и кустарными методами, любой ток можно ограничить с помощью сопротивления. Неважно что вы будете использовать активное сопротивление или реактивное. То есть можно просто поставить резистор сопротивлением 5-10 Ом последовательно с драйвером, но в результате на нём упадёт какое-то напряжение, соответственно на нём начнёт выделяться мощность в виде тепла.

Например, драйвер потребляет 150 миллиампер, резистор вы выбрали на 10 Ом, на нём упадёт 1.5 вольта и выделится 0.25 ватта тепла. Немного, но зачем допускать лишний нагрев в замкнутом пространстве?

Также можно использовать NTC -резисторы — это нелинейные резисторы, сопротивление которых в холодном состоянии большое, а когда они нагреваются, сопротивление снижается. Принцип работы этого решения состоит в том, что когда светильник выключен, резистор холодный и при включении ток будет низким. Резистор начнёт нагреваться от протекающего тока, его сопротивление будет снижаться. Пока конденсатор зарядится сопротивление NTC упадёт до единиц Ом и драйвер сможет работать в нормальном режиме, а падение напряжения на NTC -резисторе будет очень низким.

-22

Именно такое решение успешно используется в большинстве компьютерных блоков питания и других мощных импульсных источников питания.

Есть и другие более сложные предложения от специалистов, но какими бы удачными они были, вопрос к электрикам, как вы представляете размещать самоделку на реальном объекте у заказчика?

Модульные ограничители пусковых токов

Современная промышленность предлагает готовое решение, например:

  1. Реле ограничения пусковых токов МРП-101, МРП-108 от компании «Меандр».
  2. Устройство защиты контактов от пусковых токов MK-5-1 от компании F&F.
МРП-101 и МРП-108 от компании «Меандр»
МРП-101 и МРП-108 от компании «Меандр»

В реле от «Меандра» есть встроенный резистор ограничивающий пусковой ток и реле, которое включается с задержкой. Устройство подключается между выключателем и светильниками, а работают они следующим образом: при подаче напряжения встроенное реле разомкнуто, ток драйвера протекает через резистор и ограничивается им. Через какое-то время замыкаются контакты реле и ток уже идёт через них напрямую.

Схема подключения МРП
Схема подключения МРП

Это элегантное решение без лишних потерь в виде тепла в процессе работы светильника на внешних элементах, как было рассмотрено в предыдущем подзаголовке статьи. Ограничитель МК-5-1 от F &F , похож по принципу работы и устройству аналогичен, но позволяет подключать нагрузку с большей входной ёмкостью ( до 3000 мкФ, против 1500 мкФ у МРП).

MK-5-1 от компании F&F
MK-5-1 от компании F&F

На этом у меня всё. А вы сталкивались с описанной проблемой в статье? Делитесь своим опытом, и тем, как с ней боролись.

Алексей Бартош специально для ЭТМ