Добавить в корзинуПозвонить
Найти в Дзене
Кочетов Алексей

Ядерная Релятивистская Энергетика Острецова: Где правда?

Одной из альтернатив традиционного развития ядерной энергетической отрасли (наряду с ториевой энергетикой, технологией замкнутого ядерного цикла, гибридными (ядерно-термоядерными) реакторами и термоядерной энергетикой) является Ядерная Релятивистская Технология (ЯРТ).

Энергетика, основанная на принципах ЯРТ, представляет собой комплекс, состоящий из ядерного реактора и встроенного в него высокоэнергетического ускорителя частиц.

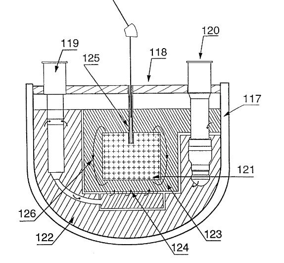
Принципиальная схема ЯРТ-реактора.
Принципиальная схема ЯРТ-реактора.

Особенностью такой технологии является то, что применяется ядерный реактор с докритической массой, то есть в нём не может идти самопроизвольная цепная ядерная реакция. Процесс запуска ядерной реакции деления обеспечивается ускорителем частиц, в результате работы которого активная зона реактора облучается высокоэнергетическими нейтронами.

ЯРТ-энергетика даёт много преимуществ по сравнению с традиционной ядерной энергетикой. Например, подобные реакторы обладают большей всеядностью - они способны работать даже на уране-238, который сегодня идёт в отходы производства.

Включение урана-238 увеличит топливную ресурсную базу в 130-140 раз! Даже по приблизительным расчётам ресурсов для эффективного развития ториевой энергетики должно хватить как минимум на 300 лет, то есть концепция ЯРТ-энергетики даёт практически неиссякаемый запас по топливу.

Ещё одно сильное преимущество ЯРТ – это выжигание (трансмутация) долгоживущих отработанных ядерных отходов. Это, одновременно с расширением ресурсной базы, решает и вопрос утилизации отработанных ядерных отходов (ОЯТ).

На выходе мы получаем так называемую ЯРТ-ОЯТ-концепцию.

В России немало усилий для популяризации концепции «ЯРТ-ОЯТ» приложил Игорь Николаевич Острецов (доктор технических наук, профессор, специалист по ядерной физике и атомной энергетике).

Некоторые особо ярые последователи этой идеи считают Острецова И.Н. создателем Ядерной Релятивистской Технологии.

Однако "Росатом" упорно игнорирует ЯРТ, и вообще считает идеи Острецова И.Н. ненаучными. Критики считают, что концепция ЯРТ-энергетики несостоятельна и не может быть реализована. Потому то этого не может быть в принципе.

Последователи же Острецова И.Н. убеждены не только в состоятельности этой идеи, но и верят в тайный заговор энергетиков, блокирующих эту супертехнологию.

Однако на самом деле неправы как последователи ЯРТ-энергетики , так и её противники.

В чём же тут дело?

Дело в том, что Острецов И.Н. не изобретал ЯРТ-энергетику. Эта концепция была известна и активна изучалась ещё на заре атомной промышленности.

На западе эта концепция называется «Субкритический реактор с ускорителем», или "Accelerator-​Driven System" (ADS).

Итальянский Нобелевский лауреат по физике Карло Руббиа в 1998 году запатентовал концепцию реактора-умножителя энергии, который, по существу, воплощает ЯРТ-ОЯТ-энергетику.

Более того, был даже построен экспериментальный комплекс «MYRRHA» с ускорителем частиц для отработки ЯРТ-концепции. Данный комплекс тестировался почти 10 лет на предмет возможности реализации ЯТР–технологии.

И вывод был получен очевидный – концепция ЯРТ энергетики вполне состоятельна и реализуема. Казалось бы, можно ликовать и праздновать победу... Но оказалось, что не всё так однозначно.

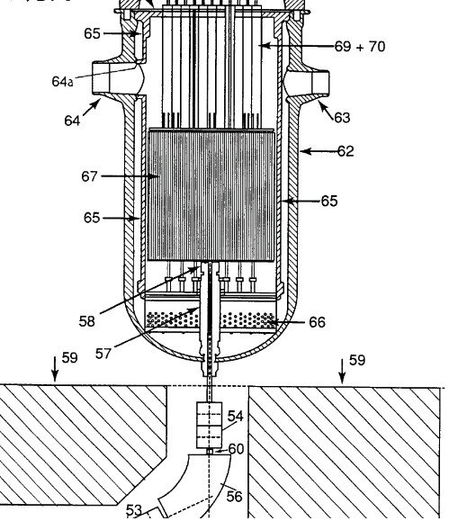
"MYRRHA" (Multi-purpose hYbrid Research Reactor for High-tech Applications) - это первая в мире крупномасштабная ускорительная система (ADS), состоящая из подкритического ядерного реактора, приводимого в движение мощным линейным ускорителем.
"MYRRHA" (Multi-purpose hYbrid Research Reactor for High-tech Applications) - это первая в мире крупномасштабная ускорительная система (ADS), состоящая из подкритического ядерного реактора, приводимого в движение мощным линейным ускорителем.

Ускоритель частиц (протонов или электронов), требуемый для эффективной работы ЯРТ, стоит в 5 раз дороже самого ядерного реактора, при этом 30% электрической мощности ядерного реактора уходит на обеспечение работы этого ускорителя.

Кроме этого, ускоритель частиц будет представлять из себя установку длиной 500 метров. Нешуточные габариты.

Всё это увеличивает стоимость ЯРТ-реактора мощностью в 1000 МВт в 8-10 раз по сравнению с аналогичной по мощности традиционной АЭС.

Такой реактор сегодня попросту экономически невыгоден, очень дорог в обслуживании и имеет очень высокую зависимость от квалификации персонала (ускоритель частиц тому способствует).

Однако, несмотря на дороговизну, сама концепция ЯРТ-энергетики выглядит соблазнительно. И к ней проявляют интерес Франция, США, Япония, Швеция и даже Германия.

"J-PARC" - Японский исследовательский комплекс с ускорителем частиц, который будет применяться в экспериментах с ADS.
"J-PARC" - Японский исследовательский комплекс с ускорителем частиц, который будет применяться в экспериментах с ADS.

Самым ярким на сегодня примером развития ЯРТ-энергетики является вышеупомянутый бельгийский проект «MYRRHA».

Проект призван продемонстрировать работоспособность реактора в составе ускорителя частиц. Работы по проекту ведутся с 1998 года.

В соответствии с планами ускоритель частиц для реактора должен быть построен к 2027 году, а сам реактор - к 2036 году. Предположительная стоимость экспериментального реактора – 2 миллиарда долларов США.

В России тоже ведутся аналогичные разработки по ЯРТ–энергетике, отличием их от западных аналогов являются не только конструктивные особенности, но и работа ускорителя на более высоких энергиях.

Но если всё так хорошо, почему же тогда работы Острецова И.Н. по ЯРТ–энергетике так критикуется не только научным сообществом в России, но и не признаются в остальном мире.

Дело в том, что за всеми видимыми преимуществами и за грандиозностью планов развития ЯРТ–энергетики скрывается одна странная особенность. Идея Острецова предполагает, что при достижении энергией ускорителя, облучающего некую мишень, определённого значения, поток нейтронов на единицу затраченной энергии будет в десятки раз больше.

Под понятием «некая» подразумевается квазибесконечная (нейтронопроизводящая) мишень.

Другими словами, протонный ускоритель мощностью в 10 МВт, имеющий энергию протонов в 10 ГэВ, будет обеспечивать энерговыделение ЯРТ-реактора в 200 МВт. То есть достигается усиление мощности в 20 раз!

"Эволюция" ускорителя элементарных частиц на обратной волне Алексея Богомолова.
"Эволюция" ускорителя элементарных частиц на обратной волне Алексея Богомолова.

Да это же просто революция в энергетике, прямо вечный двигатель второго рода! Подобный ускоритель, если его применить в качестве источника нейтронов - просто подарок научному сообществу, ведь с ним можно совершить революцию не только в энергетике, но и в медицине, материаловедении, и даже в криминалистике!

Но вот только ни расчётов, ни экспериментов, ни даже сформулированного математического аппарата, который мог бы описать эту теорию, представлено не было. Более того, нет ни одной рецензированной статьи, как от Российских научных изданий, так и от зарубежных. Это очень странно, так как за рубежом проект вызывает интерес.

Ещё лично меня интересует вот такой вопрос: а не это ли нам обещали в революционном "Ускорителе элементарных частиц на обратной волне" Алексея Богомолова?

Хочу привести выдержку из интервью Игоря Николаевича Острецова, где он говорит именно об этом ускорителе:
"Богомоловская машина была частью советского ответа Рейгану. Габаритами с железнодорожный вагон, на борту «Руслана» она становится обнаружителем ядерного оружия на большом расстоянии и может уничтожать его пучком протонов. Будь она сегодня на вооружении отечественной морской авиации, это фактически обнулило бы весь авианосный флот США".
Ну, как по мне, это словно "Teleforce"  — излучатель пучка заряженных частиц, изобретённым Николой Тесла. Его, кстати, тоже никто никогда не видел.

Где он, этот ускоритель? Где независимые повторяемые эксперименты, и вообще хоть какой-либо правдоподобный отчёт о его работоспособности? А как насчёт независимого эксперимента с якобы рабочей установкой?

Как нет? Даже посмотреть нельзя?! Опять всё сверхсекретно?

На сайте проекта "MYRRHA" опубликованы сотни научных статей и диссертаций по теме развития ЯРТ-энергетики. Вот только эти работы часто вообще противоречат доводам Игоря Острецова. Что это? Вселенский заговор против Острецова, или Игорь Николаевич, мягко говоря, заблуждается в своих выводах?
На сайте проекта "MYRRHA" опубликованы сотни научных статей и диссертаций по теме развития ЯРТ-энергетики. Вот только эти работы часто вообще противоречат доводам Игоря Острецова. Что это? Вселенский заговор против Острецова, или Игорь Николаевич, мягко говоря, заблуждается в своих выводах?

Подобный ускоритель, если всё-таки будет реализован, станет изобретением века, а его авторы будут достойны награждения нобелевскими премиями. Ведь согласно заявлением Острецова, для ЯРТ–реактора потребуется всего-навсего 50-60-метровый ускоритель вместо полукилометрового аналога за рубежом.

В общем, налицо противоречие экспериментальных и практических данных, полученных не только специалистами "Росатома", но и зарубежными специалистами, которые непосредственно развивают ЯРТ-концепцию.

Поэтому утверждать, что ЯРТ-энергетика является вымыслом - несколько опрометчиво, ибо это вполне обоснованная и доказанная концепция.

Но развивать ЯРТ–энергетику на предположениях Острецова – это всё равно, что строить ядерный реактор, который никогда не заработает.

Никто бы не выразил сомнения в адрес Острецова, если бы он основывался на независимых и повторяемых результатах экспериментов, которые признаны мировым научным сообществом. А ссылаться на гипотетический ускоритель, который по своим возможностям опережает всё, что сегодня есть в научном мире, на 100-200 лет, - НЕСЕРЬЁЗНО.

В 2017 году администрацией Президента России была предложена концепция Гибридного Термоядерного Реактора, о которой я подробнее писал в статье «Россия развивает альтернативу Термоядерному Синтезу».

Так вот, это тоже была концепция, но научно-обоснованная, с детальными расчётами и экспериментами, имеющими под собой фундаментальные научные исследования.

Именно благодаря этому менее чем за 5 лет она была воплощена в реальность.

Это к слову о том, что Россия ищет пути решения развития ядерной энергетики. И один из таких путей - развитие концепции гибридных реакторов.

П.С. Несмотря на всё это, я уважительно отношусь к личности Игоря Николаевича Острецова и его работам, в особенности, к его вкладу в работы по развитию атомной энергетики СССР и России.

================================================================

Если Вам нравится контент и тематика канала, вы всегда можете отблагодарить меня, нажав кнопку "палец вверх" (лайк) и оставив комментарий. Так вы помогаете продвижению канала. Спасибо, друзья!

С информационными источниками, которые использованы в основе публикации, можно ознакомиться в закреплённом комментарии.