Добавить в корзинуПозвонить
Найти в Дзене
ЧЗТ Магистраль

Обтюратор трубопровода: что это и где используется

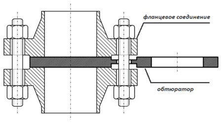
Обтюратором называют трубопроводную поворотную заглушку , которую также именуют: «очками Шмидта», реверсивной или очковой заглушкой. Конструкционно деталь представляет два диска, соединенных перемычкой: один ‒ сплошной, второй ‒ со сквозным отверстием в центре.
Трубодеталь предназначена для периодического перекрытия потока транспортируемых веществ в трубопроводе. Может находиться в двух
Оглавление

Обтюратором называют трубопроводную поворотную заглушку , которую также именуют: «очками Шмидта», реверсивной или очковой заглушкой. Конструкционно деталь представляет два диска, соединенных перемычкой: один ‒ сплошной, второй ‒ со сквозным отверстием в центре.

Трубодеталь предназначена для периодического перекрытия потока транспортируемых веществ в трубопроводе. Может находиться в двух положениях:

  • «открыто» ‒ когда на трубу установлена сквозная часть;
  • «закрыто» ‒ когда на трубном участке стоит глухой фланец.

Монтируется во фланцевое соединение, именно поэтому заглушку также называют межфланцевой. Геометрия ее поверхности полностью повторяет форму присоединяемых фланцев. Если деталь необходимо поставить между фланцев первого исполнения, то ее поверхность должна быть плоской.

Применение

Трубопроводный обтюратор используют в системах, требующих проведения периодических профилактических работ, например, опрессовки или реконструкции. Ограничения в эксплуатации накладывают отраслевые стандарты, регламентирующие производство поворотных заглушек.

  • АТК 26-18-5-93 ‒ позволяет использовать трубодетали в температурном диапазоне рабочей среды от -70 до +475 °C при нагрузках до 160 кгс/см².
  • Т-ММ-25-01-06 ‒ фитинги рассчитаны на работу при давлении до 100 кгс/см² и температуре потоков до +400 °C.

Детали применяют в химической, нефтехимической, нефтеперерабатывающей, газовой, нефтяной и других смежных отраслях промышленности, также допускается эксплуатация в сфере жилищно-коммунального хозяйства.

Производство

Изготавливают поворотные заглушки двумя методами:

  • литьем ‒ металл расплавляют и заливают в специальную форму, после застывания его доводят до конечного вида на металлорежущих станках;
  • газовой или плазменной резкой ‒ из цельного металлического листа вырезают 3 заготовки определенных размеров: кольцо, глухую часть, соединительный элемент (перемычку), которые впоследствии сваривают между собой.

Первый способ производства считается более дешевым, он исключает появление большого количества неликвидных кусков металла, но существует риск образования воздушных полостей внутри металлоизделия. Второй ‒ более надежный.

Преимущества обтюраторов

-2

Перед обычными стальными запорными элементами реверсивные заглушки имеют ряд положительных моментов:

  • обеспечивают полное перекрытие трубопроводного просвета;
  • подходят для многократного использования;
  • отсутствие движущихся элементов в конструкции увеличивает срок службы изделия;
  • невысокая стоимость;
  • небольшой вес.

Слабые стороны:

  • нельзя регулировать напор потока за счет частичного перекрытия: может находиться только в состоянии «открыто» или «закрыто»;
  • для закрытия трубного просвета требуется время: деталь сначала демонтируют, поворачивают нужной стороной, после чего снова затягивают болты (шпильки);
  • для проведения ремонтно-профилактических работ необходимо освободить трубопроводный участок от продуктов транспортировки.

Статья взята с нашего сайта ЧЗТ Магистраль.