Здравствуйте, уважаемые, читатели!
Я продолжаю тему о передающей аппаратуре, которая использовалась свободными радиолюбителями (радиохулиганами).
Кто пропустил публикацию предыдущих частей, посмотреть можно здесь: Часть 1; Часть 2
"Шарманка"
"Шарманка" ― это жаргонное название радиопередающей приставки, которая использовалась совместно с ламповой радиолой, приёмником, магнитофоном или усилителем. Изготавливалась, как правило, всего лишь на одной радиолампе. Бытовая ламповая аппаратура применялась для питания и модуляции сигнала.
Порой радиолюбители были настолько юными, что достаточным багажом знаний ещё не обладали, но паяльник в руках держать уже умели (всё это благодаря техническим кружкам, которые работали при "Дворцах пионеров" и "Станциях юных техников", и было это всё бесплатно). Схемы "шарманки" перерисовывались из тетради в тетрадь, а о методике настройки передающего устройства особо не задумывались, "работает и ладно".
Поскольку методикой настройки пренебрегали, то такие передающие устройства создавали в эфире массу помех, и не только в том диапазоне частот, где проводилась радиосвязь. Кому-то из соседей помехи мешали смотреть телевизор, кому-то слушать радиопередачи по приёмнику и, порой можно было услышать, как они возмущаются: "...включил свою шарманку...". Возможно, так и появилось понятие ― "шарманка".
Кто и когда первым применил техническое решение по подключению передающей приставки к бытовой аппаратуре неизвестно.
Но подобное схемное решение можно увидеть в журнале Юный техник за 1957 год №4 (Рис.1)
Была опубликована конструкция УКВ-приставки, которая превращает любой радиовещательный приёмник или усилитель, имеющий на выходе лампу 6П6С (либо 6П3С, или 6Ф6С), в телефон без проводов. Она очень просто устроена и собирается на одной лампе. Её может построить любой начинающий радиолюбитель.
Должен заметить, что в журнале Юный техник выпуска 50-х и 60-х годов можно встретить не мало схем простых радиопередающих устройств.
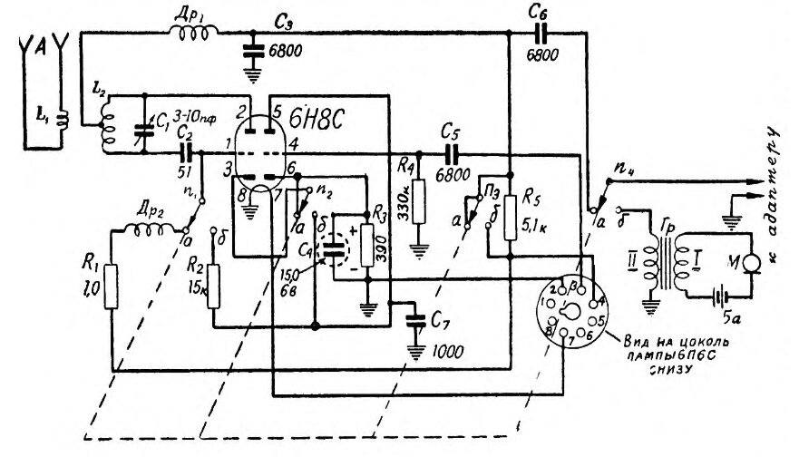
Так же в журнале Радио за 1957 год №2 была напечатана статья: "УКВ приставки". (Рис. 2)
Передающая приставка представляла собой одноламповый генератор, собранной по схеме индуктивной трёхточки на лампе 6П6С в триодном включении. В качестве модулятора используется выходная лампа приёмника (чаще всего лампы типа 6П6С, 6Ф6С и 6П3С, имеющие одинаковые цоколёвки). Питание приставки производится от приёмника через переходную колодку. Правильно собранная приставка работает сразу без дополнительной настройки. Для включения приставки нужно вынуть выходную лампу приёмника, вставить её в переходную колодку, которую затем вставить в панельку выходной лампы.
Поскольку техническому творчеству радиохулиганов не было предела, то создавались приставки для работы на "пионерском диапазоне". За основу брались схемы простых передатчиков диапазона 160 метров. Знания в постройке простых передающих устройств "черпались" из технической литературы выпуска начиная с 30-х годов (для примера могу привести: "Справочник радиолюбителя" издательство НКПТ Москва - 1931 г.; "Радиотехника" военное издательство - 1946 г.; "Ламповые генераторы и передатчики" Воениздат - 1938 г.; ну и конечно ― серия книг "Массовая радио библиотека").
Поскольку большая часть схем простых радиопередающих устройств строилась на радиолампе 6П3С, то нет ничего удивительного, что она была принята радиохулиганами, как должное.
Как итог ― две традиционные схемы "шарманки". (Рис. 3)
Схема "шарманки" представляет собой электронный генератор незатухающих колебаний, который состоит из радиолампы и колебательного контура, в качестве источника питания и модулятора используется бытовая радиоаппаратура. Катушка индуктивности колебательного контура подключается к схеме в трёх точках: сетка - катод - минус источника питания ("катодное включение" Рис. 3а) и анод - сетка - плюс источника питания ("анодное включение" Рис. 3б). Поэтому такая схема и получила название трёхточечной. Это две базовые схемы.
В интернете, да и в печатных изданиях можно встретить что-то похожее, но с небольшими отличиями ― это уже производные от базовых схем. Так же можно встретить схему генератора с индуктивной связью между анодным контуром и цепью сетки, её рассматривать однозначно не стоит, поскольку она имеет большие недостатки.
Продолжение следует...
В следующей части будет рассмотрен принцип работы "шарманки" и назначение элементов.
Моя библиотека:
Юный техник 1957 год №4 взять почитать
Радио 1957 год №2 взять почитать
"Справочник радиолюбителя" - 1931 г. взять почитать
"Радиотехника" - 1946 г. взять почитать
"Ламповые генераторы и передатчики" - 1938 г. взять почитать
Фильм "История радиолюбительства" смотреть
Если не хотите пропустить публикацию, подпишитесь на канал.
