Найти в Дзене
ProZASHITA

Советы профессионалов по выбору фаркопа

Наша статья совмещает в себе полезную информацию и советы тех, кто работает с фаркопами разных производителей.
Оглавление

Приближается весенне-летний сезон, а вместе с ним открывается много возможностей для путешествий: дача, рыбалка, выезд на природу или шашлыки. Все это ставит перед автолюбителями важный вопрос: “какой фаркоп выбрать?” Профессионалы нашего сервиса ProZashita расскажут о том, как сделать этот выбор осознанно и правильно.

Фаркоп , если говорить простым языком, - это тягово-сцепное устройство ( ТСУ ), позволяющее буксировать на автомобиле различные прицепы. Несмотря на кажущуюся легкость, в выборе фаркопа существует несколько важных нюансов. И если раньше фаркоп можно было считать предметом неоправданно дорогой роскоши, что вынуждало автолюбителей самостоятельно конструировать похожие устройства, то на сегодняшний день рынок полон качественными и доступными заводскими устройствами от разных производителей.

Установленный фаркоп
Установленный фаркоп

Подготовка к покупке

Прежде, чем приобрести фаркоп, стоит обратить внимание на то, что непосредственно повлияет на сам выбор, а заодно сузит круг из десятков вариантов.

Очень важно собрать всю доступную информацию об автомобиле:

  • Модель,
  • Марка,
  • Год выпуска ( фаркоп может не подойти, если годы выпусков автомобиля и устройства будут различаться ),
  • Максимальный предел грузоперевозки,
  • Привод (передне- или заднеприводный),
  • Тип коробки передач.

А также изучить характеристики прицепа:

  • Тип кузова,
  • Вес,
  • Предельные показатели грузоподъемности,
  • Размер разъема и муфты,
  • Наличие страхующих цепей.

Определить основной тип нагрузки – вертикальная или горизонтальная.

Купить, сделать самому или оставить заводской фаркоп?

На сегодняшний день заводские фаркопы, изготовленные по всем стандартам и прошедшие определенные тесты, набирают все большую популярность. В прошлом многие автолюбители предпочитали конструировать механизм самостоятельно из подручных материалов. Стоимость фаркопов стала более приемлемой, а качество возросло. Сейчас приобрести готовый фаркоп, подходящий подо все необходимые требования, гораздо выгоднее, чем тратить силы, время и нервы на самодельный механизм. Кроме того, многие марки автомобилей комплектуют заводским фаркопом. Но, как правило, такое устройство рассчитано на вес не более 500 кг. с учетом прицепа. А этого зачастую недостаточно.

Так какой фаркоп выбрать?

Любому автолюбителю не составит никакого труда отыскать как универсальный заводской механизм, так и модифицированный для использования на конкретных автомобилях.

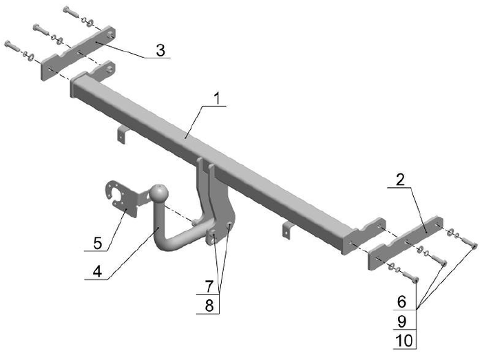
Возможная схема сборки фаркопа
Возможная схема сборки фаркопа

Устройство фаркопа

Различия начинаются уже в технологическом исполнении, разнообразие которых позволяет установить фаркоп на автомобили разных марок и типов кузовов.

Некоторым людям свойственно ошибочное понимание фаркопа. Они думают, что это просто крюк, к которому крепится прицеп. Но действительно важные различия находятся во внутреннем устройстве фаркопа, крепящееся к прочной несущей балке. Именно от этих различающихся факторов зависят качественные характеристики.

Вероятно, самой важной характеристикой фаркопа является его грузоподъемность – далеко не каждое устройство подойдет для нужных именно вам целей. Так, фаркоп, приспособленный для перевозки мотоцикла не подойдет для буксирования трейлера.

Однако абсолютное большинство производителей используют всего четыре элемента: рама, кронштейн или крюк, сцепной шар и розетка для подключения светотехники прицепа к электросети автомобиля. Для того, чтобы обезопасить тяжеловесные прицепы прицепной крюк изготавливают из прочной нержавеющей стали или титана.

Классификации фаркопов

Несмотря на кажущуюся легкость, знать особенности конструкции фаркопа очень важно. Этот фактор влияет на удобство эксплуатации, а также на необходимость более частых проверок исправности механизма.

В настоящее время можно выделить следующие виды соединения фаркопов :

● Болтовое соединение требует регулярного контроля затяжки крепежных элементов. Неоспоримым преимуществом данного соединения является долговечность и простота в эксплуатации. Исполь зуется при несъемном креплении фаркопа.

● Монолитное (сварочное) не требует столь частых проверок затяжки крепежных элементов и сохраняет удобство использования. Однако, этот вид соединения страдает от коррозии металла, а также швы начинают быстро разрушаться.

Три категории в зависимости от способа крепления фаркопа к автомобилю :

● Съемный фаркоп.

Благодаря тому, что крюк крепится к платформе специальным запорным устройством, последующее снятие и замена крюка проходят просто и очень быстро.

● Несъемный фаркоп.

Является самой бюджетной категорией. Эта категория отличается своей простотой и надежностью. Единственным действительно весомым недостатком является невозможность отсоединения крюка без замены определенных элементов рамы автомобиля.

● Условно-съемный фаркоп.

Крюк крепится при помощи прочных болтов. Это позволяет обеспечить прочность механизма, а также позволяет с легкостью снимать крюк в случае необходимости.

Типы фаркопов по их грузоподъемности (горизонтальное тяговое усиление):

● Малые способны буксировать до 1,5 т. Ставятся на легковые автомобили или компактные кроссоверы.

● Средние способны буксировать до 2,5 т. Подходит для средних и больших кроссоверов, внедорожников и минивэнов.

Большие способны перевозить до 3,5 т. Подходят для тяжелых внедорожников, микроавтобусов и спецтехники.

Фаркоп вблизи
Фаркоп вблизи

Основные типы фаркопов

Крайне важно знать о типах фаркопов, поскольку это напрямую влияет на то, какой фаркоп выбрать.

На сегодняшний день существуют «европейский» или «американский» типы.

«Европейский » отличается выполнением крюка по единым стандартам в виде небольшой металлической скобы с шаром диаметром в 50 миллиметров. Это значительно упрощает жизнь конечному пользователю. Данные стандарты позволяют использовать многие прицепы без необходимости смены фаркопа. Главное, чтобы крепление прицепа соответствовало диаметру шара.

«Американский » фаркоп оснащен квадратным сечением, диаметр которого несколько больше – 50,8 миллиметров, что затрудняет крепление некоторых прицепов.

Если смотреть на опыт, то можно обратить внимание на то, что россияне предпочитают «европейцев». И все же все популярнее становятся «американцы», позволяющие приобрести дополнительные кронштейны и использовать их, когда нужно. Также «американцу» можно установить какой-нибудь аксессуар вместо шара.

Электрика для фаркопа

Многие автолюбители, задумываясь о приобретении фаркопа, не уделяют должного внимания электрике. Некоторые компании могут воспользоваться этим незнанием, продавая ненужную покупателю электрику. И хотя кажется, что этот вопрос имеет минимальный вес, все же стоит уделить несколько минут и разобрать этот вопрос.

Схематическое изображение соединений
Схематическое изображение соединений

Типы разъемов розеток фаркопа.

Первым делом стоит разобраться в том, как именно происходит подключение электрики. И ответ очень прост: в мире существует три стандарта подключения. В Европы и России встречается два типа - 7- и 13-контактное. Американские стандарты отличаются. Преимущество 7- и 13-контактных подключений заключается в наличии переходников от одного к другому и наоборот, а вот Американское подключение подобными переходниками не снабжается. И в случае использования этого подключения, если потребуется его заменить, то придется менять всю электрику.

Рассмотрим варианты, которые наши сотрудники считают наиболее универсальными и предпочтительными:

● 7-контактное подключение (7pin) можно назвать наиболее популярным. Оно используется для подключения обыкновенных прицепов, а функции просты: передать стандартный набор сигналов задних фонарей автомобиля на фонари прицепа.

● 13-контактное подключение (13 pin) используется реже, т.к. к нему прибегают для подключения более сложных прицепов. Помимо стандартных сигналов также передает другие, в том числе для питания дополнительных приборов.

Оригинальная электрика фаркопа

Особенностью штатной электрики (ее также называют оригинальной) является подключение в специально предназначенные разъемы автомобиля (могут быть не во всех автомобилях), не затрагивая электропроводку и не создавая причин для снятия автомобиля с гарантии. Штатную электрику можно разделить на два вида:

● на простую электрику , которую устанавливают на автомобили без сложных бортовых компьютеров и систем диагностики задних фонарей на предмет неисправностей. Несомненным преимуществом простой электрики является легкость подключения без дополнительных блоков к разъемам задних фар или к специальному разъему.

● на сложную электрику , которая используется в американских автомобилях со сложными бортовыми компьютерами и системой диагностики задних фонарей на предмет неисправностей. Подключение происходит при помощи блока питания, который перенаправляет сигнал с задних фонарей автомобиля на прицеп, а также активирует системы безопасности. Благодаря блоку системы автомобиля способны определять состояние прицепа и будут оповещать о неполадках.

Универсальная электрика фаркопа

Универсальная электрика тоже подразделяется на:

обычную электрику ставят в автомобили без сложных бортовых компьютеров и систем диагностики задних фонарей на предмет неисправностей. Подключение происходит также, как и у простой штатной электрики, но с использованием обжимных клипс.

универсальные блоки согласования используются для установки в автомобили со сложными бортовыми компьютерами и системой диагностики задних фонарей на предмет неисправностей. Блок согласования подключается также как и обычная универсальная электрика, но дополнительно требуется подключение к аккумулятору или питающему проводу. Благодаря блоку бортовой компьютер не чувствует никаких потерь в электроэнергии, а задние фары прицепа получают энергию от самого блока. Но у этой системы есть и свои недостатки: при подключении прицепа не активируется режим буксировки прицепа, а также не работает контроль состояния электрооборудования прицепа.

Рекомендации от профессионалов

1. При выборе фаркопа обязательно учитывайте конструктивные особенности автомобиля.

2. Несъемный фаркоп стоит выбрать, если планируется постоянная эксплуатация прицепа.

3. В случаях, если прицепом пользуются редко (до нескольких раз в год), то стоит обратить внимание на съемный или условно-съемный фаркопы. При этом его следует снимать на период, когда он не нужен. Это позволит дольше сохранить металл от повреждений и продлит срок эксплуатации устройства.

4. Нельзя забывать о весе буксируемого прицепа и классе автомобиля. Выбирать стоит только тот фаркоп, который возможно использовать на автомобиле и который справится с необходимыми грузами.