Добавить в корзинуПозвонить
Найти в Дзене
⚠️ Инженерные Знания

Чем прочность отличается от твёрдости

Почему прочность и твёрдость - это совершенно разные понятия? Когда уместно использовать слово твёрдость, а когда прочность и как научиться их не путать.

Очень часто мы путаем принципиально разные физические понятия. Так в голове перемешиваются масса и вес, сила тяжести и вес и другие важные штуки, которые в целом-то, имеют совершенно разную природу и логику существования.

Тут есть и прочность, и твёрдость
Тут есть и прочность, и твёрдость

Аналогичная проблема наблюдается и когда мы разговариваем про механические характеристики материала или какого-либо изделия.

Бывает, что в разговорах можно услышать, как путаются твёрдость и прочность. Путать их также неправильно, как путать огурцы и яблоки. Ведь мы не делаем салат с яблоками там, где нужно добавлять огурцы. Но при этом весьма активно говорим про твердость, когда уместно употреблять термин прочность. Использование этих слов не к месту создает кашу в понимании физики происходящих процессов.

Твёрдость
Твёрдость

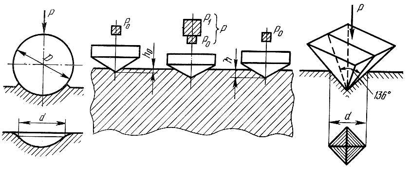
Твёрдость - это характеристика, используемая как способ описать образец с точки зрения ряда механических факторов. Величину эту придумали для того, чтобы можно было ориентироваться в многообразии свойств материалов. Она описывается, как способность образца сопротивляться внедрению тела, называемого индентор.

Твердость важна, когда мы говорим о процессах обработки заготовок резанием (резец всегда должен быть твёрже, чем обрабатываемый образец), о выборе материалов для пар трения (твердый должен крутиться по мягкому), о заточке инструмента (только твердое сможет точить более мягкое) и в подобных случаях. Это свойство неправильно сравнивать с прочностью, а уж тем более ставить синонимами.

Прочностью в механике называют свойство материалов сопротивляться разрушение под действием напряжений.

Слово "напряжений" в данном случае мы можем заменить словом нагрузка для простоты понимания. Получим, что прочностью называется способность палки не ломаться тогда, когда мы пытаемся её сломать.

Измерение прочности на изгиб
Измерение прочности на изгиб

О прочности уместно говорить, когда мы обсуждаем способность материала не ломаться. Это важно, когда мы, например, описываем велосипедную раму и отмечаем её способность выдержать без поломки прыжок велосипедиста на трамплине. Правильно будет сформулировать это так, что прочность рамы высокая.

В целом-то, и эта характеристика, аналогично твёрдости, используется для описания свойств материалов и попытки как-то всё это систематизировать. Но прочность ощутить гораздо легче, чем твердость. Так, ощутить твердость качественным методом мы не можем, поскольку нужно проводить эксперимент, соответствующий описанию твердости - взять твердомер, индентор, внедрять его в образец и сравнивать косвенные факторы. Почувствовать же прочность вполне может получиться. Берем две разные палки и ломаем, а заодно смотрим, в чем разница их реакции и какую палку сложнее будет сломать.

Соответственно, нельзя использовать слово твёрдость, там, где логично использовать понятие прочность. Например, сказать, что автомобильная рессора не ломается, потому что она твёрдая - это совсем неправильно. Твердость тут могла бы характеризовать лишь косвенные признаки. Скажем, если рессора твердая, то она, вероятнее всего, и хрупкая. Но правильно было бы говорить, что рессора не ломается, потому что она прочная.

Наука
7 млн интересуются