Найти в Дзене
Магомед Магомедов

Ford придумал, как заливать «омывайку», не открывая капот.

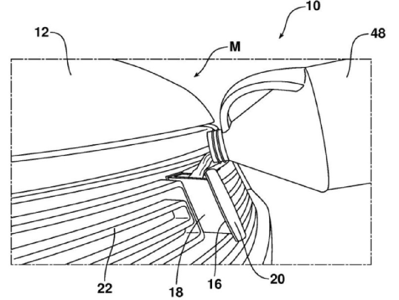
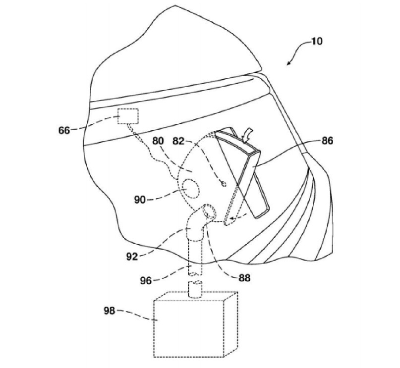
Инженеры компании Ford придумали оригинальное решение, которое, в случае его реализации, может быть очень актуально в России (особенно осенью). Автопроизводитель решил избавить водителей от необходимости открывать капот при заливке жидкости для стеклоочистителей. Решение, как и все гениальное, оказалось простым. Ford предложил заливать «омывайку» через эмблему на капоте. Соответствующая заявка

Инженеры компании Ford придумали оригинальное решение, которое, в случае его реализации, может быть очень актуально в России (особенно осенью). Автопроизводитель решил избавить водителей от необходимости открывать капот при заливке жидкости для стеклоочистителей. Решение, как и все гениальное, оказалось простым. Ford предложил заливать «омывайку» через эмблему на капоте. Соответствующая заявка уже подана в патентное бюро.

Судя по патентным изображениям, предполагается, что передний шильдик будет выполнять сразу две функции: запирающего устройства капота, а также горловины для заливки «омывайки».

Так, чтобы разблокировать замок капота, владельцу автомобиля необходимо будет сдвинуть эмблему вниз. Залить жидкость в бачок омывателя можно будет просто потянув эмблему на себя.

Отметим, что на патентных изображениях в качестве примера приводится эмблема марки Lincoln. Впрочем, совсем не обязательно, что запатентованная технология в итоге будет реализована.

Между тем, идея выглядит крайне практичной. Особенно, если автомобиль эксплуатируется в экстремальных условиях и капот постоянно грязный.

-2