Найти в Дзене

Двухтактный ламповый усилитель своими руками!

Выходная мощность усилителя равна 6 вт при коэффициенте нелинейных искажений не более 5%. Чувствительность усилителя 200 мв. Усилитель рассчитан на воспроизведение полосы частот от 20 до 10 000 гц и имеет раздельные плавные регуляторы тембра. Диапазон регулировок на нижних частотах (на частоте 50 гц) равен ±6 дб, а на высших частотах (на частоте 5 000 гц)—20 до +6 дб. Усилитель прост по схеме и

Выходная мощность усилителя равна 6 вт при коэффициенте нелинейных искажений не более 5%. Чувствительность усилителя 200 мв. Усилитель рассчитан на воспроизведение полосы частот от 20 до 10 000 гц и имеет раздельные плавные регуляторы тембра. Диапазон регулировок на нижних частотах (на частоте 50 гц) равен ±6 дб, а на высших частотах (на частоте 5 000 гц)—20 до +6 дб. Усилитель прост по схеме и выполнен всего на трех пальчиковых лампах 6Н2П и 6П14П (2 шт.).

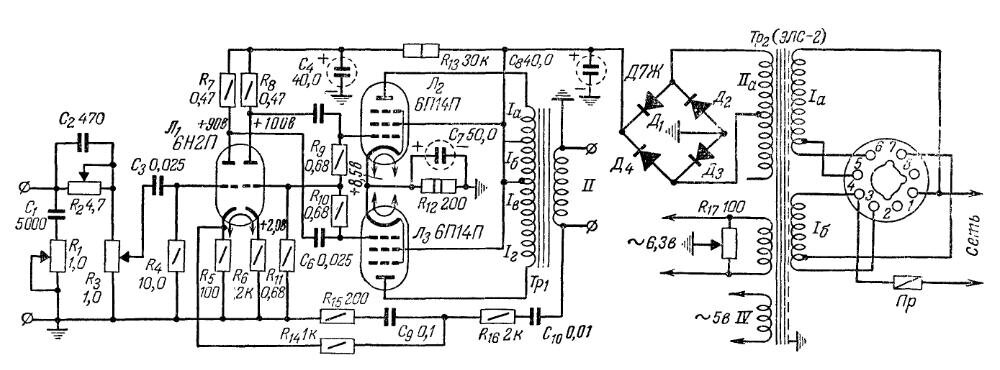
Схема усилителя. Принципиальная схема усилителя приведена на рис. 1. Усилитель имеет один каскад предварительного усиления, фазоинвертор и оконечный двухтактный каскад.

Рис.1. Принципиальная схема простого двухтактного усилителя

Напряжение сигнала через регуляторы тембра и регулятор громкости поступает на сетку левого по схеме триода лампы Л1. Усиленное первым каскадом напряжение сигнала поступает на сетку одного плеча выходного каскада — лампу Л3. С сопротивления R11, которое является частью сопротивления утечки лампы Л3, напряжение сигнала поступает на сетку другого триода лампы Л2 (правого по схеме). С анода этого триода напряжение сигнала, повернутое на 180° относительно напряжения на сетке триода, подается на сетку лампы другого плеча оконечного каскада — лампу Л2.

Регулировка тембра в усилителе осуществляется следующим образом: с помощью частотно-зависимой отрицательной обратной связи в усилителе создаются подъемы на крайних частотах. С помощью регуляторов тембра можно ослаблять эти подъемы. Напряжение обратной связи подается с вторичной обмотки выходного трансформатора Тр1 в цепь катода триода каскада предварительного усиления, через цепь R14R15R16C9C10.

Регулятор тембра высших частот состоит из конденсатора С1 и потенциометра R1. В верхнем по схеме положении движка потенциометра, когда движок потенциометра R1 (регулятор тембра высших частот) находится в нижнем, а движок потенциометра R2 (регулятор тембра низких частот) в левом по схеме положении, частотная характеристика имеет подъемы на крайних частотах. При других крайних положениях движков этих потенциометров частотная характеристика имеет завалы на крайних частотах. Питание усилителя осуществляется от выпрямителя, выполненного на диодах типа Д7Ж. Для уменьшения уровня фона накал ламп заземлен через среднюю точку потенциометра R17.

Фильтр выпрямителя состоит из конденсаторов С4, С8 и сопротивления R13. Напряжение питания на оконечный каскад подается с первого конденсатора фильтра С8.

Конструкция. Усилитель смонтирован на шасси размерами 50х120х200 мм, изготовленном из дюралюминия толщиной 3 мм. Расположение деталей на шасси усилителя видно из рис. 2.

-2

Рис.2. Конструкция простого двухтактного усилителя

Детали. Выходной трансформатор Тр1 выполнен на сердечнике из пластин УШ-19, толщина пакета пластин 25 мм. Пластины сердечника трансформатора собираются вперекрышку. Первичная обмотка трансформатора Тр1 имеет 3 000 витков с отводом от середины, намотанных проводом ПЭЛ 0,16. Вторичная обмотка II (рассчитана на подключение двух параллельно соединенных громкоговорителей типа 5ГД-14) имеет 46 витков провода ПЭЛ 1,2. Вместо указанного трансформатора можно применить выходной трансформатор от радиоприемника «Фестиваль», «Люкс» или «Дружба».

Силовой трансформатор Тр2— типа ЭЛС-2, у которого для питания анодных цепей используется одна половина повышающей обмотки. Можно также использовать силовые трансформаторы от указанных выше радиоприемников, причем в этом случае диоды типа Д7Ж можно заменить селеновым выпрямителем типа АВС-120-270

Всем пока!