Добавить в корзинуПозвонить
Найти в Дзене

iPhone Fold 2021?

По последним сведениям, полученным от Bloomberg, Apple начала раннюю разработку складного iPhone.

Вот уже несколько лет периодически возникают слухи об iPhone Fold. Основываются они преимущественно на многочисленных патентах на гибкие дисплеи, гибкий корпус и шарнирные соединения различных типов.

чертеж к патенту на гибкий дисплей
чертеж к патенту на гибкий дисплей

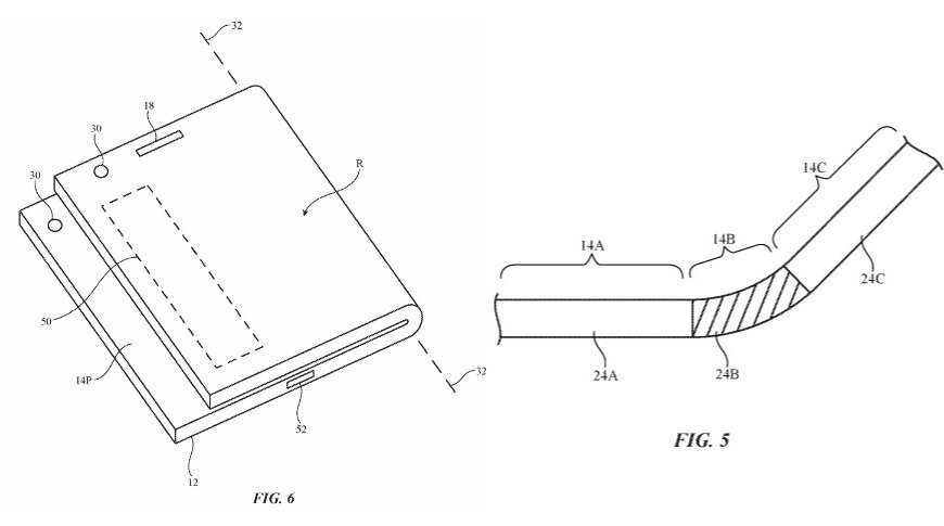
чертеж к патенту на шарнирное соединение
чертеж к патенту на шарнирное соединение

По последним сведениям, полученным от Bloomberg, Apple начала раннюю разработку складного iPhone.

предполагаемый дизайн iPhone Fold
предполагаемый дизайн iPhone Fold

В настоящее время компания разработала прототип складного экрана для внутреннего тестирования, но дальше дисплея работа не продвинулась. Как сообщается, складной экран Apple основан на «почти невидимом шарнире, а электроника расположена за дисплеем». Предполагается, что это будет сверхтонкий дисплей OLED, обладающий определенной гибкостью. Когда OLED впервые появился в мобильном пространстве, производители продемонстрировали дисплеи, которые можно складывать или сворачивать с помощью этой технологии.

По слухам, Apple уже начала тестирование двух типов складывания, сопоставимых с Samsung Galaxy Fold (горизонтальное сгибание) и Samsung Galaxy Flip (вертикальное сгибание).Оба прошли начальные испытания, но в конечном итоге Apple выберет только один.

Samsung Galaxy Z Flip
Samsung Galaxy Z Flip

Что касается размеров экрана, то обсуждаются самые разные варианты, в том числе приспособление, которое позволит разворачивать его до размеров дисплея с диагональю 6.7“, как уiPhone 12 Pro Max. Современные складные телефоны имеют развернутые экраны от 6 до 8 дюймов. Другие компании, включая Microsoft, недавно выпустили устройства с видимыми шарнирами, разделяющими две отдельные панели.

Однако у складных смартфонов две проблемы. Во-первых, уязвимое шарнирное соединение. Каким бы оно ни было, открытым или спрятанным за гибким дисплеем, вероятность дополнительного износа и повреждений в месте сгиба весьма велика. Другим недостатком складного устройства является его толщина в закрытом состоянии. Удвоенная толщина даже очень тонкого дисплея может создать проблемы при попытке поместить его в карман или в сумку.

Так что, увы, гибким дисплеем, кажется, пока всё и ограничивается. Bloomberg отмечает, что у Apple еще нет даже полноценного прототипа телефона, и указывает, что складной iPhone появится только через несколько лет. В 2012 году пользователи это устройство не увидят. Да и вообще, 2021 год не обещает ничего особенно нового. Аналитики утверждают, что он будет что называется годом S, с небольшим количеством изменений дизайна и минимумом новых функций по сравнению с линейкой iPhone 12. Правда, есть возможность, что вернется сканер отпечатков пальцев на дисплее.