Найти в Дзене

ТРАНЦЕВЫЕ ПЛИТЫ

О транцевых плитах.
Если катер начинает двигаться с небольшой скоростью, постепенно увеличивая ее, то он не может обладать оптимальной формой подводной части для каждого значения скорости. Поэтому катера следовало бы снабжать устройствами, с помощью которых можно было бы приспособить форму днища к соответствующему состоянию движения и дифференту. Естественно, при этом думают не о корпусе катера

О транцевых плитах.

Если катер начинает двигаться с небольшой скоростью, постепенно увеличивая ее, то он не может обладать оптимальной формой подводной части для каждого значения скорости. Поэтому катера следовало бы снабжать устройствами, с помощью которых можно было бы приспособить форму днища к соответствующему состоянию движения и дифференту. Естественно, при этом думают не о корпусе катера из резины, а также не  об эластичной  изменяющейся   конструкции.
    Для изменения формы днища применяют подпорные клинья и транцевые плиты. Подпорные клинья служат для постоянного изменения формы днища катера, например для того, чтобы путем исправления кормовой части днища добиться повышенной скорости хода. С помощью транцевых плит достигают точного приспособления к изменяющимся различным скоростям, влиянию волнения,  переменной нагрузке катера.
    Подпорные клинья. С тех пор как появились мощные двигатели и высокие скорости, улучшения формы днища добивались путем применения подпорных клиньев под днищем. Тихоходное судно требует плавного, «закругленного» обтекания кормы, быстроходное же развивает хороший ход тогда, когда кормовая оконечность  выполнена   плоской без   какого-либо  закругления.
На обоих рисунках видна конструкция подпорных клиньев под кормовой частью катера с округлыми обводами, а также катера с V-образными обводами. Подгонка таких подпорных клиньев к днищу катера с закругленной формой шпангоутов  несколько  сложней.
    В преобладающем большинстве случаев к днищу подгоняют и крепят при помощи болтов деревянные подпорные клинья. Их длина колеблется между 0,30 и 1,50 м и заканчивается у транца в большинстве случаев высотой от 20 до 80 мм в зависимости от размеров катера и необходимого изменения дифферента. Иногда эффективные подпорные клинья заканчиваются в корме высотой, равной 200 мм. Часто бывают удивительные результаты! Высоко задранная в небо носовая часть судна благодаря подъему кормовой части приходит в нормальное положение, всегда связанное со значительным выигрышем в скорости.
    Успех, достигнутый при установке подпорных клиньев, выигрыш в скорости и улучшенный дифферент ЯЕЛЯЮТСЯ бесспорным доказательством того, что выполненная форма днища не соответствует   ожидаемой   скорости.   Предусмотреть   поведение движущегося катера еще в стадии проектирования с помощью теоретического чертежа — это искусство, которому не учат. Оно приобретается многолетним опытом и помещенная в начале этой книги глава о соответствии формы катера собственной волне преследует цель избавить конструктора и строителя от меньших или больших ошибок. С ее помощью можно разобраться с динамикой быстроходного катера.
    Если  при  установке подпорных клиньев различной высоты были получены благоприятные результаты, но необходимо не медленно заново разработать теоретический чертеж катера, внеся изменения в форму днища. Накопленный опыт в изменении формы днища поможет в следующем проекте придать корме лучшую форму без установки подпорных клиньев. Так как входная кромка подпорного клина благодаря своему излому вызывает внезапное изменение направления потока, то улучшенной формой днища всегда достигают еще лучших результатов.
Очень трудная и смелая операция — много раз поднимать катер на слип, менять подпорные клинья и затем на мерной миле снова определять эффект от произведенной замены. Не говоря уже о расходах, специалист испытывает некоторый страх перед количеством отверстий для болтов, которые необходимо просверлить в днище катера 87.
 Транцевые плиты. Транцевые плиты с устанавливаемым (изменяемым) углом атаки являются ничем иным, как улучшенным вариантом подпорных клиньев, угол которых может изменяться. Поскольку их легко можно приспособить к определенным условиям, они превосходят по качествам обычные подпорные клинья. Однако данные транцевые плиты не следует смешивать с регулируемыми транцевыми плитами, описанными ниже. Слово «изменяемые» в данном случае означает лишь то, что у стоящего катера можно изменять угол атаки транцевых плит.
    Водитель небольшого спортивного или гоночного катера благодаря несложным транцевым плитам получает возможность найти наилучший дифферент в зависимости от нагрузки или волнения.
Немало катеров на ходу получают некоторый крен в результате вращающего момента гребного винта или из-за неблагоприятного распределения массы на борту. Если транцевую плиту на погружающейся стороне установить с несколько большим углом атаки, то можно ликвидировать кренящий эффект, возникающий на ходу катера. Калифорния является родиной специальных катеров для «гонок с ускорением». Гонки начинают на этих катерах почти из состояния «стоп», чтобы с наибольшим ускорением пройти короткую дистанцию, равную четверти мили. На катерах устанавливают транцевые плиты (их иначе называют кавитационными пластинами), проходящие от борта к борту на транце. В часто используемой конструкции плиты поддерживаются у транца при помощи талрепов и создают этим отличную возможность для точного регулирования  угла атаки.
Последовательно находят тот очень небольшой угол атаки, который еще на какую-то долю увеличивает ускорение очень быстроходного катера и путем минимального увеличенного угла с одного борта противодействует кренящему моменту гребного винта.
Регулируемые транцевые плиты. Если талрепы, изменяющие угол установки транцевых плит, крепить не непосредственно к транцу, а к своеобразному кулачковому валику, то получаются так называемые регулируемые транцевые плиты. Такой кулачковый вал с короткими рычажками может поворачиваться водителем при помощи рукоятки или педали. В результате резкого старта в специальных «гонках с ускорением» катер стремится вылететь вперед, что не допускается правилами гонок. Водитель предотвращает это, переводя транцевые плиты на большой угол атаки. Как только у катера устанавливается нужная скорость и выравнивается дифферент,  водитель перекладывает рукоятку и уменьшает угол атаки транцевых плит. Часто плиты даже откидывают вверх, чтобы избежать касания ими воды и сопротивления трения  плит.
Транцевые плиты, устанавливаемые на больших гоночных катерах, предназначенных для прибрежных и морских гонок, имеют ограниченную ширину. Обычно используют две небольшие плиты. Такой тип плит часто применяют также на спортивных катерах. Их регулирование может осуществляться при помощи простого рычажного механизма. Другим, еще более важным применением транцевых плит является их установка на больших и малых туристских катерах, которые в своих  диапазонах  скоростей  сильно  изменяют дифферент.
На больших катерах регулирование транцевых плит из-за возникающих значительных сил осуществляется не при помощи простого механического привода, а посредством гидравлических цилиндров, приводимых в действие электрическим или ручным насосом. Также применяются электромеханические регулирующие устройства, у которых небольшой электродвигатель работает на  ходовой  винт  или  червяк.
В идеальном случае форма и распределение массы катера должны быть уравновешены таким образом, чтобы на максимальном ходу не требовалось никакой корректировки дифферента транцевыми плитами. Тогда плиты откидывают вверх так, чтобы они не располагались в потоке воды. При необходимости их опускают, выбирая любой угол атаки до 10°; большие углы создают лишь ненужное торможение.
На практике   не   выбирают заранее      определенный    угол установки   транцевых   плит, а путем   его    последовательного изменения    находят   оптимальный    дифферент    или    максимальную  скорость.   Во    время этой доводки   следят   за показаниями   тахометра. Если  частота вращения двигателя немного увеличилась, без   изменения     положения   дроссельной заслонки   карбюратора,  то это будет свидетельствовать о том, что найденный угол атаки транцевых   плит привел к улучшению хода.
Автоматические транцевые плиты. Существуют транцевые плиты и с автоматической установкой угла атаки. Их действие связано с действием остроумного рычажного механизма, поддерживающего транцевую плиту и использующего давление воды на переднюю кромку плиты. Эта система обладает тем преимуществом, что не требует никакого механизма для дистанционного управления плитами, так как их угол атаки сам устанавливается  в зависимости от скорости  и дифферента.
Наличие в схеме верхнего рычага с регулируемой длиной позволяет индивидуально регулировать систему для любого катера. Автоматические транцевые плиты регулируются таким образом, чтобы при наибольшем изменении дифферента катера создавать наибольшую силу поддержания. Если катер при увеличении скорости становится на ровный киль, то одновременно уменьшается угол атаки транцевых плит. Автоматика приспособлена и для движения на циркуляции, когда обе плиты получают различный угол атаки и обеспечивают лучшую остойчивость. Встроенные транцевые плиты. Преимущества регулируемых транцевых плит признаны также и некоторыми крупными катеро-строительными верфями. Такие фирмы, как «Крис Крафт», «Хат-терас» и другие начали предусматривать у транца углубления в днище,   в  которые встраивают утопленные транцевые плиты Транцевые плиты применяют в тех случаях, когда появляется сильный дифферент, затрудняющий ход катера и обзор водителю. Их устанавливают также   и   на   очень   быстроходных   катерах на волнении, так  как   транцевые плиты способствуют улучшению поведения катера на ходу.
Размеры транцевых плит. Изготовителям транцевых плит необходимо предоставлять возможность выбора соответствующих наиболее подходящих размеров. Попытки точного расчета не дают надежных результатов. С практической точки зрения можно рекомендовать использование следующих правил для приближенного определения размеров:
Длина от транца до задней кромки транцевой плиты: легкие    быстроходные    катера, которые незначительно изменяют дифферент      - 2% длины по ватерлинии
тяжелые   катера,   сильно   изменяющие дифферент  - 3% длины по ватерлинии
средние обычные катера -  2,5% длины по ватерлинии
Ширина вдоль транца: 
легкие быстроходные катера, незначительно изменяющие дифферент    - 2   плиты   по   V8   наибольшей
ширины по ватерлинии тяжелые,   сильно   изменяющие дифферент катера - 2   плиты   по   V4   наибольшей ширины по ватерлинии при   очень   сильном   изменении дифферента - транцевые плиты во всю ширину транца при длине, равной 3% длины по ватерлинии Транцевые плиты дают отличный пример того, как благодаря небольшим мероприятиям достигаются большие успехи. Неудивительно, что их используют даже на больших сторожевых катерах длиной 30 м и с мощностью главных двигателей 4000 л. с, несмотря на то, что их форма была установлена модельными испытаниями.
Дифферентовка при помощи водяного балласта. Требования к мореходным качествам гоночных катеров, предназначенных для прибрежных и морских гонок, обычно весьма жесткие. Ни один другой тип катеров не выполняет таких диких прыжков на волне. Неудивительно, что эти катера оборудованы регулируемыми транцевыми плитами. Однако дифферент у них часто изменяют и при помощи  водяного балласта.
Это кажется несколько нелепым для легких гоночных катеров, но отлично оправдало себя.
Применение водяного балласта позволяет опустить носовую часть катера и использовать инерцию балласта для уменьшения вертикальных ускорений в носовой части катера. К тому же имеется еще причина рекомендовать использование водяного балласта при гонках на большие дистанции. Катера на старте нагружены большим количеством топлива с расчетом, что достигнут цели с почти пустыми цистернами. Из-за этого значительно меняется состояние нагрузки катера во время гонок.
Наполнение балластной цистерны в носовой части катера производится обычно путем использования динамического напора воды при ходе катера. Опущенный в воду патрубок, иногда размещенный на пере руля, улавливает воду с более чем достаточным давлением для быстрого заполнения цистерны забортной водой. Простота процесса позволяет, в зависимости от нагрузки катера и курса относительно волны, заполнять или снова опорожнять цистерны.

Подвесной мотор и дифферентовка.

В некоторых руководствах по обслуживанию подвесных моторов утверждается, что угол установки струбцин крепления мотора может изменить дифферент катера. Считают, что нос поднимется, если гребной вал направлен вверх, или нос опустится, если упор гребного винта будет направлен  вниз.

Такое представление не соответствует действительности! Дифферентовочный эффект от упора гребного винта почти равен нулю! Регулировочный механизм для мотора имеет другое назначение, важное для хорошего хода. Пластина над гребным винтом, называемая также антикавитационной пластиной, должна точно располагаться по направлению водяного потока, чтобы не вызывать ненужного сопротивления и не подводить к гребному винту мешающее завихрение. Кроме того, она должна находиться не над водой, а слегка покрываться водой, чтобы гребной винт не терял эффективности из-за засасывания воздуха. Итак, необходимо выравнивать установку мотора, а не дифферент катера.

Источник : http://www.kapitanua.com/articles/news:news173

Транцевые плиты

Глиссирующие катера с малой относительной длиной (L/b ≤ 3) в переходном режиме движения имеют чрезмерный ходовой дифферент, значительно увеличивающий сопротивление. Отгиб днища вниз в кормовой части позволяет существенно уменьшить угол дифферента и, соответственно, сопротивление в переходном режиме.

Однако с увеличением скорости и переходе на движение в режиме глиссирования отгиб днища приводит к тому, что дифферент становится меньше оптимального, который (в зависимости от килеватости и формы днища) должен составлять 3,5-5°. Уменьшение дифферента означает резкое возрастание смоченной поверхности и, как следствие, увеличение сопротивления трения.

Поскольку каждой скорости соответствует свое, определенное значение угла дифферента, лучше использовать не фиксированный отгиб днища, а управляемые транцевые плиты, которые могут располагаться под наиболее выгодным для каждого режима движения углом.

Такие плиты являются наиболее эффективным средством регулировки дифферента на ходу. Они представляют собой две пластины, прикрепленные к транцу на шарнирах и являющиеся как бы продолжением днища (рис. 95)

Рис. 95. Принцип действия транцевой плиты.

Эти пластины можно отклонять вниз на небольшой угол α и тем самым создавать на них гидродинамическое давление, результирующая сила которого А направлена вверх перпендикулярно плоскости плиты. Эта сила пропорциональна квадрату скорости, а ее вертикальная составляющая D стремится поднять корму лодки, уменьшая угол дифферента. Сила сопротивления плит R, как правило, незначительна.

Простейшие транцевые плиты нетрудно сделать из алюминиевого уголка и пластины (рис. 96).

-2

Рис. 96. Конструкция простейшей транцевой плиты.

Уголок 1 приклепывается к транцу лодки. К нижней его полке прикрепляют упругую пластину 2, угол изгиба задней кромки которой регулируется отжимными винтами 3. Для мотолодок длиной 4,5 м размер пластины по ширине а = 150 мм, размер b = 75 мм.

В качестве примера эффективности установки транцевых пластин можно привести следующие данные.

Мотолодка «Прогресс», оборудованная плитами указанных размеров с мотором мощностью 25 л. с. и водоизмещением 700 кг, получает выигрыш в скорости до 30 %. Этот показатель снижается при перемещении ЦТ судна в нос и уменьшении водоизмещения. Примерная схема расположения плит на транце мотолодки показана на рис. 97.

-3

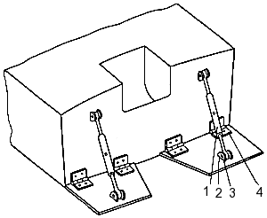
Рис. 97. Транцевые плиты.
1 - талрепы; 2 - обушки; 3 - штыри; 4 - шарниры.

На практике заранее не выбирают какой-либо определенный угол установки транцевых плит, а находят его опытным путем в процессе оптимизации дифферента и замеров скорости. Во время такой доводки точные результаты можно получить с использованием тахометра. Например, если частота вращения двигателя увеличилась без изменения положения дроссельной заслонки, то это говорит о том, что найденный угол установки плит оказался эффективным.
Конструкции транцевых плит

К настоящему времени известно несколько конструкций управляемых транцевых плит, привод которых может быть механическим с ручным управлением, электромеханическим и электрогидравлическим (рис. 98).

Конструкции транцевых плит

К настоящему времени известно несколько конструкций управляемых транцевых плит, привод которых может быть механическим с ручным управлением, электромеханическим и электрогидравлическим (рис. 98).

-4

Рис. 98. Управляемые транцевые плиты с гидравлическим приводом.
1 - алюминиевая плита; 2 - обтекатель из пружинящей пластины; 3 - пластиковый шарнир; 4 - основание, крепящееся к транцу; 5 - кронштейн; 6 - масляный трубопровод; 7 - гидроцилиндр; 8 - магниевый протектор.

В частности, широкое распространение получили управляемые плиты «Bennett Trim Tabs» с гидроприводом для различных по длине лодок.

Особую категорию составляют автоматические транцевые плиты. Угол отклонения этих плит изменяется автоматически в зависимости от дифферента катера и скоростного напора. Эта обратная связь обеспечивает оптимальное управление дифферентом в расчетном диапазоне скоростей. Схемы такого рода, используемые зарубежными фирмами, а также изготовленная на этом принципе плита показаны на рис. 99.

-5

Рис. 99. Транцевые плиты с автоматическим изменением угла установки:
а - «тяжелые» плиты «Аква-Стабс»; б - плита «Ден Оуден», 1 - плита; 2 - ось вращения; 3 - упор-ограничитель на кронштейне; 4 - регулируемое звено.

Эти системы обладают тем преимуществом, что не требуют механизмов для дистанционного управления. Транцевые плиты «Аква-Стабс», запатентованные в США, предназначены для улучшения стартовых свойств глиссирующих катеров. Ось вращения плиты 2 расположена на некотором расстоянии от транца таким образом, что на стоянке и малом ходу передняя кромка плиты упирается в упоры 3, имеющиеся на продольных стенках. 

В момент, когда катер получает ход, плита расположена под большим углом атаки, и подъемная сила действует в основном на переднюю часть плиты, поднимая корму катера. При повышении скорости точка приложения гидродинамической силы постепенно смещается назад и отклоняет плиту в оптимальное для полного хода положение. При установке таких плит существенно сокращается период разгона катера и экономится моторесурс двигателя. Положение упора 3 и оси вращения подбирается опытным путем. Плиты этой конструкции изготовляются «тяжелыми» с утолщением в кормовой кромке.