Добавить в корзинуПозвонить
Найти в Дзене
ТЕПЛОВОЗЫ

Топливная система тепловоза 2ТЭ25А (2ТЭ25К)

Топливная система (рис. 4.1) предназначена для подачи топлива под давлением к топливной аппаратуре дизеля, размещения запасов топлива, его фильтрации и подогрева.
Топливная система включает следующие основные агрегаты: бак для топлива 1, фильтры грубой очистки 2, 32, топливный насос с приводом от дизеля 7, топливоподкачивающий насос 31, подогреватель топлива 33, фильтр тонкой очистки топлива 15,
Оглавление

Топливная система (рис. 4.1) предназначена для подачи топлива под давлением к топливной аппаратуре дизеля, размещения запасов топлива, его фильтрации и подогрева.

Топливная система включает следующие основные агрегаты: бак для топлива 1, фильтры грубой очистки 2, 32, топливный насос с приводом от дизеля 7, топливоподкачивающий насос 31, подогреватель топлива 33, фильтр тонкой очистки топлива 15, установленный на дизеле.

Топливный насос /является основным и подает топливо к насосам высокого давления во время работы дизеля. Топливоподкачивающий насос 31 включается перед пуском дизеля и автоматически отключается после его пуска.

При выходе из строя топливного насоса дизеля топливоподкачивающий насос включается на постоянный режим работы.

Во время предпусковой прокачки системы и пуска дизель-генератора топливоподкачивающий агрегат 31 засасывает топливо по трубе заборного устройства из бака для топлива через фильтры грубой очистки 2, 32 и по нагнетательной трубе через обратный клапан 24 и фильтр тонкой очистки 15 подает в трубу подвода к топливным насосам дизеля. Избыток топлива через редукционный клапан 3, подогреватель топлива 33 сливается в топливный бак 1. Каждый цилиндр дизеля имеет индивидуальный топливный насос высокого давления, оборудованный плунжерно-кнопочным блоком с приводом плунжера от распредвала дизеля и управлением от электронной управляющей системы, форсунки закрытого типа и топливопровод высокого давления, соединяющий топливный насос с форсункой. Дизель-генератор оборудован импульсной системой подачи топлива с электронным управлением. Топливо, просочившееся из полости высокого давления форсунок, сливается в топливный бак.

Рис. 4.1. Принципиальная гидравлическая схема топливной системы: / - расходный бак; 2, 32 - фильтры грубой очистки топлива; 3 - редукционный клапан; 4 - топливопровод отвода протечек с топливоподкачивающего насоса; 5, 24 - обратные клапаны; 6 - топливопровод отвода протечек топлива и масла; 7 - топливный насос; 8, 30- предохранительные клапаны; 9 - вентиль; 10- топливопровод отвода топлива от топливных насосов; // - топливопровод слива протечек топлива с топливных насосов и форсунок; 12 - индивидуальные топливные насосы цилиндров; 13 - топливопровод высокого давления; 14 - форсунка; 15 - фильтры тонкой очистки топлива; 16- манометры; 17- грибки для датчиков давления; 18- грибок под ртутный термометр; 19- топливопровод подвода топлива к топливным насосам; 20- электрические кабели; 21 - клеммная коробка электрических кабелей; 22- электронный блок управления; 23- блок электрического питания электронной системы управления подачей топлива; 25 - датчик давления наддувочного воздуха; 26 - датчик давления масла на входе в дизель; 27- датчик угла поворота распределительного вала; 28, 29- датчики частоты вращения коленчатого вала; 31 - топливоподкачивающий агрегат; 33 - подогреватель топлива

Для поддержания необходимого давления подачи топлива к насосам высокого давления дизеля на сливном трубопроводе установлен подпорный клапан, отрегулированный на давление от 0,6 до 0,8 МПа (от 6 до 8 кгс/см2).

Для предохранения топливоподкачивающего насоса от перегрузки система имеет возможность перепускать избыток топлива из напорного трубопровода в сливной. Для этой цели на нагнетательном трубопроводе установлен предохранительный клапан 3, отрегулированный на давление 0, 25 МПа (2,5 кгс/см2).

Сбор грязного топлива с полок блока дизеля производится в специальную емкость, расположенную на торцевом листе топливного бака со стороны задней тележки. Слив из емкости производится через кран, установленный на нижнем листе емкости.

Давление топлива контролируется на диагностических экранах дисплея машиниста.

Подогрев топлива осуществляется в подогревателе топлива горячей водой 1-го контура.

Воздух из системы удаляется открытием вентиля 9.

Протечки топлива от топливных насосов и форсунок отводятся по топливопроводу 77, а избыточная циркуляция топлива от топливных насосов - по топливопроводу 10.

Для контроля степени загрязнения фильтров тонкой очистки и величины давления топлива устанавливаются манометры 16 и грибки (отверстия с резьбой в трубопроводах) под датчики давления топлива 17. Степень загрязнения фильтров определяется по разности показаний манометров. Грибок 18 предназначен для замера температуры топлива на входе в дизель с помощью ртутного термометра.

В топливной системе предусмотрен подогреватель топлива 33 для обеспечения эксплуатации при низкой температуре окружающей среды. По топливопроводу 4 отводятся протечки топлива с подшипников топливоподкачивающего насоса, а по топливопроводу 6 - возможные протечки топлива и масла с уплотнений топ-ливоподкачивающего насоса.

Электронная система управления подачей топлива

Управление работой топливных насосов (см. рис. 4.1) осуществляется электронной системой управления, включающей: блок электрического питания 23, электронный блок управления 22, клеммную коробку 27, датчики: частоты вращения коленчатого вала 28, 29; угла поворота распределительного вала 27; давления масла на входе в дизель 26, давления наддувочного воздуха 25.

Управляющие электрические сигналы от электронной системы подаются на электромагнитные клапаны топливных насосов по кабелям 20.

Электронная система управления подачей топлива выполняет следующие функции:

  • - обеспечение заданной частоты вращения коленчатого вала и ее автоматическое регулирование (выполняет функции регулятора частоты вращения) по соответствующей команде микропроцессорной системы управления тепловоза;
  • - управление подачей топлива топливных насосов;
  • - обеспечение заданного угла опережения подачи топлива и его коррекция по заданному алгоритму во всем поле рабочих режимов дизеля;
  • - отключение подачи топлива на часть цилиндров дизеля при снижении мощности дизеля ниже 100 кВт;
  • - защиту дизеля по предельно допустимой частоте вращения и пониженному давлению масла;
  • - ограничение подачи топлива по давлению наддувочного воздуха;
  • - обеспечение заданного темпа увеличения и снижения частоты вращения;
  • - реализует следующие команды микропроцессорной системы управления тепловоза: пуск, стоп, задание частоты вращения.

Кроме того, она вырабатывает и трансформирует на микропроцессорную систему управления тепловоза следующие сигналы:

  • - о действительном значении частоты вращения;
  • - о цикловой подаче топлива или длительности управляющего сигнала;
  • - об отключении части цилиндров;
  • - предупредительный сигнал о снижении давления масла ниже нормы;
  • - сигналы «стоп» - по предельно-допустимой частоте вращения и по пониженному давлению масла.

Топливный насос

На дизеле устанавливаются импульсные топливные насосы, оборудованные электромагнитными клапанами.

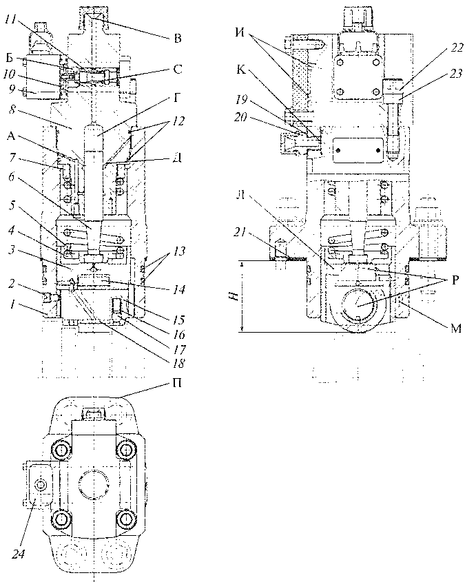
Топливный насос (рис. 4.2) предназначен для подачи топлива в форсунку и устанавливается на лотке. Плунжер насоса перемещается толкателем от кулака распределительного вала.

-2
Рис. 4.2. Топливный насос: 1 - корпус насоса; 2 - стопорный винт; 3 - толкатель (корпус толкателя); 4 - тарелка пружины; 5, 16 - пружины; 6 - плунжер; 7 - кольцо; 8- клапанно-плунжерный моноблок; 9 - электромагнит; 10- якорь; И - клапан; 12, 13 - уплотнительные кольца; 14- ролик; 15- ось ролика; 77 - фиксатор; 18- втулка; 19, 21 - прокладки; 20- штуцер; 22- винт; 23 - шайба; 24 - закрытие; А, Д - каналы для отвода протечек топлива; Б - полость низкого давления; В - канал высокого давления; Г - надплунжерная полость; И - каналы подвода и отвода топлива; К - полость слива утечек топлива; Л - отверстия для перетока масла; М - отверстие подвода масла; П - поверхность маркировки толщины прокладок; Р - каналы; С - затвор

Топливный насос состоит из корпуса 7, в котором установлен клапанно-плунжерный моноблок 8, объединяющий в себе плунжерную пару с плунжером 6 и электромагнитный клапан с электромагнитом 9 и клапаном 11. Клеммы электромагнита 9 защищены закрытием 24. Моноблок 8 закреплен в корпусе насоса винтами 22 с шайбами 23.

В нижней части корпуса размещен толкатель 3 с тарелкой 4, пружиной 5 и кольцом 7. Толкатель состоит из корпуса 3, оси 15, втулки 18, ролика 14, фиксатора 77 и пружины 16.

Фиксатор 17удерживает ось 15 от углового и осевого перемещения.

Толкатель от выпадания при транспортировке и монтаже удерживается стопорным винтом 2. В лотке корпус 7 насоса уплотняется резиновыми кольцами 13. Для обеспечения точного фазирования плунжера относительно корпуса моноблока под корпусом насоса могут устанавливаться прокладки 21.

Определение необходимой толщины прокладок производится на предприятии-изготовителе и толщина прокладок в мм выбивается на поверхности П корпуса насоса.

Работа насоса происходит следующим образом.

При набегании рабочей части профиля топливного кулака на ролик толкателя топливного насоса толкатель начинает поступательное движение, перемещая в вертикальном направлении плунжер.

При отсутствии управляющего сигнала от электронной системы управления подачей топлива клапан 77 насоса открыт на дренаж и топливо, не создавая значительного напора перетекает из полости над плунжером Г на слив в полость Б.

В заданной фазе угла поворота коленчатого вала, когда должен происходить впрыск топлива в данный цилиндр, электронная система управления подает электрический сигнал на электромагнит соответствующего насоса.

Электромагнит притягивает якорь 10, закрепленный на затворе С клапана. Затвор перекрывает дренаж из полости Г и канала Вис этого момента перемещающийся плунжер начинает сжимать топливо, создавая необходимый напор для открытия иглы форсунки и для качественного распыливания топлива в камере сгорания соответствующего цилиндра дизеля.

Необходимый угол опережения подачи топлива обеспечивается соответствующей фазой подачи управляющего сигнала, а необходимая для обеспечения заданного режима работы дизеля цикловая подача топлива - соответствующей длительностью управляющего сигнала от электронной системы управления.

Наполнение топливом полости Г производится через полость Б и открытый клапан 77. Подвод и отвод топлива от насоса производится по каналам И.

Возможные утечки топлива через зазор между плунжером и корпусом моноблока отводятся на слив через каналы А, Д, полость К и штуцер 20. Резиновые кольца 12 служат для уплотнения полости К.

Трущиеся поверхности толкателя и корпуса насоса смазываются дизельным маслом, поступающим из канала лотка в отверстие М и по каналам Р к трущимся поверхностям деталей толкателя. Слив масла в лоток производится через отверстия Л в корпусе толкателя.

4.1.3. Форсунка
4.1.3. Форсунка

Форсунка (рис. 4.3) предназначена для впрыскивания топлива в камеру сгорания цилиндра. Форсунка закрытого типа устанавливается в крышке цилиндра и уплотняется конусной поверхностью А и резиновым кольцом 9.

Рис. 4.3. Форсунка:

7 - сопловой наконечник распылителя; 2 - корпус распылителя; 3 - игла распылителя; 4 - колпак; 5 - уплотнительное кольцо между корпусом форсунки и колпаком; 6 - штанга форсунки; 7- корпус форсунки; 8- пружина; 9- уплотнительное кольцо между форсункой и крышкой цилиндра; 10 - тарелка; 77 - регулировочный винт; 12, 14- медные прокладки; 13 - гайка; 75 - штуцер; 16 - корпус фильтра; 77 - стержень; А - конусная поверхность; Б - канал отвода просочившегося топлива; В, Г - пазы; Д - отверстие прохода топлива

К нижнему торцу корпуса /колпаком Скрепится корпус 2распылителя и сопловой наконечник распылителя 1, торцовые поверхности которых уплотняются за счет чистоты и точности обработки. Для обеспечения одинаковой затяжки колпаков на каждом колпаке 4 нанесены риски, равномерно расположенные по окружности.

На сферической поверхности соплового наконечника распылителя равномерно по окружности расположены распиливающие отверстия. Плоскость расположения распыливающих отверстий наклонена к оси соплового наконечника распылителя.

В корпусе 2 распылителя размещена игла 3, разобщающая внутренние полости форсунки от камеры сгорания. Корпус распылителя и игла представляют собой комплект деталей, точно пригнанных друг к другу. Уплотнение конуса иглы с корпусом осуществляется узким пояском, расположенным у основания запорных конусов иглы и корпуса распылителя.

Игла распылителя прижимается к корпусу распылителя пружиной 8 через штангу 6. Сжатие пружины осуществляется поворотом регулировочного винта 11, положение которого фиксируется гайкой 13.

Сверху на регулировочный винт навертывается штуцер 15, к которому присоединяется трубка, отводящая топливо, которое может просочиться через зазор между иглой и корпусом распылителя.

Топливо подводится в форсунку через щелевой фильтр, состоящий из корпуса 16 и стержня 17. Топливо, проходя через продольные пазы В, кольцевой зазор между корпусом и стержнем, поступает в продольные пазы Г, откуда по отверстиям Д - в канал корпуса форсунки.

Предохранительный клапан

Клапан (рис. 4.4) устанавливается в топливопроводе низкого давления. Он состоит из корпуса 1, шарика 2, направляющей 3, штуцера 7, пружины 4, прокладки 5 и регулировочных прокладок 6.

Клапан открывается при давлении в полости А 0,6-0,8 МПа (6-8 кгс/см2), при этом шарик 2, установленный в направляющей 3, преодолевает усилие пружины 4, постепенно открывает проход топлива из полости А в полость Б и далее в трубопровод на всасывание топливоподкачивающего насоса.

-4

Рис. 4.4. Предохранительный клапан: 1 - корпус; 2 - шарик; 3 - направляющая; 4- пружина; 5- прокладка; 6- регулировочные прокладки; 7 - штуцер; А, Б - полости

Давление открытия регулируется набором прокладок 6, Прокладка толщиной 1 мм изменяет давление открытия клапана на 0,05 МПа (0,5 кгс/см2).

Редукционный клапан

Редукционный клапан (рис. 4.5) поддерживает необходимое давление при циркуляции топлива в топливной системе.

В направляющей 5установлен клапан 5, который прижат к корпусу направляющей пружиной 2. Стык направляющей 5 и корпуса 7 уплотняется прокладкой 4. Клапан открывается при давлении 0,10-0,13 МПа (1,0-1,3 кгс/см2).

-5

Рис. 4.5. Редукционный клапан: 1 - корпус; 2 - пружина; 3 - клапан; 4- прокладка; 5- направляющая

Топливопроводы высокого давления

Топливопроводы высокого давления (рис. 4.6) предназначены для подвода топлива от топливных насосов к форсункам. Топливопроводы высокого давления 7, установленные на ряду В дизеля, изогнуты по кольцу и прикреплены прижимами 6, между которыми установлены резиновые уплотнения 7. Топливопроводы высокого давления 2, установленные на ряду А цилиндров, крепятся к крышкам цилиндров планками 5 с крышками 4, под которые установлены резиновые уплотнения 3.

-6
Рис. 4.6. Топливопроводы высокого давления: 1 - топливопровод высокого давления ряда В; 2 - топливопровод высокого давления ряда А; 3 - уплотнение; 4 - крышка; 5 - планка; 6 - прижим; 7 - уплотнение

Фильтры грубой и тонкой очистки топлива

Фильтр грубой очистки (рис. 4.7) предназначен для очистки топлива. Он состоит из корпуса 3, в котором размешен набор фильтрующих элементов 5, собранных в пакет на трехгранном стержне 13. Пакет фильтрующих элементов крепится на стержне гайкой 11 с шайбой 12, которая стопорится гранями стержня и предохраняет фильтрующие элементы от повреждения во время затяжки гайки 11. Стержень 13 ввернут в крышку 1.

После затяжки гайка 7/ стопорится шплинтом 10. Снизу в корпусе имеется резьбовая пробка 9 для слива отстоя.

Топливо поступает в фильтр через отверстие в нижнем фланце 4 и далее через сетки фильтрующих элементов 5 внутрь пакета. Очищенное топливо по каналам трехгранного стержня 13 перетекает в канал крышки 1 и через отверстие в верхнем фланце 4 выходит из фильтра.

Все частицы размером более 80 микрон задерживаются сетками, оседая на их поверхностях, а также осаждаются в нижней части

-7
Рис. 4.7. Фильтр грубой очистки топлива: 1 - крышка фильтра; 2 - уплотнительное кольцо; 3 - корпус фильтра; 4 - присоединительный фланец; 5 - фильтрующий элемент; 6 - втулка; 7 - прокладка опорной втулки; 8 - прокладка сливной пробки; 9 - пробка; 10 - шплинт; 11 - гайка; /2, 16 - шайбы; 13 - стержень; 14 - фланец (заглушка); 15 - прокладка присоединительных фланцев; 17- гайка крепления крышки; 18 - шпилька корпуса; А - полость подвода топлива; Б - полость отвода топлива; Г - поверхность крайнего фильтрующего элемента; Д - торец стержня

корпуса фильтра и периодически удаляются через отверстие, закрытое пробкой 9.

Между корпусом 3 и фланцами 4, 11 установлены паронитовые прокладки /5, а между корпусом 3 и втулкой 13, пробкой 6 и втулкой 13 установлены медные прокладки 7, 8.

Фильтр тонкой очистки (рис. 4.8) предназначен для тонкой очистки топлива, применяемого на дизеле, от механических примесей

-8
Рис. 4.8. Фильтр тонкой очистки топлива: 1 - сливной ниппель; 2- накидная гайка; 3, 5, 10, 11 - уплотнительные кольца; 4- стяжной болт; 6, 17- корпусы; 7- пружина; Я- тарелка; 9 - фильтрующий элемент; /2-крышка; 13- втулка; 14- вентиль продувочный; 15, 16 - штуцеры; 18 - запорное кольцо; 19 - шарик; А - канал

размером более пяти микрон. Фильтр двухсекционный с параллельной работой секций.

В фильтре устанавливаются фильтрующие элементы 9, изготовленные из нетканого материала, по два в корпусах 6, 17.

Фильтрующие элементы уплотняются кольцами 10 из маслобен-зостойкой резины, поджимаемыми пружиной 7, опирающейся на тарелку 8. Корпусы 6, 17 с крышкой 72 соединяются стяжными болтами 4 и уплотняются сверху кольцами 77, а снизу кольцами 5. Снизу в крышке имеются резьбовые втулки 13 для ввертывания стяжных болтов.

На крышке 72 сверху имеются штуцеры 75 и 16 для отвода и подвода топлива и продувочные вентили 14 для выпуска скопившегося воздуха.

В нижнюю часть стяжного болта 4 установлены шарик 79 и ниппель сливной 1 с накидной гайкой 2 для уплотнения сливного отверстия стяжного болта 4 в рабочем положении фильтра.

В рабочем положении фильтра топливо, подаваемое в фильтр через штуцер 16 и отверстие в крышке 12, попадает в полости корпусов 6, 17, проходит через фильтрующие элементы 9, очищается, а затем по центральным отверстиям стяжных болтов 4, каналу А и далее по штуцеру 15 поступает в топливопровод к дизелю. Замена фильтрующих элементов производится при достижении перепада давления на фильтре 0,15 МПа (1,5 кгс/см2).

Топливоподкачивающий насос

Топливоподкачивающий насос (рис. 4.9) предназначен для забора топлива из расходного бака и подачи его к топливным насосам высокого давления.

Топливоподкачивающий насос шестеренного типа устанавливается на приводе насосов и приводится во вращение от него через промежуточный шлицевой валик 16.

Ведущий вал 2 и цапфы ведомой шестерни 1 вращаются в бронзографитовых втулках 22, 24, установленных в крышке 3 и кронштейне 7.

Ведущий вал имеет выносной шариковый подшипник 13, установленный в кронштейне по скользящей посадке и зафиксированный от проворота фланцем 15.

Ведущая шестерня 4 установлена на валу на шпонке 5.

Вал уплотнен в кронштейне тремя манжетами 10, развернутыми в разные стороны и обеспечивающими уплотнение от просачивания топлива и масла: двумя - со стороны насосной части и одной - со стороны привода.

Между манжетами установлено проставочное кольцо 21, а стопорные кольца 17, 20 предохраняют манжеты от перемещения. Кольцо 9 служит опорой при выпрессовке манжет.

Полость Г между манжетами заполняется солидолом.

В кронштейне /имеется радиальное отверстие И, предназначенное для сообщения пространства между манжетами с атмосферой и контроля за их состоянием, а также установлен штуцер /9 для отвода утечек топлива и масла с уплотнений.

Ведущий вал 2 для повышения износостойкости под кромками манжет имеет керамическое покрытие.

Стыки между корпусом 6, крышкой 3 и кронштейном /уплотняются бумажными прокладками 23, смазанными при сборке герметиком.

-9
Рис. 4.9. Топливоподкачивающий насос: 7 - ведомая шестерня; 2 - ведущий вал; 3 - крышка; 4 - ведущая шестерня; 5- шпонка; 6 - корпус; 7- кронштейн; 8, 11, 19, 25, 26- штуцеры; 9 - кольцо; 10 - манжеты; 12- втулка; 13- шарикоподшипник; 14, 17, 20 - запорные кольца; 75- фланец; 16- шлицевой валик; 18, 23- прокладки; 21 - проставочное кольцо; 22, 24 - бронзографитовые втулки; 27- гайка; 28- стопорная шайба; Г - полость; Д - резьбовые отверстия; Е - полость всасывания; Ж - полость нагнетания; И - отверстие

Корпус 6 зафиксирован от перемещения двумя цилиндрическими штифтами.

Топливо, просочившееся через зазоры между втулками 22, 24 и валами шестерен, отводится в топливную систему через штуцер 8.

Смазка бронзографитовых втулок и манжет со стороны насоса обеспечивается топливом. Манжета со стороны привода смазывается маслом.

Выносной шарикоподшипник 13, шлицевой валик 16 и шлицы ступицы привода насосов смазываются маслом, подводимым через штуцер 11 из масляной магистрали дизеля.