Добавить в корзинуПозвонить
Найти в Дзене
Помощник водителя

Авто стекло с дополненной реальность сделает тонировку ненужной

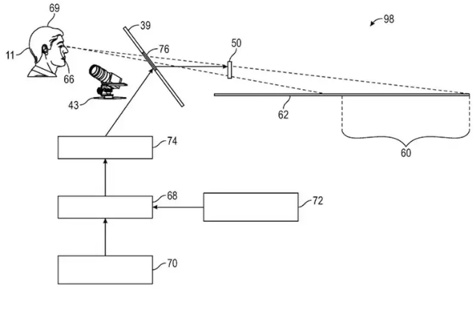
General Motors подала заявку на патент. Это будет ветровое стекло (AR) дополненной реальности, где помимо всего будет автоматическое затемнение. Заявка № 11 557 234 B1 была подана в Ведомство по патентам и товарным знакам США (USPTO) и опубликована 17 января сего года. В этом изобретении помимо проекционного дисплея используется также интеллектуальное стекло, причем с изменяемым светопропусканием. Еще имеются датчики обнаружения света фар транспортных средств, едущих навстречу, и иного яркого освещения. Выглядит это примерно следующим образом: Также в патентной заявке идет речь о том, что если уровень освещенности даже немного превышает установленные нормы, то система автоматически затемняет стекло либо полностью, либо какую-то его часть. Это сделано для повышения безопасности на дорогах. На лобовое стекло автомобиля как бы поверх дороги и придорожной инфраструктуры для водителя будут отображаться подсказки. Некоторые из производителей, к примеру, Porsche и Mercedes-Benz тоже разрабат

General Motors подала заявку на патент. Это будет ветровое стекло (AR) дополненной реальности, где помимо всего будет автоматическое затемнение.

Заявка № 11 557 234 B1 была подана в Ведомство по патентам и товарным знакам США (USPTO) и опубликована 17 января сего года. В этом изобретении помимо проекционного дисплея используется также интеллектуальное стекло, причем с изменяемым светопропусканием. Еще имеются датчики обнаружения света фар транспортных средств, едущих навстречу, и иного яркого освещения.

Выглядит это примерно следующим образом:

-2

Также в патентной заявке идет речь о том, что если уровень освещенности даже немного превышает установленные нормы, то система автоматически затемняет стекло либо полностью, либо какую-то его часть. Это сделано для повышения безопасности на дорогах.

На лобовое стекло автомобиля как бы поверх дороги и придорожной инфраструктуры для водителя будут отображаться подсказки. Некоторые из производителей, к примеру, Porsche и Mercedes-Benz тоже разрабатывают собственные системы дополненной реальности.

Пока остается загадкой, когда данная система будет представлена в серийных авто. Но понятно то, что у ветрового стекла видится огромный потенциал и оно перестанет быть просто куском.