Добавить в корзинуПозвонить
Найти в Дзене
Sergey Engineer

Патент на снегоочистной наказатель.

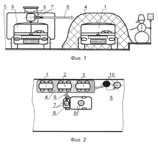
А вы знаете как можно очистить автомобиль от снега и одновременно наказать нерадивого автовладельца этого автомобиля? Автор патента № 2 743 255, выданного в феврале 2021 года, предлагает весьма оригинальный способ "помощи" автовладельцам, автомобили которых оказались в снежном плену. Итак, что же предлагается в патенте? Для очистки автомобилей от сугробов предлагается использовать спецтранспорт с водометами, который используют коммунальные службы для полива клумб, дорог и тротуаров, а также, цитирую из патента: в области обеспечения правопорядка . . . применяют полицейские машины с установленными на них водометами. Автор отмечает, что такой транспорт имеет узкую специализацию и используется довольно редко. Поэтому нашел для него еще одно применение. Когда весь этот спецтранспорт не используют по прямому назначению, его можно выгонять на улицы города после снегопадов и струей воды из водомета поливать заснеженные автомобили, которые припаркованы вдоль обочин. При этом вода должна быть п

А вы знаете как можно очистить автомобиль от снега и одновременно наказать нерадивого автовладельца этого автомобиля? Автор патента № 2 743 255, выданного в феврале 2021 года, предлагает весьма оригинальный способ "помощи" автовладельцам, автомобили которых оказались в снежном плену.

Итак, что же предлагается в патенте? Для очистки автомобилей от сугробов предлагается использовать спецтранспорт с водометами, который используют коммунальные службы для полива клумб, дорог и тротуаров, а также, цитирую из патента:

в области обеспечения правопорядка . . . применяют полицейские машины с установленными на них водометами.

Автор отмечает, что такой транспорт имеет узкую специализацию и используется довольно редко. Поэтому нашел для него еще одно применение.

Когда весь этот спецтранспорт не используют по прямому назначению, его можно выгонять на улицы города после снегопадов и струей воды из водомета поливать заснеженные автомобили, которые припаркованы вдоль обочин. При этом вода должна быть подогретой для более эффективного удаления сугробов.

Вот так автор изобразил осуществление всего этого в своем патенте:

Изображение из патента № 2 743 255
Изображение из патента № 2 743 255

Кажется, что этого уже достаточно, мы причинили достаточно пользы автовладельцам, чтобы они начали радостно аплодировать, а затем еще радостнее соскребать ледяную корку со своих автомобилей. Но нет, автор на этом не остановился, ведь пользы много не бывает. Вот выдержка из текста изобретения:

Использование изобретения позволяет без длительного кропотливого труда и безопасно для окружающих людей, животных и матчасти расчищать сильно заснеженные припаркованные одиночные автомобили и группы автомобилей, например для последующей их эвакуации на спецавтостоянку. При этом повышаются эффективность, производительность, ресурсосбережение (вода, энергия), безопасность, пропускная способность и санитарное состояние на автомагистралях, осуществляется эффективное воспитание нерадивых автовладельцев

Вон сколько зайцев можно прихлопнуть за раз! И снег почистили, и спец автостоянка копеечку заработала и ленивого автовладельца наказали за то, что не почистил свой автомобиль.

Побольше бы таких нужных и полезных изобретений, делающих мир лучше, чище и добрее.

На этом пока все.