Добавить в корзинуПозвонить
Найти в Дзене
Размагничивание труб

Как работает регулируемый магнит для размагничивания труб

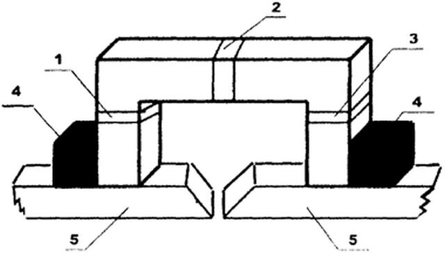
Компенсационный регулируемый магнит применяется при сварке намагниченных труб для предотвращения магнитного дутья в стыке. Магнит обеспечивает локальное размагничивание стыка труб на участке 150-300мм и обеспечивает качественную сварку шва сильно намагниченных труб диаметром до 1420мм в период проведения ремонтно-восстановительных работ. Компенсационный магнит представляет собой П-образный магнит с регулируемым магнитной силой размером окна достаточным для установки трубных центраторов. Регулируемый компенсационный магнит представляет собой конструкцию из магнитных блоков с магнитными держателями. Часть магнитных блоков выполнена подвижными для изменения вектора магнитного поля. На рисунке 1 представлен магнит, имеющий п-образную форму, где блоки 1 и 3 выполнены подвижными, а блок 2 - неподвижным. По бокам магнита выполнены магнитные держатели 4, крепящиеся к магниту болтовыми соединениями, для удержания всей системы на поверхности свариваемых частей изделия 5 свариваемые детали. П

Компенсационный регулируемый магнит применяется при сварке намагниченных труб для предотвращения магнитного дутья в стыке.

Магнит обеспечивает локальное размагничивание стыка труб на участке 150-300мм и обеспечивает качественную сварку шва сильно намагниченных труб диаметром до 1420мм в период проведения ремонтно-восстановительных работ. Компенсационный магнит представляет собой П-образный магнит с регулируемым магнитной силой размером окна достаточным для установки трубных центраторов.

Регулируемый компенсационный магнит представляет собой конструкцию из магнитных блоков с магнитными держателями. Часть магнитных блоков выполнена подвижными для изменения вектора магнитного поля.

На рисунке 1 представлен магнит, имеющий п-образную форму, где блоки 1 и 3 выполнены подвижными, а блок 2 - неподвижным. По бокам магнита выполнены магнитные держатели 4, крепящиеся к магниту болтовыми соединениями, для удержания всей системы на поверхности свариваемых частей изделия 5 свариваемые детали.

-2

Подвижные магнитные блоки выполнены с выступающей головкой, которая при помощи специального ключа вращается и тем самым осуществляется регулировка величины магнитной компенсации. При этом магнит устанавливается на изделии в обратном направлении магнитного потока, имеющегося на этом изделии.

Регулируемый магнит создает магнитное поле без электричества, пожаробезопасны, имеют малый вес и габариты, удобны в использовании и решают задачу устранения магнитного дутья в зазоре свариваемых кромок изделий.

Для размагничивания локального участка стыка необходимо установить магнит над стыком намагниченных труб, стык должен находится посередине между его полюсами. Полюса магнита должны создавать поле, направленное в противоположную сторону остаточному полю трубы. Для размагничивания стыка необходимо провести регулировку магнитной силы - вращением регулировочной шайбы с каждой стороны магнита. В случае недостаточной компенсации необходимо поставить второй магнит. По мере заварки стыка магниты передвигается на непроваренный участок.

Посмотреть другое размагничивающее оборудование можно здесь...