Найти в Дзене

Xiaomi 13 ощутимо подорожает

Названа дата презентации Xiaomi 13, компания патентует выезжающую камеру, а в сеть попал дизайн Redmi Buds 4 Lite и Redmi K60. Xiaomi снова патентует всплывающую камеру Вы наверняка помните, как китайский технологический гигант выпускал смартфоны с всплывающей камерой – например, Mi 9T Pro. Такое решение позволило бренду избавиться от всяких отверстий в дисплее, но его использовали совсем недолго. Теперь в сети появилась информация, что Xiaomi снова патентует схожую разработку. На сайте Государственного ведомства интеллектуальной собственности Китая появился новый патент под номером CN217883600U, который носит название «Агентство по мобильной камере и электронное оборудование». Заявку подавала Beijing Xiaomi Mobile Software Co., Ltd., и она был одобрена и официально опубликована регулятором. Если говорить простым языком, технология включает в себя мобильный механизм камеры и электронное оборудование. Мобильный механизм камеры включает в себя: В прилагающейся сопутствующей документации
Оглавление

Названа дата презентации Xiaomi 13, компания патентует выезжающую камеру, а в сеть попал дизайн Redmi Buds 4 Lite и Redmi K60.

Xiaomi снова патентует всплывающую камеру

Вы наверняка помните, как китайский технологический гигант выпускал смартфоны с всплывающей камерой – например, Mi 9T Pro. Такое решение позволило бренду избавиться от всяких отверстий в дисплее, но его использовали совсем недолго. Теперь в сети появилась информация, что Xiaomi снова патентует схожую разработку.

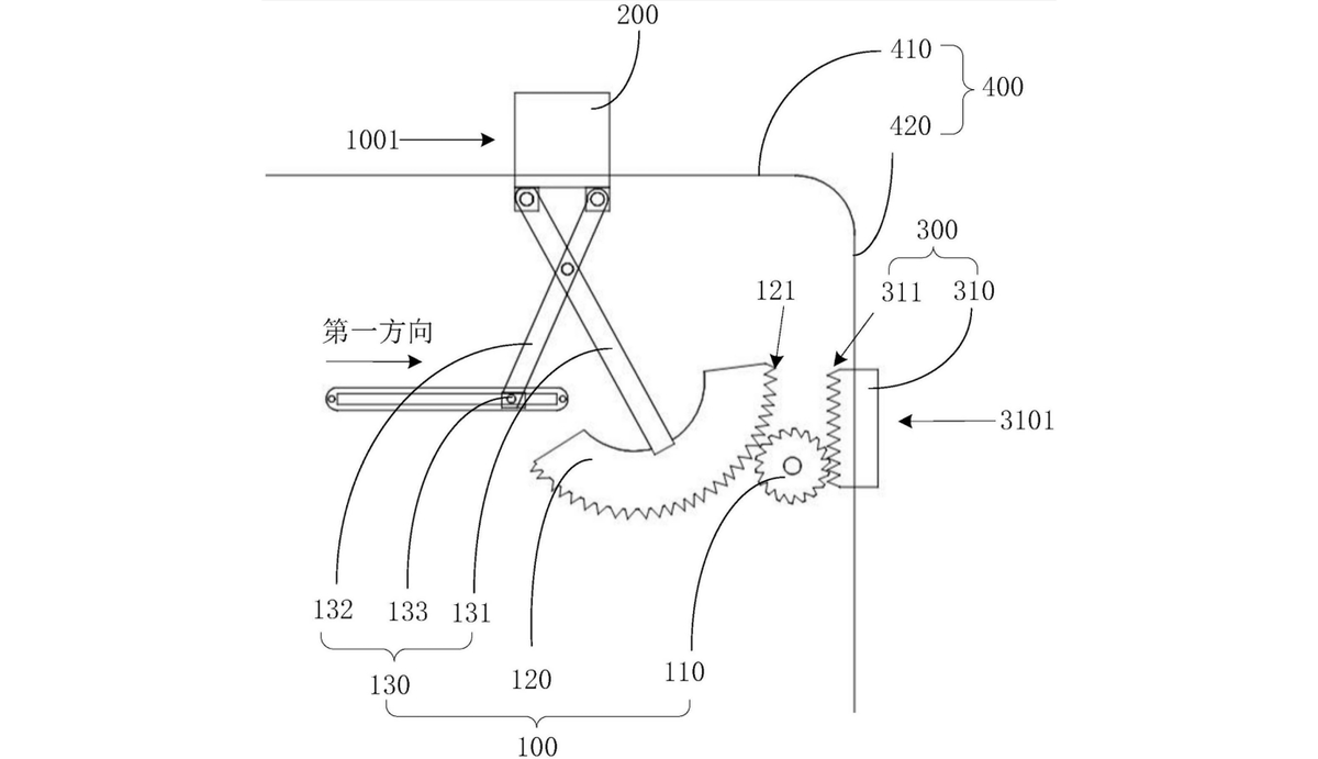
На сайте Государственного ведомства интеллектуальной собственности Китая появился новый патент под номером CN217883600U, который носит название «Агентство по мобильной камере и электронное оборудование». Заявку подавала Beijing Xiaomi Mobile Software Co., Ltd., и она был одобрена и официально опубликована регулятором.

Если говорить простым языком, технология включает в себя мобильный механизм камеры и электронное оборудование. Мобильный механизм камеры включает в себя:

  1. механизм передачи, который в свою очередь включает в себя подключенный входной конец питания, механизм плоского шатуна и выходной конец питания, который используется для подключения к камере;
  2. выезжающий механизм, который подключен к выходному концу питания и используется для перемещения модуля камеры между первой и второй позициями.

В прилагающейся сопутствующей документации сказано, что за счет этого реализуется полноценное использование фронтальной камеры без нарушения целостности панели экрана смартфона. Структура надежна, проста в эксплуатации и недорогая.

Ключевым же отличием данной разработки от предыдущей является то, что, поскольку используется плоский шатунный механизм для подачи мощности, общее движение механизма расположено в одной плоскости, а это уменьшает толщину электронного оборудования с помощью мобильного механизма камеры. Проще говоря, с такой технологией всплывающая камера будет тоньше, занимаемое пространство внутри корпуса уменьшится, а значит и телефон станет тоньше.

Интересно, что уже не один год китайский производитель занимается улучшением подэкранной камеры – такая технология в теории позволяет избавить устройство от наличия вообще каких-либо выдвижных механизмов и всё так же не влияет на полезное пространство дисплея. Но у этой технологии до сих пор существует ощутимый недостаток – качество съемки на подэкранную фронтальную камеру ощутимо ниже.

Смартфоны Xiaomi превращаются в ключ от BMW

-2

В начале этого года компания Apple объявила, что с выходом одного из обновлений операционной системы iPhone можно будет использовать для бесключевого доступа к автомобилям BMW. Общественности понравилось такое решение, хотя речь и шла только про последние модели немецкого автопрома. Теперь аналогичная функция появляется и в телефонах Xiaomi.

Сама BMW Group объявила, что намеревается расширить сферу применения цифровых ключей для Android-устройств, на официальном сайте еще около двух месяцев назад. Утверждалось, что уже с ноября цифровые ключи BMW будут доступны для ведущих китайских брендов – Xiaomi, Huawei, Honor, Vivo и OPPO.

При этом, разумеется, далеко не каждое авто этого производителя будет поддерживать нововведение. Отмечается, что цифровой ключ BMW подходит для 10 моделей, включая новый BMW 3 серии, новый BMW 5 серии, электрический BMW iX3 и других представителей последнего поколения. Пользователю достаточно лишь поднести мобильный телефон к индукционной зоне на дверной ручке со стороны водителя, чтобы моментально разблокировать автомобиль.

Для того, чтобы смартфон выполнял функцию ключа, не требуется постоянного подключения к сети Интернет, необходимо только единожды завершить его активацию, после чего он будет активен на регулярной основе. На разряде смартфона это тоже никак не скажется, поскольку технология работает в режиме низкого энергопотребления.

Redmi Buds 4 Lite: дизайн раскрыт

-3

На одном из мероприятий в мае пекинский гигант электроники выпустил новое поколение беспроводных наушников Redmi Buds 4. В состав линейки вошли две модели – обычная «четвёрка» и версия Pro. Согласно последней информации, в ближайшее время компания Лэя Цзюня готовится пополнить ассортимент серии еще одной, более доступной моделью под названием Redmi Buds 4 Lite.

В сети уже появились рендеры внешнего вида грядущей новинки, которые опубликовал ресурс 91mobiles. На изображениях видно, что новые наушники сильно напоминают AirPods 3 – это вкладыши, и, поскольку здесь используется не внутриканальная конструкция, наушники не получат функцию активного шумоподавления.

Что касается зарядного футляра, то он не сильно отличается от предшествующего поколения. На кейсе расположены светодиодные индикаторы, а поверхность, судя по всему, будет матовой, чтобы предотвратить и уменьшить сбор отпечатков пальцев.

О технических характеристиках Redmi Buds 4 Lite пока нет детальных утечек, но они точно должны превзойти третье поколение. Напомним, Redmi Buds 3 Lite очень легкие (каждый наушник всего 4,3 грамма), размер драйвера 6 мм, присутствует шумоподавление ENC, режим низкой задержки, а соединение осуществляется через Bluetooth 5.2. Кроме того, Redmi Buds 3 Lite обеспечивает до 5 часов автономной работы, а с учетом использования зарядного футляра емкостью 315 мАч продолжительность работы может достигать 18 часов.

Дизайн Redmi K60 тоже появился в сети

-4

Авторитетный источник Xiaomiui славится многочисленными успешными прогнозами, которые сделаны по большей части на основании анализа кода MIUI. Но это не мешает специалистам получать информацию и из других источников. На этот раз Xiaomiui опубликовал изображения того, как будет выглядеть предстоящий Redmi K60.

Увы, неизвестно, основаны ли эти изображения на просочившихся официальных CAD-рендерах или просто объединяют воедино все предыдущие утечки. Тем не менее, кое-какое представление о том, что нас ждёт, из них все же можно сделать.

Итак, согласно рендеру, Redmi K60 получит плоский дисплей с фронтальной камерой в центральном отверстии. Вокруг экрана видны крайне тонкие рамки, и на первый взгляд кажется, что все они имеют одинаковую толщину, но если присмотреться повнимательнее, то становится заметно, что подбородок всё-таки слегка шире. Также Xiaomiui утверждает, что у девайса будет плоская рама, как и у всех последних моделей телефонов пекинского бренда.

На тыльной панели возможного Redmi K60 установлены три камеры, расположенные в немного меньшем блоке, чем у модели K50. Сам блок похож на то, что используется в линейке Xiaomi 12, но расположение объективов отличается: сверху маленькое круглое отверстие, под ним большое круглое, а нижнее и вовсе имеет квадратную форму.

Предполагается, что серия Redmi K60 будет оснащаться различными чипами, включая Qualcomm Snapdragon 8 Plus Gen 1 и даже новейший 8 Gen 2, везде будет установлена AMOLED-панель с разрешением 1440р и частотой 120 Гц, а за основу будет взят дизайн базового Redmi K60. Xiaomiui считает, что линейка будет анонсирована в начале следующего года, а базовый Redmi K60 будет представлен за пределами Китая под названием Poco F5.

Qualcomm представляет Snapdragon 782G

-5

Американский полупроводниковый гигант вновь выпустил обновленный чипсет, который вновь предназначается для смартфонов среднего класса. Сперва Qualcomm представила Snapdragon 7 Gen 1, который должен был заменить модель 778G, но теперь появляется Snapdragon 782G, что делает иерархию еще более запутанной.

Формально, перед нами немного улучшенный 778G. Теперь частота основного ядра выросла с 2,5 ГГц до 2,7 ГГц, еще три ядра работают с частотой 2,2 ГГц, а четыре энергоэффективных – на частоте 1,9 ГГц. Производитель говорит, что прирост производительности составил 5% для центрального процессора и 10% для графического, и это действительно не так уж и много.

Новый 782G имеет тот же процессор сигналов изображений Spectra ISP, Qualcomm AI Engine, Snapdragon Elite Gaming и современный аудиопакет Snapdragon Sound, что и серия 778G. Также новинка поддерживает всё те же камеры разрешением до 200 Мп, предлагает модем Snapdragon X53 с поддержкой 5G, систему FastConnect 6700 для Wi-Fi 6E и снова изготавливается по 6-нанометровой технологии – кажется, Qualcomm даже не пытается скрыть, что нужно как-то избавиться от остатков 778G и 778G+.

Учитывая это, становится понятно, что Snapdragon 782G не собирается конкурировать со Snapdragon 7 Gen 1. Вероятно, данный чип будет использоваться в смартфоны нижнего уровня среднего класса, и на стоимости таких аппаратов это не сильно скажется.

Презентация Xiaomi 13: карты раскрыты

-6

Флагманская линейка смартфонов Xiaomi 13 может быть представлена в конце ноября по одним слухам, в конце ноября – по другим, или даже еще две недели назад – по третьим. До тех пор, пока сама Xiaomi не решит рассекретить дату мероприятия, нам остается только гадать. А еще можно обращать внимание на то, что говорят авторитетные инсайдеры, такие как Bald Panda.

Один из самых прославленных инсайдеров, работающих в направлении китайского рынка мобильных устройств, утверждает, что презентация Xiaomi 13 состоится уже 1 декабря. Если он прав, то уже в предстоящий четверг компания официально представит долгожданные флагманы для китайского рынка.

Это подтверждает и тот факт, что сам глава бренда Redmi и китайского подразделения Xiaomi Лу Вейбинг сообщил, что пекинская компания выпустит новые флагманские модели и устройства среднего класса в ноябре. Несмотря на то, что он не называет конкретно Xiaomi 13, можно предположить, что в конечном итоге именно об этой линейке идёт речь – никаких других телефонов в ближайшее время не ожидается.

В свою очередь ресурс iGeekPhone опубликовал информацию о стоимости новинки. Утверждается, что базовый Xiaomi 13 подорожает на внутреннем рынке примерно на 20% по сравнению с предшественником, и его цена составит около 4500 юаней, то есть почти 38 тысяч рублей. Это связано с дополнительными затратами из-за продолжающейся в Китае пандемии коронавируса и модернизацией позиционирования. Сейчас девайс якобы уже находится в массовом производстве.