Добавить в корзинуПозвонить
Найти в Дзене

Лучшие европейские изобретения в 2022 году

Мы уже рассказывали о 100 изобретениях в России, признанных лучшими в «Роспатенте» за 2021 год. Аналогичный конкурс регулярно проводится и в Европейском патентном ведомстве (ЕПВ). 21 июня 2022 г. были объявлены его победители в 5 номинациях: «Промышленность», «Исследования», «Страны, не являющиеся членами ЕПВ», «Малый и средний бизнес», «Пожизненное достижение» (признание вклада, сделанного в науку на протяжении всей карьеры). О последних тенденциях в изобретательстве европейских стран вы можете узнать в этой статье. Финалистом европейской премии в области промышленных разработок стала команда немецких инженеров, возглавляемая Франком Херре и Ханс-Георгом Фрицем из компании «Dürr AG». Эта международная компания поставляет покрасочное и сборочное оборудование для автомобильной промышленности. Индивидуальная покраска автомобилей, например, нанесение полос на кузов, в настоящее время производится методом распыления. Остальные части кузова защищаются маскировочными материалами. Около 20% к
Оглавление

Мы уже рассказывали о 100 изобретениях в России, признанных лучшими в «Роспатенте» за 2021 год. Аналогичный конкурс регулярно проводится и в Европейском патентном ведомстве (ЕПВ). 21 июня 2022 г. были объявлены его победители в 5 номинациях: «Промышленность», «Исследования», «Страны, не являющиеся членами ЕПВ», «Малый и средний бизнес», «Пожизненное достижение» (признание вклада, сделанного в науку на протяжении всей карьеры). О последних тенденциях в изобретательстве европейских стран вы можете узнать в этой статье.

Экономная покраска автомобилей

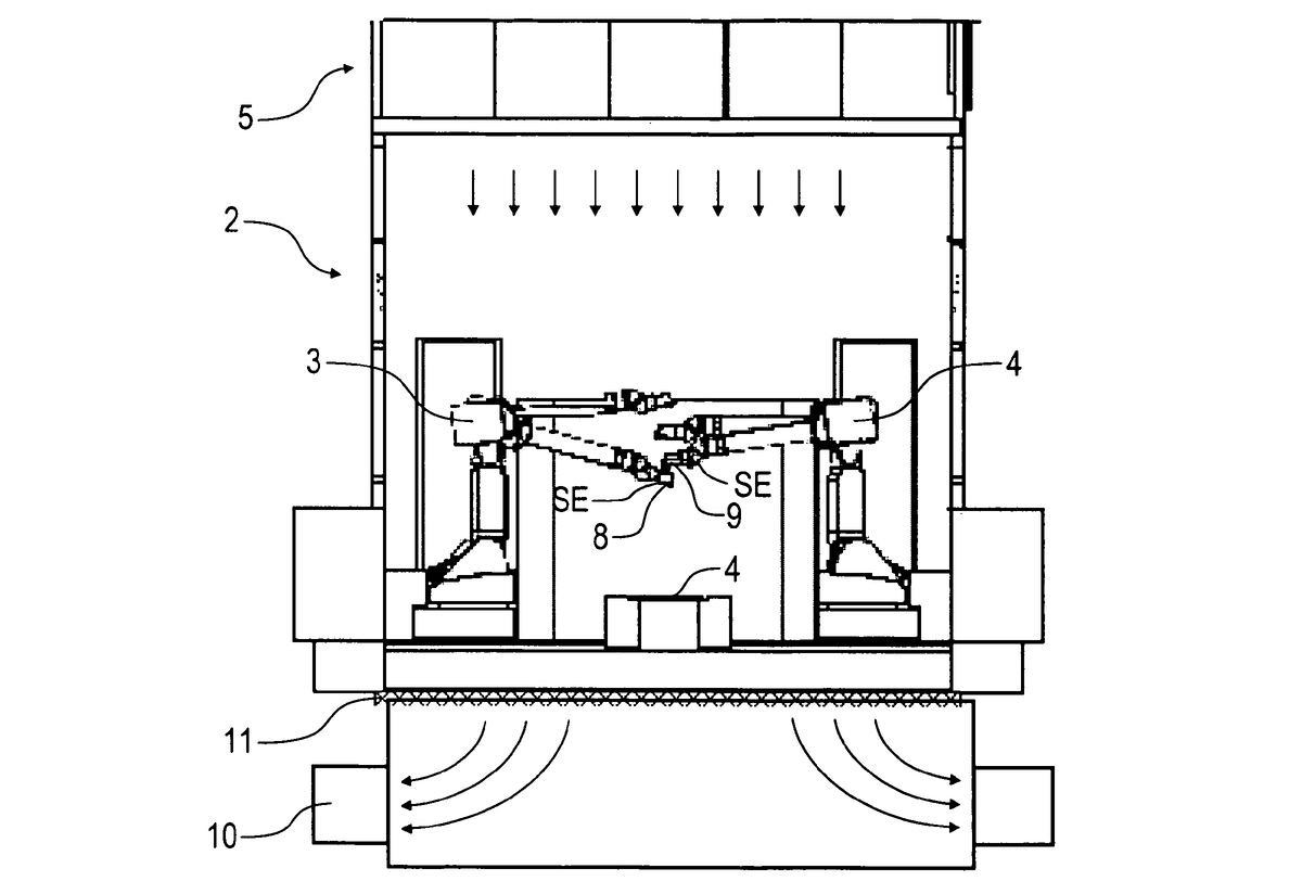
Финалистом европейской премии в области промышленных разработок стала команда немецких инженеров, возглавляемая Франком Херре и Ханс-Георгом Фрицем из компании «Dürr AG». Эта международная компания поставляет покрасочное и сборочное оборудование для автомобильной промышленности.

Индивидуальная покраска автомобилей, например, нанесение полос на кузов, в настоящее время производится методом распыления. Остальные части кузова защищаются маскировочными материалами. Около 20% краски по обычной технологии расходуется впустую, так как она попадает на нецелевую зону.

Покрасочная камера с роботизированным комплексом. Схема из патента ЕПВ EP3227030B1, авторы изобретения H.Fritz, B.Wöhr, M.Kleiner, T.Beyl, M.Bubek (Германия). На правах цитирования
Покрасочная камера с роботизированным комплексом. Схема из патента ЕПВ EP3227030B1, авторы изобретения H.Fritz, B.Wöhr, M.Kleiner, T.Beyl, M.Bubek (Германия). На правах цитирования

Инженеры Херре и Фриц предложили роботизированную систему покраски, которая работает аналогично струйным принтерам. Система включает в себя устройство для нанесения краски, роботизированную руку, управляющее программное обеспечение и очиститель сопел.

Вращающееся устройство нанесения краски. Источник: https://www.epo.org (Официальный сайт Европейского патентного ведомства). На правах цитирования.
Вращающееся устройство нанесения краски. Источник: https://www.epo.org (Официальный сайт Европейского патентного ведомства). На правах цитирования.

Перед покраской производится сканирование кузова и сравнение с данными по каждой модели автомобиля. При необходимости управляющее программное обеспечение вносит корректировку в схему движения роботизированной руки. Краска наносится параллельными полосами через 48 мельчайших сопел, которые синхронно открываются и закрываются.

Схема, поясняющая процесс покраски. Схема из патента ЕПВ EP3227030B1, авторы изобретения H.Fritz, B.Wöhr, M.Kleiner, T.Beyl, M.Bubek (Германия). На правах цитирования
Схема, поясняющая процесс покраски. Схема из патента ЕПВ EP3227030B1, авторы изобретения H.Fritz, B.Wöhr, M.Kleiner, T.Beyl, M.Bubek (Германия). На правах цитирования

По словам изобретателей, такая технология позволит сократить расход краски на 50 т в год, потребление энергии на 30%, а также снизить количество маскирующих материалов по сравнению с обычной линией покраски. Планируется также адаптировать эту систему для окрашивания всего кузова автомобиля.

Графеновые суперконденсаторы – зарядка за 15 секунд

Эстонские ученые Я.Лейс, М.Арулепп и А.Перксон (компания «Skeleton Technologies») запатентовали в Европейском патентном ведомстве суперконденсаторы, которые, по словам разработчиков, способны заряжаться за 15 секунд, выдерживают более 1 миллиона циклов зарядки и на 30% эффективнее обычных аккумуляторов. Это достигается за счет специальной технологии изготовления графена, который используется в качестве электрода.

Секрет производства такого графена компанией-правообладателем не раскрывается. Обычный графен как электродный материал представляет собой плоский слой из атомов углерода. Так называемый «изогнутый графен», применяемый для изготовления суперконденсаторов в данном изобретении, имеет сложную структуру наподобие скомканного листа бумаги, а вернее, микроскопических кусочков.

Большая площадь поверхности электрода увеличивает плотность энергии по сравнению с плоским графеном. Как заявляют разработчики, это позволяет «обойти» аналогичную продукцию конкурентов по мощности в 4 раза.

Все мы знаем, что такое аккумуляторы – это источники постоянной электрической энергии, которые используются практически везде: от игрушек до сотовых телефонов. Конденсатор – это тоже «накопитель» электрического заряда, который дает не постоянную, а импульсную мощность.

Суперконденсаторы накапливают в 10-100 раз больше мощности, чем обычные электролитические конденсаторы, и в то же время выдерживает гораздо больше циклов зарядки и разрядки по сравнению с аккумуляторами. Можно сказать, что такие устройства занимают промежуточное положение между традиционными конденсаторами и аккумуляторами.

Суперконденсаторы и графен для их изготовления. Источник: https://www.epo.org (Официальный сайт Европейского патентного ведомства). На правах цитирования.
Суперконденсаторы и графен для их изготовления. Источник: https://www.epo.org (Официальный сайт Европейского патентного ведомства). На правах цитирования.

Суперконденсатор может сразу отдать большое количество энергии, например, при запуске двигателя автомобиля, а после этого его можно перезарядить от аккумулятора. Использование таких «гибридных» устройств позволяет снизить вес источников энергии, а также увеличить срок их службы.

Пакетная подача энергии, требующая большого количества быстрых циклов зарядки-разрядки может использоваться в транспортных средствах (в том числе для быстрой зарядки электромобилей и электроавтобусов на остановках), в кранах, лифтах, фотовспышках, медицинской технике. Суперконденсаторы также нужны для устранения провалов напряжения там, где это особенно критично, например, в больницах и на заводах.

А по мере совершенствования суперконденсаторов, перехода к нанотехнологиям, они смогут использоваться и в малогабаритных электронных устройствах: в компьютерах, мобильных телефонах и другой портативной электронике.

Нужно отметить, что аналогичные разработки графеновых суперконденсаторов давно ведутся и в России. А с 2017 года запущено производство отечественных суперконденсаторов.

Металлоядные растения как способ борьбы с загрязнением окружающей среды

В номинации «Исследования» премией ЕПВ отмечена работа французской исследовательницы Клод Грисон, которая изобрела способ обеззараживания почв, загрязненных тяжелыми металлами. Такие соединения относятся к наиболее опасным, так как они не поддаются прямому биологическому разложению.

Некоторые растения способны накапливать в свих клетках тяжелые металлы. К ним относится, например, ярутка лесная (Thlaspi caerulescens) – невзрачное травянистое растение, произрастающее в горах Европы. Она аккумулирует в своих тканях никель, кадмий и цинк в концентрациях, в 10-100 раз превышающих таковую в обычных растениях.

Источник: unsplash.com
Источник: unsplash.com

Снижение загрязнения окружающей среды – это одна из приоритетных задач экологической политики европейских стран. В России также известны способы фиторемедиационной очистки почвы от тяжелых металлов почв. С этой целью сажают травянистые и древесные растения для последующего выноса биомассы, в которой сконцентрированы тяжелые металлы. Так, например, традиционно на городских территориях высаживаются клен, липа и каштан, которые ежегодно накапливают в древесине и листве до 22 г свинца и 24 г цинка.

Запасы цинка, никеля, меди и марганца в Европе истощены, а их потребление, наоборот, возрастает. В своей разработке Клод Грисон предлагает не уничтожать растения, накопившие в себе тяжелые металлы, а обрабатывать их для получения катализаторов химических процессов в промышленности.

Ярутка
Ярутка

Технология извлечения катализаторов из растений предполагает их термическую обработку при температуре 200°C – 400°C для разрушения органических веществ и высвобождения металлов, а затем обработку кислотами. Подбирая определенный тип растений-ремедиаторов, можно добиться извлечения нужного металла. Например, ярутка преимущественно накапливает в своих тканях никель, а вьюнки и ипомеи – медь. В их биомассе может содержаться до 36 000 мг на 1 кг сухих растений.

Массовое производство вакцин на основе мРНК

В номинации «Пожизненное достижение» (хотя правильнее было бы назвать это «Достижение всей жизни») премия досталась венгерскому биохимику Каталине Карико. Она разработала способ модификации рибонуклеиновой кислоты (РНК) для ее безопасного использования при производстве вакцин.

Вакцинация в настоящий момент является одной из приоритетных мер в борьбе с инфекционными болезнями. При разработке вакцин важны не только их эффективность и безопасность, но и простота производства, которая влияет на конечную стоимость препарата. Использование РНК, а не ДНК, значительно упрощает и ускоряет процесс разработки и производства вакцин.

Источник: unsplash.com
Источник: unsplash.com

В 90-е гг. прошлого века уже проводились испытания вакцин на основе РНК, которые показали высокую эффективность. Однако также было выявлено токсичное влияние липидов, которые использовались для доставки молекул РНК в клетки. Они вызывали сильную воспалительную реакцию. Поэтому на долгие годы разработка РНК-вакцин была приостановлена.

В 1997 году Каталина Карико вместе со своим коллегой создала вакцину от ВИЧ на основе мРНК, а чтобы подавить нежелательную воспалительную реакцию, – модифицировала молекулу РНК. В конце 2013 г. она присоединилась к немецкой компании «BioNTech» и в 2020 году была выпущена первая мРНК вакцина против COVID-19.

Российские ученые в области медицины и иммунологии также не отстают от своих зарубежных коллег. Пандемия коронавируса вынудила искать новые методы для быстрого создания профилактических средств в условиях массового роста численности инфицированных.

За период с 2020 по 2022 годы отечественные специалисты запатентовали более 400 изобретений по производству вакцин, в том числе на основе мРНК. Созданы такие препараты, которые позволят защитить человека от рака, ВИЧ, птичьего гриппа и других болезней.

Другие статьи, которые могут быть для вас интересны:

Как запатентовать идею в России

Лучшие изобретения за 2021 год, зарегистрированные в «Роспатенте»

История изобретения простых вещей: как появились спички, туалетная бумага и другие обычные предметы