Найти в Дзене
Вкусные Новости

Новый патент компании Apple! У Android нет шанса?

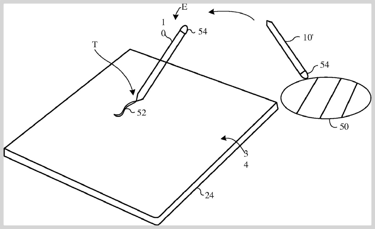
Apple 🍎 недавно подала патент на своей новое изобретение пол названием "Компьютерная система со стилусом для выбора цвета" С помощью этого компания Apple даст мощный толчок развитию технологии и искусства,ведь совсем скоро можно будет просто "скопировать" цвета из реального мира и перенести на виртуальный рисунок. Для этого в apple pencil установили датчик света,который будет находиться на обратной стороне от "Стержня" Согласно патенту, Apple Pencil добавит отсканированный цвет в палитру. Она будет доступна в приложениях для рисования. С этим девайсом iPad станет по настоящему лидером рынка,его можно будет полноценно использовать как лист для рисования. 🔥🔥🔥🔥🔥🔥🔥🔥🔥🔥🔥🔥🔥🔥🔥🔥🔥🔥🔥🔥🔥🔥 ПОДПИШИСЬ НА КАНАЛ ПРО ВСЕ НА СВЕТЕ 🔥🔥🔥🔥🔥🔥🔥🔥🔥🔥🔥🔥🔥🔥🔥🔥🔥🔥🔥🔥🔥🔥 📺📺📺📺📺📺📺📺📺📺📺📺📺📺📺📺📺📺📺📺📺 ПОДПИШИСЬ НА КАНАЛ НОВОСТЕЙ 📺📺📺📺📺📺📺📺📺📺📺📺📺📺📺📺📺📺📺📺📺 Больше интересного, прокачай свой мозг!🔥🔥🔥 Плодороден ли Марсианский грунт? Для кого
Оглавление

Apple 🍎 недавно подала патент на своей новое изобретение пол названием "Компьютерная система со стилусом для выбора цвета"

С помощью этого компания Apple даст мощный толчок развитию технологии и искусства,ведь совсем скоро можно будет просто "скопировать" цвета из реального мира и перенести на виртуальный рисунок.

-2

Для этого в apple pencil установили датчик света,который будет находиться на обратной стороне от "Стержня"

Согласно патенту, Apple Pencil добавит отсканированный цвет в палитру. Она будет доступна в приложениях для рисования.

С этим девайсом iPad станет по настоящему лидером рынка,его можно будет полноценно использовать как лист для рисования.

🔥🔥🔥🔥🔥🔥🔥🔥🔥🔥🔥🔥🔥🔥🔥🔥🔥🔥🔥🔥🔥🔥

ПОДПИШИСЬ НА КАНАЛ ПРО ВСЕ НА СВЕТЕ

🔥🔥🔥🔥🔥🔥🔥🔥🔥🔥🔥🔥🔥🔥🔥🔥🔥🔥🔥🔥🔥🔥

📺📺📺📺📺📺📺📺📺📺📺📺📺📺📺📺📺📺📺📺📺

ПОДПИШИСЬ НА КАНАЛ НОВОСТЕЙ

📺📺📺📺📺📺📺📺📺📺📺📺📺📺📺📺📺📺📺📺📺

Больше интересного, прокачай свой мозг!🔥🔥🔥

Плодороден ли Марсианский грунт?
Для кого в СССР выпускали автомобили с правым рулем? ИНТЕРЕСНО🔥🔥🔥
Почему иллюминаторы в самолетах круглые?