Найти в Дзене
Старый радиолюбитель

Эксперименты. Пьезокерамические фильтры.

Сегодня по поводу дождя на улице разбирался у себя в рубке. При этом, как всегда, обнаруживается что-то забытое. Сегодня мне попался пакетик, в котором лежали пьезокерамические фильтры. Я решил проверить их АЧХ.
Пьезокерамические многозвенные фильтры обладают малым затуханием в полосе пропускания, а их частотные характеристики имеют крутые скаты. Однако затухание этих фильтров за пределами полосы

Сегодня по поводу дождя на улице разбирался у себя в рубке. При этом, как всегда, обнаруживается что-то забытое. Сегодня мне попался пакетик, в котором лежали пьезокерамические фильтры. Я решил проверить их АЧХ.

Пьезокерамические многозвенные фильтры обладают малым затуханием в полосе пропускания, а их частотные характеристики имеют крутые скаты. Однако затухание этих фильтров за пределами полосы пропускания возрастает немонотонно. Вследствие этого необходимо включать перед фильтром резонансный комтур, который одновременно служит трансформатором, согласующим выходное сопротивление преобразователя частоты с входным сопротивлением фильтра.

Пьезокерамические фильтры по своим характеристикам находятся в промежуточном положении между электромеханическими и пьезокварцевыми фильтрами. Их основная особенность заключается в относительно небольшой стоимости и малых габаритах. Они могут работать на более высоких частотах и обладают более широкой полосой пропускания. Так, например, новые разработки пьезокерамических фильтров , в которых использованы элементы из титаната свинца с некоторыми примесями, предназначены для работы в диапазоне частот до 200 МГц. Эти фильтры обладают очень малыми размерами и перспективны в связи с возможностью использовать их в монолитных интегральных схемах. Недостатком этих фильтров пока является сложная технология их изготовления. Каждая пластинка титаната свинца, которая до обжига имеет толщину 500 мкм, после обжига полировкой доводится до толщины 120 мкм.

У меня были два вида фильтров.

Рис. 1. Пьезокерамические фильтры. Слева на 465 кГц, справа - на 6,5 МГц
Рис. 1. Пьезокерамические фильтры. Слева на 465 кГц, справа - на 6,5 МГц

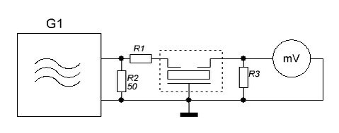
Так как в пакетике остался чек из магазина "Кварц" на ул. Буженинова, то фильтры должны быть наши. Покопавшись в сети, определил, что голубенький с двумя точками - это ФП1З8-63-04, а "кубик" скорее всего один из серии ФП1Р1. Для проверки АЧХ собрал простенькую схему.

Рис. 2.. Схема для проверки АЧХ фильтров.
Рис. 2.. Схема для проверки АЧХ фильтров.

Величина резисторов R1, R3 взял из справочника. Первым подключил "кубик".

Рис. 3. АЧХ фильтра на 465 кГц.
Рис. 3. АЧХ фильтра на 465 кГц.

Все почти совпало с теорией. Полоса по уровню 0,7 - около 6,5 кГц (по справочнику не более 7,5 кГц). Затухание фильтра получилось около 7 дБ, а затухание в полосе задержания - около 35 дБ. Очень неплохо для такого малышки. Далее подключил фильтр на 6,5 МГц.

Рис. 4. АЧХ фильтра на 6,5 МГц. Красная кривая - без согласования, зеленая - с рекомендованными резисторами.
Рис. 4. АЧХ фильтра на 6,5 МГц. Красная кривая - без согласования, зеленая - с рекомендованными резисторами.

Если посмотреть на зеленую кривую, которую я снимал, подключив фильтр по всем правилам, то она получилась немного асимметричной. Но по уровню 0,7 ширина полосы пропускания получилась около 250 кГц, а по уровню 0,5 - почти 300 кГц. Сразу появилось желание применить такой фильтр в UW3DI, ведь тогда не понадобится ни трехсекционный КПЕ, ни сопряжение контуров. А ведь можно поставить пару фильтров последовательно. По идее затухание вне полосы пропускания может составить более 50 дБ. А затухание у этого фильтра получилось всего 4дБ.

Чтобы посмотреть влияние согласования фильтра на его АЧХ я подключил фильтр без согласующих резисторов. Получилась красная кривая. Скаты стали круче, полоса по уровню 0,5 расширилась, но неравномерность ужасающая. Вывод: надо согласовывать.

По науке для нормальной работы пьезокерамического фильтра необходимо согласовать его с выходом преобразователя частоты и входом усилителя ПЧ, между которыми он обычно включается. В промышленных приемниках согласование пьезокерамического фильтра с преобразователем частоты обычно производится с помощью одиночного фильтра ПЧ.

Всем здоровья и успехов.