Добавить в корзинуПозвонить
Найти в Дзене
Максим Бармин

Противооткатная система - устройство, принцип функционирования и меры предосторожности

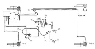
Схема организации противооткатной системы 1 - ГТЦ 2 - Клапан-ограничитель давления
3 - Вакуумный усилитель
4 - Педаль ножного тормоза
5 - Педаль сцепления
6 - Трос привода сцепления
7 - Клапан удержания давления (PHV)
8 - Трос привода PHV
9 - Тормозной механизм переднего колеса
10 - Тормозной механизм заднего колеса
11 - Модуль управления/гидромодулятор ABS
Противооткатная система облегчает процедуру трогания стоящего на подъеме автомобиля, обеспечивая плавность начала движения даже при управлении транспортного средства неопытным водителем.
Схема организации противооткатной системы представлена на иллюстрации.
При определенной крутизне подъема, когда водитель при выжатом сцеплении начинает отпускать педаль ножного тормоза противооткатная система продолжает удерживать давление в тормозных контурах, предотвращая откатывание автомобиля назад, что позволяет водителю приводить транспортное средство в движение в обычной манере, не заботясь об удерживании его тормозами.
Клапан удерж

Схема организации противооткатной системы

1 - ГТЦ 2 - Клапан-ограничитель давления
3 - Вакуумный усилитель
4 - Педаль ножного тормоза
5 - Педаль сцепления
6 - Трос привода сцепления

7 - Клапан удержания давления (PHV)
8 - Трос привода PHV
9 - Тормозной механизм переднего колеса
10 - Тормозной механизм заднего колеса
11 - Модуль управления/гидромодулятор ABS

 
1 - Корпус
2 - Кулачковый вал
3 - Шарик
4 - Направляющая шарика
5 - Манжета
6 - Диафрагменная пружина
7 - Заглушка

8 - Толкатель
9 - Возвратная пружина
10 - Пыльник
11 - Крышка
12 - Исполнительный рычаг
13 - Уплотнительные кольца
14 - Уплотнительное кольцо
1 - Корпус 2 - Кулачковый вал 3 - Шарик 4 - Направляющая шарика 5 - Манжета 6 - Диафрагменная пружина 7 - Заглушка 8 - Толкатель 9 - Возвратная пружина 10 - Пыльник 11 - Крышка 12 - Исполнительный рычаг 13 - Уплотнительные кольца 14 - Уплотнительное кольцо

Противооткатная система облегчает процедуру трогания стоящего на подъеме автомобиля, обеспечивая плавность начала движения даже при управлении транспортного средства неопытным водителем.

Схема организации противооткатной системы представлена на иллюстрации.

При определенной крутизне подъема, когда водитель при выжатом сцеплении начинает отпускать педаль ножного тормоза противооткатная система продолжает удерживать давление в тормозных контурах, предотвращая откатывание автомобиля назад, что позволяет водителю приводить транспортное средство в движение в обычной манере, не заботясь об удерживании его тормозами.

Клапан удержания давления (PHV)

В линию, соединяющую ГТЦ с гидромодулятором антиблокировочной системы (ABS) включен специальный клапан удержания давления (PHV). Клапан оборудован кулачковым валом, вращающимся в обоих направлениях при повороте соединенного с педалью сцепления исполнительного рычага.

При выключенном сцеплении (педаль выжата) толкатель клапана отжимается пружиной вправо.

Разворачивание эксцентрика кулачкового вала при отпускании педали сцепления приводит отжиманию толкателя влево с преодолением усилия, развиваемого возвратной пружиной. Левее штока толкателя в оборудованном седлом направляющем канале клапанной сборки помещается шарик. Когда автомобиль занимает горизонтальное положение, либо наклонен вперед, шарик находится в левом (переднем) конце направляющего канала. При въезде на подъем, шарик под воздействием гравитации откатывается назад, прижимаясь к седлу до тех пор, пока педаль сцепления не будет отпущена и шток толкателя не сместится влево.

Во время остановки на подъеме водитель удерживает выжатыми обе педали (ножного тормоза и сцепления), при этом шарик в направляющем канале занимает крайнее правое положение, прижимаясь к седлу клапана и перекрывая поток гидравлической жидкости к главному цилиндру. Перед началом движения водитель отпускает педаль ножного тормоза, продолжая удерживать педаль сцепления выжатой, однако давление тормозных контурах продолжает сохраняться за счет отсекания их шариковым клапаном. Далее водитель может начать отпускать сцепление с одновременным выжиманием газа, как делает это при начале движения на ровной дороге, - вращение кулачкового вала приведет к открыванию клапана PHV и отпусканию тормозов.