Найти в Дзене
Эйдос Нортон

Вечный двигатель - сможет ли фантастика стать реальностью ?

Идея разработки бестопливного двигателя не нова, за разработку такого агрегата во все времена брались именитые ученные своего времени. Однако технических средств для реализации задумки не хватало. В некоторых случаях дело доходило только до теоретического обоснования, но существуют примеры реально разработанных альтернативных двигателей, которые призваны создать конкуренцию классическим электрическим машинам. Одним из таких вариантов как раз таки является  магнитный двигатель. Вечный двигатель знаком практически каждому еще со школьной скамьи, только на уроках физики четко утверждалось, что добиться практической реализации невозможно из-за сил трения в движущихся элементах. Среди современных разработок магнитных моторов представлены самоподдерживающие модели, в которых магнитный поток самостоятельно создает вращательное усилие и продолжает себя поддерживать в течении всего процесса работы. Но основным камнем преткновения является КПД любого двигателя, включая магнитный, так как он
Магнитный двигатель Минато.
Магнитный двигатель Минато.

Идея разработки бестопливного двигателя не нова, за разработку такого агрегата во все времена брались именитые ученные своего времени. Однако технических средств для реализации задумки не хватало. В некоторых случаях дело доходило только до теоретического обоснования, но существуют примеры реально разработанных альтернативных двигателей, которые призваны создать конкуренцию классическим электрическим машинам. Одним из таких вариантов как раз таки является  магнитный двигатель.

Магнитный двигатель Перендева.
Магнитный двигатель Перендева.

Вечный двигатель знаком практически каждому еще со школьной скамьи, только на уроках физики четко утверждалось, что добиться практической реализации невозможно из-за сил трения в движущихся элементах. Среди современных разработок магнитных моторов представлены самоподдерживающие модели, в которых магнитный поток самостоятельно создает вращательное усилие и продолжает себя поддерживать в течении всего процесса работы. Но основным камнем преткновения является КПД любого двигателя, включая магнитный, так как он никогда не достигает 100%, со временем мотор все равно остановится.

Поэтому все практические модели требуют повторного вмешательстве через определенное время или каких-либо сторонних элементов, работающих от независимого источника питания. Наиболее вероятным вариантом бестопливных двигателей и генераторов выступает магнитная машина. В которой основной движущей силой будет магнитное взаимодействие между постоянными магнитами, электромагнитными полями или ферромагнитными материалами.

-3

Актуальным примером реализации являются декоративные украшения, выполненные в виде постоянно двигающихся шаров, рамочек или других конструкций. Но для их работы необходимо использовать батарейки, которые питают постоянным током электромагниты. Поэтому далее рассмотрим тот принцип действия, который подает самые обнадеживающие ожидания.

Сегодня существует достаточно большое количество магнитных и других типов двигателей.

Некоторые варианты были спроектированы именитыми ученными, достижения которых стали основополагающим камнем в фундаменте науки. Поэтому далее мы рассмотрим самые популярные из них.

Двигатель Тесла.

-4

Такой двигатель, по словам изобретателя, может функционировать и в качестве генератора, вырабатывая электрическую энергию при вращении дисков. Он состоит из:

  • электрического генератора, который представлен двумя дисками из проводника, помещенными в униполярной магнитной среде;
  • гибкого ремня, изготовленного из проводящего материала, расположенного по периферии дисков;
  • независимых магнитов, сохраняющих униполярность полей при вращении дисков.

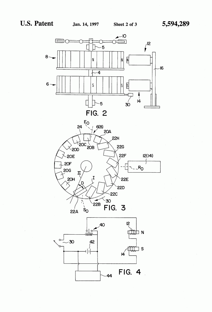
Двигатель Минато.

-5

Данный пример нельзя назвать самовращающимся двигателем, так как для его работы требуется постоянная подпитка электрической энергией. Но такой электромагнитный мотор  позволяет получать значительную выгоду, затрачивая минимум электричества для выполнения физической работы.

На схеме, особенностью этого вида является необычный подход к расположению магнитов на роторе. Для взаимодействия с ним на статоре возникают магнитные импульсы за счет кратковременной  подачи электроэнергии через реле или полупроводниковый прибор.

При этом   ротор будет вращаться, пока его элементы не размагнитятся. Сегодня все еще ведутся разработки по улучшению и повышению эффективности устройства, поэтому назвать его полностью завершенным нельзя.

Двигатель Лазарева.

-6

Это не только простейший гравитационный двигатель, но и одна из реально работающих моделей. Принцип действия заключается в том, что вода по тонкой трубке из-за избытка давления будет подниматься вверх и скапывать на прокладку и вращать крыльчатку. Далее вода будет просачиваться сквозь губку и под воздействием магнитного поля Земли  дальше стекать в нижний резервуар. Цикл будет повторяться до тех пор, пока жидкость не исчезнет. Для усиления момента на вращаемый вал добавляют магнитные усилители.

Двигатель Говарда Джонсона.

-7

В своих исследованиях Джонсон руководствовался теорией потока непарных электронов, действующих в любом магните. В его двигателе обмотки статора формируются из магнитных дорожек. На практике эти агрегаты получили реализацию в конструкции роторного и линейного двигателя.

На статоре магниты повернуты одноименным полюсом к роторным, поэтому они взаимодействуют на силах отталкивания. Особенность работы ученого заключалась в длительном вычислении  расстояний и зазоров между основными элементами мотора.

Двигатель Перендева.

-8

Данный вид двигателя, как и предыдущий, представляет собой еще одну модель магнитного взаимодействия между статором и ротором, где обе части содержат постоянные магниты. Схема конструкции обоих представляет собой диск или кольцо, в котором точечно устанавливаются вектолиты.

Взаимодействие магнитных потоков в двигателе происходит  при задании начального крутящего момента. Точность положения и угла наклона можно отстроить только в лабораторных или заводских условиях.

Двигатель Алексеенко.

-9

Интересный вариант магнитного двигателя представил ученый Алексеенко, который создал устройство с роторными магнитами необычной формы.

Как видите на рисунке, магниты имеют необычную изогнутую форму. Которая максимально сближает противоположные полюса. Что делает магнитные потоки в месте сближения значительно сильнее. При начале вращения отталкивание полюсов получается значительно большим, что и должно обеспечить непрерывное движение по кругу.

-10

Так же были предложены машины, приводимые в действие более неясными источниками, но на них распространяются те же неизбежные законы, и в конечном итоге они будут прекращены.

В 2017 году были открыты новые состояния материи, темпоральные кристаллы, в которых в микроскопическом масштабе атомы компонентов находятся в непрерывном повторяющемся движении, что удовлетворяет буквальному определению «вечного движения». Однако, они не представляют собой вечные двигатели в традиционном смысле и не нарушают термодинамические законы, потому что они находятся в своем квантовом основном состоянии, поэтому никакая энергия не может быть извлечена из них; у них есть «движение без энергии».

-11

Попытки же исследования места, времени и причины возникновения идеи вечного двигателя — задача весьма сложная. Не менее затруднительно назвать и первого автора подобного замысла. К самым ранним сведениям о Perpetuum mobile относится, по-видимому, упоминание, которое мы находим у индийского поэта, математика и астронома Бхаскары, а также отдельные заметки в арабских рукописях XVI в., хранящихся в Лейдене, Готе и Оксфорде. В настоящее время прародиной первых вечных двигателей по праву считается Индия. Так, Бхаскара в своём стихотворении, датируемом примерно 1150 г., описывает некое колесо с прикреплёнными наискось по ободу длинными, узкими сосудами, наполовину заполненными ртутью. Принцип действия этого первого механического перпетуум мобиле был основан на различии моментов сил тяжести, создаваемых жидкостью, перемещавшейся в сосудах, помещённых на окружности колеса.

-12

На данный момент вопрос о создании вечного двигателя остается открытым и постройка подобного устройства, как показывает современная наука и техника, практически невозможна. Но, как иногда бывает, то, что невозможно сейчас, становится реальностью завтра. Вполне возможно, что такое завтра может наступить и для идеи о вечном двигателе. Пока что все попытки их построения оканчивались неудачами.

Всем спасибо !!!!!!