Найти в Дзене
MOSFET

Что такое интегральная микросхема (ИМС)

Всего лет двадцать пять назад радиолюбителям и специалистам старшего поколения пришлось заниматься изучением новых по тому времени приборов — транзисторов. Нелегко было отказываться от электронных ламп, к которым так привыкли, и переключаться на теснящее и все разрастающееся «семейство» полупроводниковых приборов. А сейчас это «семейство» все больше и больше стало уступать свое место в радиотехнике и электронике полупроводниковым приборам новейшею поколения — интегральным микросхемам, часто называемым сокращенно ИМС. Что такое интегральная микросхема Интегральная микросхема - это миниатюрный электронный блок, содержащий в общем корпусе транзисторы, диоды, резисторы и другие активные и пассивные-элементы, число которых может достигать нескольких десятков тысяч. Одна микросхема Может заменить целый блок радиоприемника, электронной вычислительной машины (ЭВМ) и электронного автомата. «Механизм» наручных электронных часов, например, — это всего лишь одна большей микросхема. По своему функц
Оглавление

Всего лет двадцать пять назад радиолюбителям и специалистам старшего поколения пришлось заниматься изучением новых по тому времени приборов — транзисторов. Нелегко было отказываться от электронных ламп, к которым так привыкли, и переключаться на теснящее и все разрастающееся «семейство» полупроводниковых приборов.

А сейчас это «семейство» все больше и больше стало уступать свое место в радиотехнике и электронике полупроводниковым приборам новейшею поколения — интегральным микросхемам, часто называемым сокращенно ИМС.

Что такое интегральная микросхема

Интегральная микросхема - это миниатюрный электронный блок, содержащий в общем корпусе транзисторы, диоды, резисторы и другие активные и пассивные-элементы, число которых может достигать нескольких десятков тысяч.

Одна микросхема Может заменить целый блок радиоприемника, электронной вычислительной машины (ЭВМ) и электронного автомата. «Механизм» наручных электронных часов, например, — это всего лишь одна большей микросхема.

По своему функциональному назначению интегральные микросхемы делятся на две основные группы: аналоговые, или линейно-импульсные, и логические, или цифровые, микросхемы.

Аналоговые микросхемы предназначаются для усиления, генерирования и преобразования электрических колебаний разных частот, например, для приемников, усилителей, а логические — для использования в устройствах автоматики, в приборах с цифровым отсчетом времени, в ЭВМ.

Этот практикум посвящается знакомству с устройством, принципом работы и возможным применением самых простых аналоговых и логических интегральных микросхем.

На аналоговой микросхеме

Из огромного «семейства» аналоговых самыми простыми являются микросхемы-близнецы» К118УН1А (К1УС181А) и К118УН1Б (К1УС181Б), входящие в серию К118.

Каждая из них представляет собой усилитель, содержащий... Впрочем, об электронной «начинке» лучше поговорить позже. А пока будем считать их «черными ящичками» с выводами для подключения к ним источников питания, дополнительных деталей, входных и выходных цепей.

Разница же между ними заключается только в их коэффициентах усиления колебаний низких частот: коэффициент усиления микросхемы К118УН1А на частоте 12 кГц составляет 250, а микросхемы К118УН1Б — 400.

Рис. 1. Микросхема и схема на основе нее.

На высоких частотах коэффициент усиления этих микросхем одинаков — примерно 50. Так что любая из них может быть использована для усиления колебаний как низких, так и высоких частот, а значит, и для наших опытов. Внешний вид и условное обозначение этих микросхем-усилителей на принципиальных схемах устройств показаны на рис. 1.

Корпус у них пластмассовый прямоугольной формы. Сверху на корпусе — метка, служащая точкой отсчета номеров выводов. Микросхемы  рассчитаны на питание от источника постоянного тока напряжением 6,3 В, которое подают через выводы 7 (+Uпит) и 14 ( — Uпит).

Источником питания может быть сетевой блок питания с регулируемым выходным напряжением или батарея, составленная из четырех элементов 334 и 343.

Первый опыт с микросхемой К118УН1А (или К118УН1Б) проводи по схеме, приведенной на рис. 89. В качестве монтажной платы используй картонную пластинку размерами примерно 50X40 мм.

Микросхему выводами 1, 7, 8 и 14 припаяй к проволочным скобкам, пропущенным через проколы в картоне. Все они будут выполнять роль стоек, удерживающих микросхему на плате, а скобки выводов 7. и 14, кроме того, соединительными контактами с батареей GB1 (или сетевым блоком питания).

Между ними с обеих сторон от микросхемы укрепи еще по два-три контакта, которые будут промежуточными для дополнительных деталей. Смонтируй на плате конденсаторы С1 (типа К50-6 или К50-3) и С2 (КЯС, БМ, МБМ), подключи к выходу микросхемы головные телефоны В2.

Ко входу микросхемы подключи (через конденсатор С1) электродинамический микрофон В1 любого типа или телефонный капсюль ДЭМ-4м, включи питание и, прижав поплотнее телефоны к ушам, постучи легонько карандашом по микрофону. Если ошибок в монтаже нет, в телефонах должны быть слышны звуки, напоминающие щелчки по барабану.

Попроси товарища сказать что-то перед микрофоном — в телефонах услышишь его голос. Вместо микрофона ко входу микросхемы можешь подключить радиотрансляционный (абонентский) громкоговоритель с его согласующим трансформатором. Эффект будет примерно таким же.

Продолжая опыт с телефонным устройством одностороннего действия, включи между общим (минусовым) проводником цепи питания и выводом 12 микросхемы электролитический конденсатор C3, обозначенный на схеме штриховыми линиями. При этом громкость звука в телефонах должна возрасти.

Телефоны станут звучать еще громче, если такой же конденсатор включить в цепь вывода 5 (на рис, 1 — конденсатор С4). Но если при этом усилитель возбудится, то между общим проводом и выводом 11 придется включить электролитический конденсатор емкостью 5 — 10 мкФ на. номинальное напряжение 10 В.

Еще один опыт: включи между выводами 10 и 3 микросхемы керамический или бумажный конденсатор емкостью 5 — 10 тыс. пикофарад. Что получилось? В телефонах появился непрекращающийся -звук средней тональности. С увеличением емкости этого конденсатора тон звука в телефонах должен понижаться, а с уменьшением повышаться. Проверь это.

-2

Рис. 2. Внутренняя схема микросхемы.

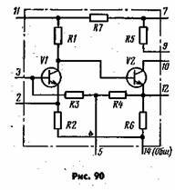
А теперь раскроем этот «черный ящичек» и рассмотрим его «начинку» (рис. 2). Да, это двухкаскадный усилитель с непосредственной связью между его транзисторами. Транзисторы кремниевые, структуры n-р-n. Низкочастотный сигнал, создаваемый микрофоном, поступает (через конденсатор С1) на вход микросхемы (вывод 3).

Падение напряжения, создающееся на резисторе R6 в эмиттерной цепи транзистора V2, через резисторы R4 и R5 подается на базу транзистора VI и открывает его. Резистор R1 — нагрузка этого транзистора. Снимаемый с него усиленный сигнал поступает на базу транзистора V2 для дополнительного усиления.

В опытном усилителе нагрузкой транзистора V2 были головные телефоны, включенные в его коллекторную цепь, которые преобразовывали низкочастотный сигнал в звук.

Но его нагрузкой мог бы быть резистор R5 микросхемы, если соединить вместе выводы 10 и 9. В таком случае телефоны надо включать между общим проводом и точкой соединения этих выводов через электролитический конденсатор емкостью в несколько микрофарад (положительной обкладкой к микросхеме).

При включении конденсатора между общим проводом и выводом 12 микросхемы громкость звука увеличилась, Почему? Потому что он, шунтируя резистор R6 микросхемы, ослабил действующую в ней отрицательную обратную связь по переменному току.

Отрицательная обратная связь стала еще слабее, когда ты второй конденсатор включил в базовую цепь транзистора V1. А третий конденсатор, включенный между общим проводом и выводом 11, образовал с резистором R7 микросхемы развязывающий фильтр, предотвращающий возбуждение усилителя.

Что получилось при включении конденсатора между выводами 10 и 5? Он создал между выходом и входом усилителя положительную обратную связь, которая превратила его в генератор колебаний звуковой частоты.

Итак, как видишь, микросхема К118УН1Б (или К118УН1А) — это усилитель, который может быть низ-кочастотным или высокочастотным, например, в приемнике. Но он может стать и генератором электрических колебаний как низких, так и высоких частот.

Микросхема в радиоприемнике

Предлагаем испытать эту микросхему в высокочастотном тракте приемника, собранного, например, по схеме, приведенной на рис. 3. Входной контур магнитной антенны такого приемника образуют катушка L1 и конденсатор переменной емкости С1. Высокочастотный сигнал радиостанции, на волну которой контур настроен, через катушку связи L2 и разделительный конденсатор С2 поступает на вход (вывод 3) микросхемы Л1.

С выхода микросхемы (вывод 10, соединенный с выводом 9) усиленный сигнал подается через конденсатор С4 на детектор, диоды VI и V2 которого включены по схеме умножения напряжения, а выделенный им низкочастотный сигнал телефоны В1 преобразуют в звук. Приемник питается от батареи GB1, составленной из четырех элементов 332, 316 или пяти аккумуляторов Д-01.

-3

Рис. 3. Схема приемника на микросхеме.

Во многих транзисторных приемниках усилитель высокочастотного тракта образуют транзисторы, а в этом — микросхема. Только в этом и заключается разница между ними.

Имея опыт предыдущих практикумов, ты, надеюсь, сможешь самостоятельно смонтировать иг наладить такой приемник и даже, если пожелаешь, дополнить его усилителем НЧгдля громкоговорящего радиоприема.

На логической микросхеме

Составной частью многих цифровых интегральных микросхем является логический элемент И-НЕ, условное обозначение которого ты видишь на рис. 4, а. Его символом служит знак «&», помещаемый внутри прямоугольника, обычно в верхнем левом углу, заменяющий союз «И» в английском языке. Слева два или больше входов, справа — один выход.

Небольшой кружок, которым начинается линия связи выходного сигнала, символизирует логическое Отрицание «НЕ» на выходе микросхемы. На языке цифровой техники «НЕ» означает, что элемент И-НЕ является инвертором, то есть устройством, выходные параметры которого противоположны входным.

Электрическое состояние и работу логического элемента характеризуют уровнями сигналов на его входах и выходе. Сигнал небольшого (или нулевого) напряжения, уровень которого не превышает 0,3 — 0,4 В, принято (в соответствии с двоичной системой счисления) называть логическим нулем (0), а сигнал более высокого напряжения (по сравнению с логическим 0), уровень которого может быть 2,5 — 3,5 В, — логической единицей (1).

Например, говорят: «на выходе элемента логическая 1». Это значит, что в данный момент на выходе элемента появился сигнал, напряжение которого соответствует уровню логической 1.

Чтобы не углубляться в технологию и устройство элемента И-НЕ, будем рассматривать его как «черный ящичек», у которого для электрического сигнала есть два входа и один выход.

Логика же элемента заключается в том, что при подаче на один из его входов логического О, а на второй вход логической 1, на выходе появляется сигнал логической 1, который исчезает при подаче на оба входа сигналов, соответствующих логической 1.

Для опытов, закрепляющих в памяти это свойство элемента, потребуются наиболее распространенная микросхема К155ЛАЗ, вольтметр постоянного тока, свежая батарея 3336Л и два резистора сопротивлением 1...1,2 кОм.

-4

Рис. 4. Логические элементы микросхемы К155ЛАЗ.

Микросхема К155ЛАЗ состоит из четырех элементов 2И-НЕ (рис. 4, б), питающихся от одного общего источника постоянного тока напряжением 5 В, но каждый из них работает как самостоятельное логическое устройство. Цифра 2 в названии микросхемы указывает на то, что ее элементы имеют по два входа.

Внешним видом и конструктивно она, как и все микросхемы серии К155, не отличается от уже знакомой тебе аналоговой микросхемы К118УН1, только полярность подключения источника питания иная. Поэтому сделанная ранее тобой картонная плата подойдет и для опытов с этой микросхемой. Источник питания подключают: +5 В — к выводу 7» — 5 В — к выводу 14.

Но эти выводы не принято обозначать на схематическом изображении микросхемы. Объясняется это тем, что на принципиальных электрических схемах элементы, составляющие микросхему, изображают раздельно, например, как на рис. 4, в. Для опытов можно использовать любой из ее четырех элементов.

Микросхему выводами 1, 7, 8 и 14 припаяй к проволочным стойкам на картонной плате (как на рис. 1). Один из входных выводов любого из ее элементов, например, элемента с выводами 13, соедини через ре-.зистор сопротивлением 1...1.2 кОм с выводом 14, вывод второго входа — непосредственно с общим («заземленным») проводником цепи питания, а к выходу элемента подключи вольтметр постоянного тока (рис. 5, а).

Включии питание. Что показывает вольтметр? Напряжение, равное примерно 3 В. Это напряжение соответствует сигналу логической 1 на выходе элемента. Тем же вольтметром измерь напряжение на выводе первого входа, И здесь, как видишь, тоже логическая 1. Следовательно, когда на одном из входов элемента логическая 1, а на втором логический 0, на выходе будет логическая 1.

-5

Рис. 5. Измерения напряжений на логическом элементе.

Теперь вывод и второго входа соедини через резистор сопротивлением 1...1.2 кОм с выводом 14 и одновременно проволочной перемычкой — с общим проводником, как показано на рис. 5, б.

При этом на выходе, как и в первом опыте, будет логическая 1. Далее, следя за стрелкой вольтметра, удали проволочную перемычку, чтобы и на второй вход подать сигнал, соответствующий логической 1.

Что фиксирует вольтметр? Сигнал на выходе элемента преобразовался в логический 0. Так оно и должно быть! А если любой из входов периодически замыкать на общий провод и тем самым имитировать подачу на него логического 0, то с такой же частотой на выходе элемента станут появляться импульсы тока, о чем будут свидетельствовать колебания стрелки вольтметра. Проверь это опытным путем.

Свойство элемента И-НЕ изменять свое состояние под воздействием входных управляющих сигналов широко используется в различных устройствах цифровой вычислительной техники. Радиолюбители же, особенно начинающие, очень часто используют логический элемент как инвертор — устройство, сигнал на выходе которого противоположен входному сигналу.

Подтвердить такое свойство элемента может следующий опыт. Соедини вместе выводы обоих входов элемента и через резистор сопротивлением 1...1,2 кОм подключи их к выводу 14 (рис. 5, в).

Так ты подашь на общий вход элемента сигнал, соответствующий логической 1, напряжение которого можно измерить вольтметром. Что при этом получается на выходе?

Стрелка вольтметра, подключенного к нему, чуть отклонилась от нулевой отметки шкалы. Здесь, следовательно, как и предполагалось, сигнал соответствует логическому 0.

Затем, не отключая резистор от вывода 14 микросхемы, несколько раз подряд замкни проволочной перемычкой вход элемента на общий проводник (на рис. 5, в показано штриховой линией со стрелками) и одновременно следи за стрелкой вольтметра.

Так ты убедишься в том, что когда на входе инвертора логический 0, на выходе в это время логическая 1 и, наоборот, когда на входе логическая 1 — на выходе логический 0.

Так работает инвертор, особенно часто используемый радиолюбителями в конструируемых ими импульсных устройствах.

-6

Рис. 6. Схема генератора сигналов ЗЧ на микросхеме.

Примером такого устройства может служить генератор импульсов, собранный по схеме, приведенной на рис. 6. В его работоспособности ты можешь убедиться сейчас же, затратив на это всего несколько минут.

Выход элемента D1.1 соедини с входами элемента D1.2 той же микросхемы, его выход — с входами элемента DJ.3, а выход этого элемента (вывод 8) — с входом элемента D1.1 через переменный резистор R1. К выходу элемента D1.3 (между выводом 8 и общим проводником) подключи головные телефоны B1, a параллельно элементам D1.1 и D1.2 электролитический конденсатор С1.

Движок переменного резистора установи в правое (по схеме) положение и включи питание — в телефонах услышишь звук, тональность которого можно изменять переменным резистором.

В этом эксперименте элементы D1.1, D1.2 и D1.3, соединенные между собой последовательно, подобно транзисторам трехкаскадного усилителя, образовали мультивибратор — генератор электрических импульсов прямоугольной формы.

Микросхема стала генератором благодаря конденсатору и резистору, создавшим между выходом и входом элементов частотозависимые цепи обратной связи. Переменным резистором частоту импульсов, генерируемых мультивибратором, можно плавно изменять примерно от 300 Гц до 10 кГц.

Какое практическое применение может найти такое импульсное устройство? Оно может стать, например, квартирным звонком, пробником для проверки работоспособности каскадов приемника и усилителя НЧ, генератором для тренировок по приему на слух телеграфной азбуки.

Самодельный игровой автомат на микросхеме

Подобное устройство можно превратить в игровой автомат «Красный или зеленый?». Схема такого имлульсного устройства приведена на рис. 7. Здесь элементы D1.1, D1.2, D1.3 той же (или такой же) микросхемы К155ЛАЗ и конденсатор С1 образуют аналогичный мультивибратор, импульсы которого управляют транзисторами VI и V2, включенными по схеме с общим эмиттером.

Элемент D1.4 работает как инвертор. Благодаря ему импульсы мультивибратора поступают на базы транзисторов в противофазе и открывают их поочередно. Так, например, когда на входе инвертора уровень логической 1, а на выходе уровень логического 0, то в Эти моменты, времени транзистор В1 открыт и лампочка HI в его коллекторной цепи горит, а транзистор V2 закрыт и его лампочка Н2 не горит.

При следующем импульсе инвертор изменит свое состояние на обратное. Теперь откроется транзистор V2 и загорится лампочка Н2, а транзистор VI закроется и лампочка H1 погаснет.

Но частота импульсов, генерируемых мультивибратором, сравнительно высокая (не меньше 15 кГц) и лампочки, естественно, не могут реагировать на каждый импульс.

Поэтому они светятся тускло. Но стоит нажать на кнопку S1, чтобы ее контактами замкнуть накоротко конденсатор С1 и тем самым сорвать генерацию мультивибратора, как тут же ярко загорится лампочка того из транзисторов, на базе которого в этот момент окажется напряжение, соответствующее логической 1, а другая лампочка совсем погаснет.

Заранее невозможно сказать, какая из лампочек после нажатия на кнопку будет продолжать гореть — можно только гадать. В этом смысл игры.

Игровой автомат вместе с батареей питания (3336Л или три элемента 343, соединенные последовательно) можно разместить в коробке небольших размеров, например в корпусе «карманного» приемника.

Лампочки накаливания HI и Н2 (МН2,5-0,068 или МН2,5-0,15) размести под отверстиями в лицевой стенке корпуса и закрой их колпачками или пластинками органического стекла красного и зеленого цветов. Здесь же укрепи выключатель питания (тумблер ТВ-1) и кнопочный выключатель §1 (типа П2К или КМ-Н) остановки мультивибратора.

Налаживание игрового автомата заключается в тщательном подборе резистора R1. Его сопротивление должно быть таким, чтобы при остановке мультивибратора кнопкой S1 по крайней мере 80 — 100 раз число загораний каждой из лампочек было примерно одинаково.

-7

Рис. 7. Самодельный игровой автомат на микросхеме - схема.

Сначала проверь, работает ли мультивибратор. Для этого параллельно конденсатору С1, е,мкость которого может быть 0,1...0,5 мкФ, подключи электролитический конденсатор емкостью 20...30 мкФ, а к выходу мультивибратора головные телефоны — в телефонах должен появиться звук низкой тональности.

Этот звук — признак работы мультивибратора. Затем удали электролитический конденсатор, резистор R1 замени подстроечным резистором сопротивлением 1,2...1,3 кОм, а между выводами 8 и 11 элементов DI.3 и D1.4 включи вольтметр постоянного тока. Изменением сопротивления подстро-ечного резистора добейся такого положения, чтобы вольтметр показывал нулевое напряжение между выходами этих элементов микросхемы.

Число играющих может быть любое. Каждый по очереди нажимает на кнопку остановки мультивибратора. Выигрывает тот, кто при равном числе ходов, например двадцати нажатий на кнопку, большее число раз угадает цвета загорающихся лампочек после остановки мультивибратора.

К сожалению, частота мультивибратора описанного здесь простейшего игрового автомата из-за разрядки батареи несколько изменяется, что, конечно, сказывается на равновероятности зажигания разных лампочек, поэтому лучше питать его от источника стабилизированного напряжения 5 В.

Литература:  Борисов В. Г. Практикум начинающего радиолюбителя.2-е изд., перераб. и доп. 1984.