Добавить в корзинуПозвонить
Найти в Дзене
АНО НКЦ СЭ "Гильдия"

Современные возможности установления латентного содержания документа с помощью метода электростатического репродуцирования

В экспертно-криминалистической практике нередко встречаются вопросы, связанные с установлением содержания какого-либо документа или его части. В этих случаях эксперты используют специальные технико-криминалистические методы, которых арсенал которых достаточно широк и с каждым разом пополняется все новыми изобретениями отечественных и зарубежных ученых. Одним из таких методов является электростатическое репродуцирование изображений, который показал свою эффективность при решении поставленных инициатором исследования экспертных задач, тогда как другие инструментальные средства и приемы в данном случае оказались «бесполезны». Например, с целью восстановления содержания документа представленного на рисунке 1 нами применялась следующие методы: Тем не менее, достичь положительного результата в данном конкретном случае не удалось, поскольку природа скрытых изображений на объекте исследования не соответствовала тем условиям и параметрам, которые позволяет реализовать вышеперечисленные приемы
Оглавление

В экспертно-криминалистической практике нередко встречаются вопросы, связанные с установлением содержания какого-либо документа или его части. В этих случаях эксперты используют специальные технико-криминалистические методы, которых арсенал которых достаточно широк и с каждым разом пополняется все новыми изобретениями отечественных и зарубежных ученых. Одним из таких методов является электростатическое репродуцирование изображений, который показал свою эффективность при решении поставленных инициатором исследования экспертных задач, тогда как другие инструментальные средства и приемы в данном случае оказались «бесполезны». Например, с целью восстановления содержания документа представленного на рисунке 1 нами применялась следующие методы:

  • контрастирующей фотографии (с применением репродукционной установки Keiser Fototechnik, Германия) в сочетании со щелевым источником освещения «Искатель», Россия);
  • юминесцентного анализа (с применением видеоспектрального компаратора Foster & Freeman VSC 400, Великобритания);
  • цифровой обработки изображений путем разложения первоначального массива изобразительной информации на частотные, яркостные и хроматические характеристики, а также методы фильтрации, усреднения промежуточных изображений по выделяемым характеристикам и гамма-коррекции и другие.

Тем не менее, достичь положительного результата в данном конкретном случае не удалось, поскольку природа скрытых изображений на объекте исследования не соответствовала тем условиям и параметрам, которые позволяет реализовать вышеперечисленные приемы и технические средства. В результате применения вышеуказанных методов на одной из сторон исследуемого фрагмента документа были установлены отдельные вдавленные неокрашенные штрихи, необразующие в своей совокупности какого-либо смыслового содержания, что обусловлено значительной остаточной деформацией бумажного полотна, непозволяющей компенсировать имеющиеся «шумовые» эффекты.

После чего было принято решение о применении метода электростатического репродуцирования изображений, который основан на явлении распределения заряженных частиц, образуемых коронным разрядом и последующем проявлении полученного электростатического изображения, поскольку метод электростатического репродуцирования главным образом предназначен для визуализации дефектов, возникших в результате изменения свойств поверхности документов, в основном на бумажной основе. В частности, позволяет эффективно устанавливать содержание документов по вдавленным штрихам. Для его реализации в экспертной практике используется специальное оборудование, например, прибор ESDA (Foster&Freeman, Великобритания), прибор DOCUSTAT (Projectina AG, Швейцария), прибор Троеборье (Россия).

Принцип визуализации основан на явлении распределения заряженных частиц, образуемых коронным разрядом и состоит из следующих этапов: 1) объект размещается на рабочей поверхности и накрывается лавсановой пленкой; 2) лавсановая пленка присасывается к объекту с помощью компрессора; 3) на поверхность объекта, накрытого лавсановой пленкой, наносится заряд; 4) полученное скрытое электростатическое изображение проявляется специальным порошком (тонером, как правило, на сферической стеклянной основе) и фиксируется.

Техника применения метода электростатического репродуцирования.

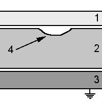
Порядок размещение объекта исследования: 1 – лавсановая пленка; 2 – исследуемый объект; 3 – металлическая поверхность; 4 – дефект поверхности.

Нанесение заряда высокого электрического потенциала – очувствление в поле коронного разряда: 5 – коронатор; 6 – распределение зарядов

Образование скрытого электростатического изображения дефекта поверхности при стекании (7) – нейтрализации заряда на заземленную металлическую пластину.

Скрытое электростатическое изображение дефекта поверхности (8).

Проявленное (визуализированное) тонером скрытое электростатическое изображение дефекта поверхности (9).

Следует отметить, что формирование скрытого электростатического изображения осуществлялось за счет разного времени нейтрализации электрических зарядов, получаемых в процессе очувствления – зарядки поверхности до высокого электрического потенциала по площади, определяемой физико-химическими свойствами исследуемой поверхности (бумаги). Закрепление проявленного скрытого электростатического изображения происходит не на поверхности приемника (бумаге и т.п.), а на поверхности, где происходило его формирование, – лавсане, что, в свою очередь, позволяет отнести данный метод к разряду неразрушающих.

Указанный метод, в нашем случае, реализовывался с применением прибора ESDA2 (Foster & Freeman, Великобритания).

Стадии применения метода:

1. Подготовка объекта к исследованию. Для создания оптимальных условий выявления следов, изменялась электропроводность бумажного листового материала путем изменения его относительной влажности. Документы предварительно помещались в эксикатор, представляющий собой герметичную камеру с несколькими сетчатыми полками, в нижней части которой находилась открытая емкость с дистиллированной водой (≈18-20° С). Время увлажнения устанавливалось экспериментально от 5 до 30 мин. Влажность воздуха внутри камеры увеличивалась до необходимого уровня в результате испарения воды и ее молекулы осаждались на объекте. Контроль относительной влажности, температуры и времени увлажнения внутри специальной камеры и за ее пределами происходил посредством использования электронного сенсорного измерителя (thermo-hygrometer-clock, производства «Temptec»). Показатели влажности варьировались в пределах 10–90%.

Далее документ размещался на рабочей поверхности прибора и расправлялся под воздействием вакуумного насоса (компрессора). Предметный стол для исследуемых объектов сделан из электропроводящего пористого материала, который: обеспечивает плоскую, стабильную основу для документа; позволяет создавать частичное разрежение воздуха под документом; обеспечивает электростатически заземленную плоскость, необходимую для исследования.

Документ полностью покрывался специальной лавсановой пленкой, находящейся в комплекте прибора, которая расправлялась с целью устранения мелких морщин. Работа проводилась в специальных микрофибровых перчатках для работы с негативами Matin M-6326 Glove.

2. Создание скрытого электростатического изображения. На поверхность пленки наносился электростатический заряд с помощью ручного пульта коронного разряда, состоящего из заземленного кожуха и тонкой вольфрамовой нити, подключенной к источнику высокого напряжения (~8 КВ).

Процесс формирования скрытого зарядового изображения осуществлялся следующим образом. Пульт коронного разряда, перемещался вдоль поверхности документа, покрытого лавсановой пленкой, с разными амплитудами, скоростью перемещения и расстоянием от коронатора до предметного стола. Время электростатического заряжения и распределения (растекания) заряда после окончания коронирования подбиралось эмпирически от 5 до 15 мин.

3. Проявление скрытого электростатического изображения. Полученное скрытое изображение, проявлялось на лавсановой пленке с использованием специального мелкодисперсного порошка (тонера) на основе стеклянных шариков для каскадного проявления (cascade 2 developer).

Для проявления изображения применялись следующие способы:

  • обработка поверхностей тонером при помощи спонжиков, кистей;
  • естественного осыпания тонера в приемный резервуар под наклоном рабочего стола;
  • использование аэрозольной камеры, в которой специальная турбина разгоняет частицы специального проявочного порошка по поверхности документа. В качестве модификации способов проявки скрытого изображения использовались различные магнитные дактилоскопические порошки с магнитной кистью. Также в процессе подбора условий проявления изображения использовался тонер с различной степенью увлажнения.
  • Фиксация проявленного изображения производилась по правилам репродукционной фотосъемки.

В результате применения метода на представленном фрагменте бумаги был установлен рукописный текст, образованный вдавленными неокрашенными штрихами (рис. 2):

 Рис.1. Фрагмент листа бумаги, представленного на исследование
Рис.1. Фрагмент листа бумаги, представленного на исследование

Результат выявления первоначального содержания рукописного текста на представленном фрагменте бумаги
Результат выявления первоначального содержания рукописного текста на представленном фрагменте бумаги

В заключении отметим, что спрогнозировать (смоделировать) универсальные условия использования метода крайне сложно, экспертам часто приходится действовать опытным путем, получая порой неожиданные результаты. Таким образом, для повышения эффективности и уточнения техники применения метода электростатического репродуцирования изображений предстоит значительная эмпирическая работа.

Оригинал статьи на нашем сайте: https://expguild.com/library/sovremennye-vozmozhnosti-ustanovleniya-latentnogo-soderzhaniya-dokumenta-s-pomoshchyu-metoda-elektro/