Тема расположения акустических систем в комнате для прослушивания претерпевала множество обсуждений и споров. Особо увлеченные люди писали на эту тему доклады и книги, стараясь донести читателю некую универсальную истину, состоящую из многообразия терминов и формул, чертежей и графиков. Одним из таких энтузиастов является основатель фирмы Cardas Audio – Джордж Кардас (George Cardas).
Основываясь на своем опыте, он один из первых ввел в индустрию аудио/видео техники понятие «золотое сечение», или соотношение Фибоначчи.
Применяя для производства своей продукции эту константу, Джордж так же утверждает, что использование правила «золотого сечения» при расстановке акустических систем в комнатах для прослушивания дает лучшие результаты из тех, которые возможны для данного помещения. Благодаря такому позиционированию комнатные резонансы минимально мешают слушателю, в следствии чего звучание систем выходит на новый уровень. Верно ли его утверждение? Проверим!
Подготовка
Я ориентируюсь на слух. По этому параметру был выбран весь мой сетап, слухом я пользовался и при выборе места для АС в моей комнате. По большому счету, то положение АС, на котором я остановился, меня вполне устраивало. Периодически, когда хотелось получить от звука чего-то конкретного, я направлял динамики полочников на себя – вокал становится очерченнее и яснее, с более явным позиционированием. Но при этом же несколько теряется масштаб стерео. Когда хочется того самого масштаба – динамики АС смотрят прямо – и вот сцена обретает более крупные очертания, стерео окружает, но позиции инструментов и вокала не так точно локализуются.
«Дьявол в мелочах», господа. Кому еще, как не любителям качественного звука, больше всего подходит это выражение? Вот эти мелочи и подталкивали периодически меня на поиск «золотой середины», а в итоге привели к «золотому сечению».
Далее, думаю, не будет лишним ознакомить читателя с моей комнатой для прослушивания.
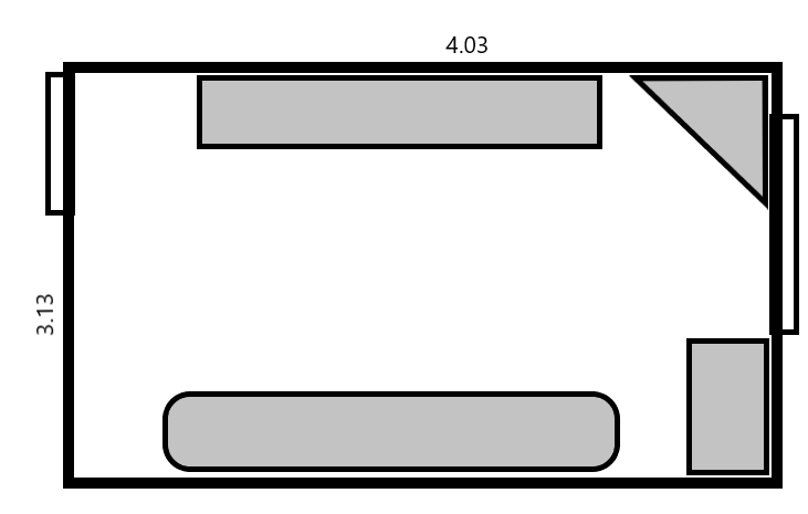
Помещение ничем особенным не отличается от многих других, которые собратья-меломаны приспособили под свое пристанище. Параметры его я укажу на схеме ниже:
Инженерных институтов я не заканчивал, поэтому масштаб перенесен, как говорится, «на глаз». Слева – входная дверь. По длинным стенам: сверху – мебель, которую в народе называют «стенка». Она усеяна нишами. Внизу расположился диван из коллекции «Акустический Поглотитель 2000». На полу лежит ковер, на него была скидка при покупке Поглотителя. В нижнем правом углу стоит платяной шкаф, будь он неладен. В верхнем правом углу – компьютерный стол. К нему претензий нет, пусть стоит себе. За столом, по короткой стене – выход на лоджию, который при надобности могут закрыть тяжелые «блэкаут» шторы. Ну и пара нюансов, которые я не отразил на схеме: высота натяжного потолка – 3,5 метра; стены оклеены плотными обоями с мелкой текстурой, как у ткани, а затем окрашены.
АС на стойках я разместил вот так:
При таком расположении, расстояние от фазоинвертора до стены примерно 45 сантиметров. Как можно видеть, между слушателем и АС образовался практически правильный треугольник. Левую колонку смещать ближе к двери опасно – дверь открывается в комнату. Понимаете, какая неприятность может произойти с тем, кто ее откроет.
Расчет «золотого сечения».
Подходя к расчетам нужной для расположения АС позиции в рамках «золотого сечения», я по началу воспользовался калькулятором, который любезно предоставляет всем желающим Джордж Кардас через своих поклонников. На своем сайте Джордж сообщает, что в прямоугольной комнате оптимальной будет расстановка АС по короткой стене. А расстановка по длинной стене – это когда совсем никак по-другому не получается. Точь-в-точь, как в моем случае. Будь он неладен, этот платяной шкаф.
Заминка с калькулятором вышла в тот момент, когда он попросил у меня расстояние между моими АС. Погоди, Джордж, а не за этим ли я пришел к тебе? Узнать, где и как, да на каком расстоянии?
«- Экспериментируйте» - отвечает Джордж, небрежно поигрывая соотношениями Фибоначчи.
Выход, конечно же, был найден. В сети можно найти калькулятор для расчета нужных нам пропорций по «золотому сечению». Я воспользовался этим.
Здесь подбираемся ближе к сути дела. Сама методика определения нужной позиции для АС заключается в расчете отрезков, которые будут соответствовать «золотому сечению», как по короткой, так и по длинной стене. Зная общую длину стен, рассчитать эти отрезки в онлайн калькуляторе не составит труда.
В моем случае были определены два отрезка: по длинной стене примерно 154 см., по короткой – примерно 120 см.
Отсчитываю рулеткой от угла и первый, и второй. Таким образом формирую прямоугольник, и рисую ему малярным скотчем диагональ. Минуточку, сейчас все станет понятно:
Вот и она, заветная диагональ зеленого цвета.
Согласно теории, именно на эту диагональ должен быть ориентирован НЧ-драйвер.
Располагаться АС могут в любой из точек этой диагонали, соблюдая синхронность левого и правого канала.
Вы тоже заметили? Похоже, что свет Венеры, отразившись от темной стороны Луны, заставил звезды сойтись так, что моя изначальная конфигурация оказалась очень близка к «золотому сечению»! И так вышло не только на схеме – фактически АС так же располагались прочти по заветным линиям.
Но эксперимент не мог быть прекращен – я уже зашел слишком далеко.
Было принято решение разместить полочники, ориентируясь по условным вершинам «золотого» прямоугольника. Методом проб и быстрых прослушок оптимальное место было определено, и отразилось оно на схеме, которая максимально близка к реальности:
Вкратце обосную выбор именно этой позиции:
- увеличилось расстояние от АС до задней стены, что благоприятно сказалось на построении сцены в глубину;
- если сдвинуть АС ближе к центру комнаты – очень страдает ширина сцены.
Таким образом, присев на краешек дивана, моя голова стала вершиной почти идеального треугольника.
Прослушивание и сравнение
Часть 2 - здесь
