Найти в Дзене

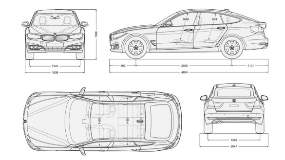
BMW 320d xDrive GT

Кратко о характеристиках Двигатель Количество цилиндров/клапанов на цилиндр - 4/4 Рабочий объем, куб. см - 1,997 Ход поршня / диаметр цилиндра, мм - 90.1/84 Максимальная мощность, кВт (л. с.) при об/мин - 135 (184)/5,000 Максимальный крутящий момент, Н•м при об/мин - 270/1,250-4,500 Масса Масса без груза (ЕС), кг - [1,635] Допустимая полная масса, кг - [2,130] Полезная нагрузка, кг - 570 Допустимая нагрузка на оси (передняя/задняя), кг - 935/1,240 Ходовые качества Максимальная скорость, км/ч - [229] Время разгона 0–100 км/ч, с - [8] Расход топлива Городской цикл, л/100 км - [8.5 - 8.2] Загородный цикл, л/100 км - [5.2 - 5.1] Смешанный цикл, л/100 км - [6.4 - 6.2] Выброс CO2, г/км - [149 - 145] Объем топливного бака (прибл.), л - 60 Колеса Размер передних шин - 225/55 R17 97V Размер задних шин - 225/55 R17 97V Размеры и материал исполнения - 8 J x 17 дюймов, легкосплавные Размеры и материал исполнения дисков задних колес - 8 J x 17 дюймов, легкосплавные
Оглавление

Кратко о характеристиках

-2

Двигатель

Количество цилиндров/клапанов на цилиндр - 4/4

Рабочий объем, куб. см - 1,997

Ход поршня / диаметр цилиндра, мм - 90.1/84

Максимальная мощность, кВт (л. с.) при об/мин - 135 (184)/5,000

Максимальный крутящий момент, Н•м при об/мин - 270/1,250-4,500

Масса

Масса без груза (ЕС), кг - [1,635]

Допустимая полная масса, кг - [2,130]

Полезная нагрузка, кг - 570

Допустимая нагрузка на оси (передняя/задняя), кг - 935/1,240

Ходовые качества

Максимальная скорость, км/ч - [229]

Время разгона 0–100 км/ч, с - [8]

Расход топлива

Городской цикл, л/100 км - [8.5 - 8.2]

Загородный цикл, л/100 км - [5.2 - 5.1]

Смешанный цикл, л/100 км - [6.4 - 6.2]

Выброс CO2, г/км - [149 - 145]

Объем топливного бака (прибл.), л - 60

Колеса

Размер передних шин - 225/55 R17 97V

Размер задних шин - 225/55 R17 97V

Размеры и материал исполнения - 8 J x 17 дюймов, легкосплавные

Размеры и материал исполнения дисков задних колес - 8 J x 17 дюймов, легкосплавные