Добавить в корзинуПозвонить
Найти в Дзене

Аэродинамика автомобилей. Возможности неисчерпаемы!

Каждый современный автопроизводитель стремится к тому, чтобы автомобиль имел наилучшую аэродинамику и счёт идёт на доли значений, но есть место, где можно поработать с аэродинамикой достаточно эффективно. В принципе весь корпус автомобиля подчинён действию аэродинамических сил, и инженеры стараются создавать кузова с максимально зализанными формами. И это правильно друзья, но! Как вы думаете, в какой части автомобиля воздух не встречается с аэродинамическими элементами? Догадались? Во внутренних полостях автомобиля, самым большим из которых является моторный отсек! Да, там есть возможность выхода воздуха Да, из моторного отсека воздух может быть выведен на стекло с повышением прижимной силы Но! Попадая в моторный отсек через решетку радитора и радиатор воздух не отводится в отдельные пространства, а живёт своей жизнью. Отвод воздуха начинается только там, где расположены щели, отверстия и т.д.. А я говорю именно о перенаправлении воздуха в эти самые щели и отверстия таким образом, что

Каждый современный автопроизводитель стремится к тому, чтобы автомобиль имел наилучшую аэродинамику и счёт идёт на доли значений, но есть место, где можно поработать с аэродинамикой достаточно эффективно.

В принципе весь корпус автомобиля подчинён действию аэродинамических сил, и инженеры стараются создавать кузова с максимально зализанными формами.

И это правильно друзья, но!

Как вы думаете, в какой части автомобиля воздух не встречается с аэродинамическими элементами?

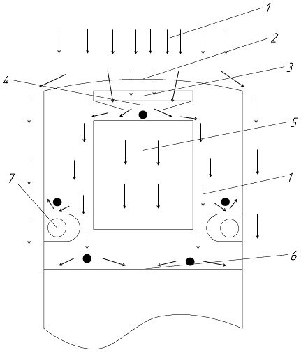
Чёрные точки - места повышенного сопротивления
Чёрные точки - места повышенного сопротивления

Догадались? Во внутренних полостях автомобиля, самым большим из которых является моторный отсек!

Да, там есть возможность выхода воздуха

Да, из моторного отсека воздух может быть выведен на стекло с повышением прижимной силы

Но!

Попадая в моторный отсек через решетку радитора и радиатор воздух не отводится в отдельные пространства, а живёт своей жизнью.

Отвод воздуха начинается только там, где расположены щели, отверстия и т.д..

А я говорю именно о перенаправлении воздуха в эти самые щели и отверстия таким образом, чтобы снизить аэродинамическое сопротивление.

-3

Кстати радиатор имеет наиболее нейтральныю аэродинамику благодаря оптимальной форме сот.

Наибольшее сопротивление в моторном отсеке создаётся перед двигателем и у задней стенки моторного отсека.

Я предлагаю отводить оттуда воздух при помощи аэродинамических элементов. Да-да... Можно отвести воздух от горячего двигателя и немножко увеличить толщину нейтрального радиатора.

Это будет выглядить примерно так:

-4

Или так:

-5

Основная задача такого подхода - перенаправить воздух в зоны минимального сопротивления с максимальной эффективностью.

Например, отводя воздух вбок автомобиля - можно увеличить устойчивость на прямой.

Отводя вверх - повысить прижимную силу

И работать это будет примерно так:

-6

Или так:

-7

В итоге автомобиль качественно улучшает свою аэродинамику. Такие элементы можно утанавливать серийно или при тюнинге, но необходимо в каждом конкретном случае просчитывать эффект. Ведь любой аэродинамический элемент может не только повысить прижимную силу, но и подъемную.

Кстати на элемент аэродинамики моторного отсека получен патент. Патент продаётся. Обращаться: perfon1988@mail.ru

А еще можете поддержать изобретателя и разместить ссылку на статью... ну где-нибудь)))