Найти в Дзене
Техно Гарри

Apple разрабатывает сгибаемый iPhone?

Совсем недавно компания Apple получила патент на технологию, которая потенциально может быть использована для обхода проблемы складных дисплеев, сминающихся и растрескивающихся при сгибании с течением времени! Да, той самой проблемы, которая мучает многие потребительские складные устройства, которые уже вышли на рынок. Ведь если вы помните, то все нынешние складные смартфоны имеют пластиковый дисплей, а это не есть хорошо, просто потому что он имеет свойство царапаться и сминаться, но вы же этого не хотите? Конечно же, производители борются с этим, как например на Z Flip пластик закрыт стеклом, но тем не менее он остается пластиком со своими проблемами! Возможно Apple сможет эту проблему решить? Так или иначе опубликованный под заголовком «Система с несколькими электронными устройствами», патент описывает технологию, которая позволяет двум или более устройствам действовать как одно, когда они расположены близко друг к другу посредством использования датчиков приближения. Получает

Совсем недавно компания Apple получила патент на технологию, которая потенциально может быть использована для обхода проблемы складных дисплеев, сминающихся и растрескивающихся при сгибании с течением времени!

Да, той самой проблемы, которая мучает многие потребительские складные устройства, которые уже вышли на рынок. Ведь если вы помните, то все нынешние складные смартфоны имеют пластиковый дисплей, а это не есть хорошо, просто потому что он имеет свойство царапаться и сминаться, но вы же этого не хотите?

-2

Конечно же, производители борются с этим, как например на Z Flip пластик закрыт стеклом, но тем не менее он остается пластиком со своими проблемами! Возможно Apple сможет эту проблему решить?

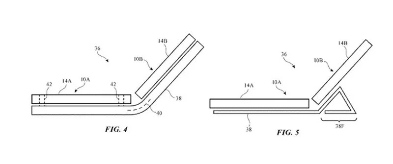
Так или иначе опубликованный под заголовком «Система с несколькими электронными устройствами», патент описывает технологию, которая позволяет двум или более устройствам действовать как одно, когда они расположены близко друг к другу посредством использования датчиков приближения.

Получается так, что патент предусматривает наличие отдельных устройств, автоматически определяющих, когда они расположены вместе, и затем разделяющих общее изображение дисплея между ними двумя или сколько их там будет. То есть, грубо говоря, это не один согнутый экран, а несколько прямых плавно трансформирующихся в согнутый, незаметно для нас, соблюдая минимальную дистанцию между гранями дисплея.

«Несколько электронных устройств могут использоваться вместе в системе» - записано в патенте!

«Электронные устройства могут использовать измерения датчиков и другую информацию, чтобы обнаруживать, когда край первого электронного устройства находится рядом с краем второго электронного устройства» - так же записано в патенте и является еще одним подтверждением моей догадки о том что "возможно" это будет несколько прямых дисплеев плавно сливающихся в один!

Тем более, как отмечает зарубежный портал AppleInsider, формулировка данного патента оставляет открытой возможность того, что технология может быть использована для создания одного гибкого устройства, состоящего из двух дисплеев, бесшовно взаимодействующих друг с другом, подобно грядущему Microsoft Surface Duo от Microsoft. В котором кстати говоря два обычных дисплея скрепленных шарнирами, и черт возьми это глупо, по сути ты получаешь два телефона намертво закрепленных между собой и зачем такое извращение? Люди хотят единый дисплей который может быть и компактным и большим когда это необходимо!

"Магнитные компоненты смогут удерживать устройства вместе в различных ориентациях. Магнитные компоненты смогут работать во взаимодействии со скошенными краями корпуса и другими конструкциями, чтобы помочь удерживать устройства в общей плоскости" - так же говориться в патенте Apple. Много умных слов, которые не нужны обычным пользователям как мы с вами, единственное что на нужно - это нормальный складной смартфон! И если Apple смогут реализовать то, что было описано выше, мы получим сгибающийся смартфон со стеклянным дисплеем, который не будет подвержен "гнутым" проблемам и в него вряд-ли будет попадать пыль и всякий мусор ведь не будет щелей и прочей гадости.

Единственно верно во всей этой ситуации то, что складные смартфоны, несомненно, являются последним трендом, и, хотя нет никаких слухов и даже намеков о том, что Apple планирует выпустить складной смартфон в ближайшее время, компания явно изучает их потенциал.

-3

А уж если они работают над этим то кто знает, год-два и мы увидим PhonePad или PadPhone, или как они еще могут его назвать... Известно лишь, что в течение многих лет Apple исследовали технологию складных дисплеев. Хотя, конечно, еще предстоит выяснить, дадут ли эти исследования и внедренные патенты какой-то конечный потребительский продукт. Будем ждать и наедятся на лучшее, хоть ждать придется и долго.

iPhone
151,8 тыс интересуются