Найти в Дзене

Встраиваемый тормоз электродвигателя

Электродвигатели с тормозом широко применяются в промышленности для оборудования, требующего быстрой и точной остановки после отключения питания. В электродвигателях со встроенным электромагнитным тормозом серий АИР (ET2, ED2) по ГОСТ и АИС (ET2, ED2) по DIN встроенный тормоз обеспечивает безопасность, предотвращая самопроизвольное вращение вала, что особенно важно в подъемных механизмах, станках, конвейерах и других системах, где требуется фиксация положения. Тормозные системы могут быть постоянного или переменного тока, иметь разное напряжение и тормозной момент в зависимости от модели двигателя. Некоторые модификации оснащаются ручкой для принудительного растормаживания, что упрощает обслуживание и аварийное отключение. Конструкция встроенного тормоза включает следующие основные элементы: Q – воздушный зазор между якорем и электромагнитом, который влияет на скорость срабатывания тормоза. При подаче напряжения на катушку создается магнитное поле, которое притягивает якорь, освобожд
Оглавление

Встраиваемый тормоз электродвигателя: принцип работы, устройство и применение

Что такое встроенный тормоз электродвигателя?

Электродвигатели с тормозом широко применяются в промышленности для оборудования, требующего быстрой и точной остановки после отключения питания. В электродвигателях со встроенным электромагнитным тормозом серий АИР (ET2, ED2) по ГОСТ и АИС (ET2, ED2) по DIN встроенный тормоз обеспечивает безопасность, предотвращая самопроизвольное вращение вала, что особенно важно в подъемных механизмах, станках, конвейерах и других системах, где требуется фиксация положения.

Тормозные системы могут быть постоянного или переменного тока, иметь разное напряжение и тормозной момент в зависимости от модели двигателя. Некоторые модификации оснащаются ручкой для принудительного растормаживания, что упрощает обслуживание и аварийное отключение.

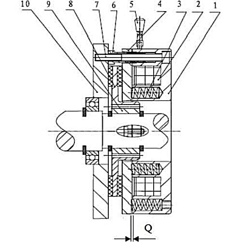
Устройство электромагнитного тормоза постоянного тока для электродвигателя

Конструкция встроенного тормоза включает следующие основные элементы:

  1. Корпус электромагнита – защищает внутренние компоненты от повреждений.
  2. Катушка тормоза – создает магнитное поле при подаче напряжения.
  3. Пружина – обеспечивает прижатие тормозного диска при отключении питания.
  4. Якорь электромагнита – подвижная часть, которая активирует тормоз.
  5. Ручка растормаживания (опционально) – позволяет вручную освободить вал.
  6. Регулировочный болт – для настройки тормозного усилия.
  7. Тормозной диск – непосредственно останавливает вращение.
  8. Зубчатая муфта – передает тормозное усилие на вал двигателя.
  9. Задний подшипниковый щит – фиксирует тормозной механизм.

Q – воздушный зазор между якорем и электромагнитом, который влияет на скорость срабатывания тормоза.

Принцип работы электромагнитного тормоза

При подаче напряжения на катушку создается магнитное поле, которое притягивает якорь, освобождая тормозной диск. Вал двигателя вращается свободно.

Когда питание отключается, пружина прижимает тормозной диск, останавливая вал. Время срабатывания зависит от конструкции тормоза и схемы подключения.

⚡ Схемы подключения электромагнитного тормоза

Существует два основных способа подключения тормоза:

📌 Переключение на стороне переменного тока

  • Магнитное поле исчезает медленно, поэтому тормоз срабатывает плавно.
  • Подходит для систем, где не требуется мгновенная остановка.
  • Меньший износ контактов, но более длительное время торможения.

📍 Переключение на стороне постоянного тока

  • Магнитное поле исчезает быстро, обеспечивая резкое торможение.
  • Используется в прецизионных системах (например, станках ЧПУ, лифтах).
  • Возможны скачки напряжения, но современные выпрямители оснащены защитой.

✅ Области применения двигателей с тормозом

⚙️ Подъемное оборудование (краны, лифты, тельферы) – предотвращает падение груза при отключении питания.

⚙️ Металлообрабатывающие станки – обеспечивает точную остановку шпинделя.

⚙️ Конвейерные системы – исключает самопроизвольное движение ленты.

⚙️ Медицинское оборудование – гарантирует безопасность при аварийном отключении.

⚙️ Робототехника и автоматика – позволяет точно позиционировать механизмы.

👍 Преимущества встроенных тормозов

✔ Быстрая остановка – снижает инерцию вращения.
✔ 
Безопасность – предотвращает неконтролируемое движение.
✔ 
Долговечность – современные модели устойчивы к износу.
✔ 
Гибкость настроек – регулировка тормозного момента под конкретные задачи.

👀 Как выбрать тормоз для электродвигателя?

При подборе учитывайте:

  • Тормозной момент (должен превышать инерционную нагрузку).
  • Напряжение питания (100V, 170V, 24V и др.).
  • Тип управления (постоянный или переменный ток).
  • Наличие ручного растормаживания (для аварийных ситуаций).

📝 Заключение

Встроенный тормоз электродвигателя – важный элемент промышленного оборудования, обеспечивающий безопасность и точность работы. Правильный выбор схемы подключения и типа тормоза позволяет оптимизировать производительность и продлить срок службы механизмов.

Если вам нужна помощь в подборе двигателя с тормозом – обратитесь к нашим специалистам , которые подберут оптимальное решение для ваших задач.

📧 Напишите на почту zakaz@uesk.org

🚀 Установка электромагнитного тормоза на электродвигатель

-2
-3