Добавить в корзинуПозвонить
Найти в Дзене
GamerRoom

Sony может запатентовать систему микротранзакций

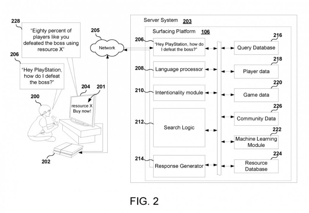
В сети появилась документация заявки Sony на новый патент. В нем описывается «внутриигровая платформа всплывающих ресурсов». Согласно описанию, искусственный интеллект сможет предлагать игру DLC, предметы и улучшения в контексте конкретной происходящей ситуации на экране. В одной из ситуаций, описанной в патенте, игрок голосом задает вопрос, как победить босса, а система отвечает, что 80% игроков победили его, используя такой-то ресурс. Также из патента стало понятно, как могут выглядеть уведомления с предложением использовать тот или иной ресурс. В качестве примера нам показали сцену встречи Кратоса и Атрея со змеем Йормунгандом. В правом нижнем углу можно увидеть сообщение, что при использовании предложенного предмета вероятность победить босса с первой попытки будет равна 90%. В любом случае, пока что это просто патентная заявка. Будет ли что-то из этого реализовано в продукции Sony — неизвестно. В компании пока не комментировали соответствующие документы.

В сети появилась документация заявки Sony на новый патент. В нем описывается «внутриигровая платформа всплывающих ресурсов».

Согласно описанию, искусственный интеллект сможет предлагать игру DLC, предметы и улучшения в контексте конкретной происходящей ситуации на экране. В одной из ситуаций, описанной в патенте, игрок голосом задает вопрос, как победить босса, а система отвечает, что 80% игроков победили его, используя такой-то ресурс.

Также из патента стало понятно, как могут выглядеть уведомления с предложением использовать тот или иной ресурс. В качестве примера нам показали сцену встречи Кратоса и Атрея со змеем Йормунгандом. В правом нижнем углу можно увидеть сообщение, что при использовании предложенного предмета вероятность победить босса с первой попытки будет равна 90%.

-2

В любом случае, пока что это просто патентная заявка. Будет ли что-то из этого реализовано в продукции Sony — неизвестно. В компании пока не комментировали соответствующие документы.

-3